P-210-003e.pdf - 第40页

0105-001 38 小リールホルダ RL-1210S SMALL REEL HOLDER RL-1210S Fig. GS-1 12mm 幅テープフィーダ用 FOR 12mm T APE FEEDER 1 8 7 6 2 3 4 8 5 9

100%1 / 114
1002-003
37
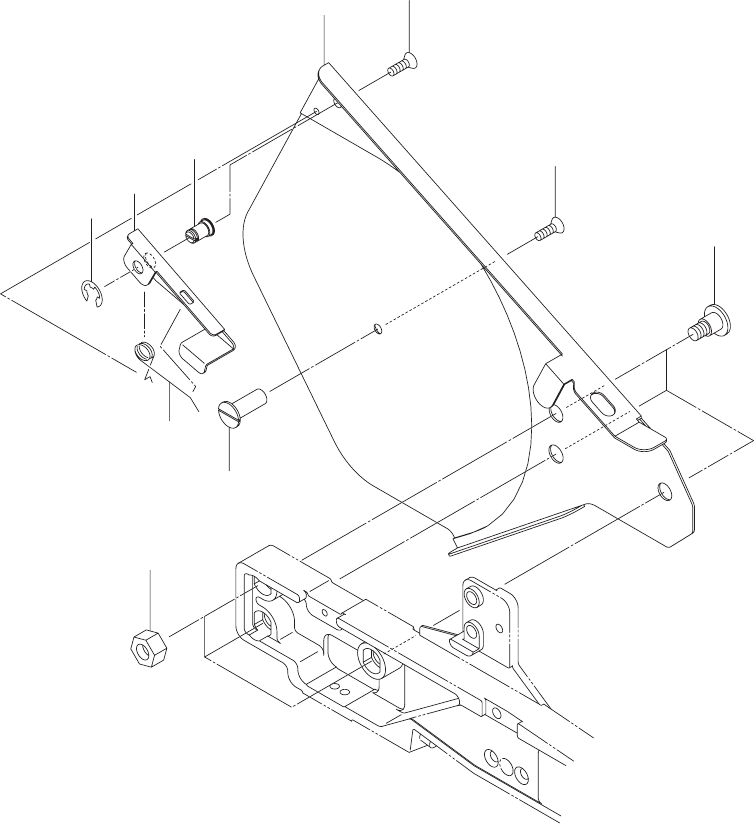
Key No. PART No. PART NAME Q’ty REMARKS OLD PARTS No.
NOTE
TF-1210
TF-1211
TF-1212
301 211D 6 274 PLATE 1 1 1 753G--020-301 630 092 7436
302 216E 1 123 PIN,LOCATE 1 1 1 753G--020-302 630 099 0423
303 214B 0 155 LINK 1 1 1 753G--020-303 630 099 0140
304 016S 0 422 ASSY,LEVER 1 753G--020-304 630 096 0105
304 016S 0 423 ASSY,LEVER 1 753H--020-304 630 096 0112
304 016S 0 424 ASSY,LEVER 1 753J--020-304 630 096 0129
305 216E 0 919 PIN,LOCATE 1 1 1 753G--020-305 630 091 9875
306 216A 0 834 COLLAR 1 1 1 753G--020-306 630 088 5095
307 213C 0 113 ROLLER 1 1 1 753G--020-307 630 097 2818
308 213C 0 232 ROLLER 1 1 1 753G--020-308 630 140 0518
309 216F 0 733 PIN,GUIDE 1 1 1 753G--020-309 630 092 7313
310 216E 0 918 PIN,LOCATE 1 1 1 753G--020-310 630 091 9868
311 213D 0 969 DISK(REEL_DRIVE 1 1 1 753G--020-311 630 108 7207
312 016S 0 373 ASSY,LEVER 1 1 1 753G--020-312 630 092 7450
313 216E 0 948 PIN,LOCATE 1 1 1 753G--020-313 630 092 7207
314 222N 0 989 SPRING,TENSION 1 753G--020-314 630 040 0526
314 222N 1 224 SPRING,TENSION 1 753H--020-314 630 094 1890
314 222N 1 266 SPRING,TENSION 1 753J--020-314 630 104 8000
315 216A 0 872 COLLAR 1 1 1 753G--020-315 630 094 0282
316 013D 0 036 ASSY,DISK 1 1 1 753G--020-316 630 093 0511
317 222Q 0 014 SPRING,FLAT 1 1 1 753G--020-317 630 039 3309
318 221D 0 134 MACHINE SCREW 1 1 1 753G--020-318 630 093 0856
319 221F 0 082 NUT HEX 4 2 2 2 753G--020-319 411 141 0307
320 221H 0 284 WASHER SPR 4 2 2 2 753G--020-320 411 141 2905
321 221H 0 315 WASHER V 4X9X0.8 2 2 2 753G--020-321 411 141 4008
322 221D 0 224 SCR FLT 4X6 6 6 6 753G--020-322 411 140 7208
324 221H 0 281 WASHER SPR 3 1 1 1 753G--020-324 411 141 2806
325 221H 0 312 WASHER V 3X7XO.5 1 1 1 753G--020-325 411 141 3902
326 221D 0 215 SCR FLT 3X4 1 1 1 753G--020-326 411 152 4202
327 221K 0 096 RING E 3 2 2 2 753G--020-327 411 000 9809
328 221D 0 065 MACHINE SCREW(TAP PAN2X5) 2 2 2 753G--020-328 630 037 3042
329 6P46 0 095 NAME PLATE,INDEX 1 1 1 753G--020-329 630 093 6452
330 216E 0 976 PIN,LOCATE 1 1 1 753G--020-330 630 094 0275
331 211E 0 686 SPACER 1 1 1 753G--020-331 630 092 7429
332 216F 0 734 PIN,GUIDE 1 1 1 753G--020-332 630 092 7337
333 0804 0 001 NAME PLATE,INDEX 1 1 1 753G--010-333
G-4
0105-001
38
小リールホルダ
RL-1210S SMALL REEL HOLDER RL-1210S
Fig. GS-1 12mm
幅テープフィーダ用
FOR 12mm
TAPE FEEDER
1
8
7
6
2
3
4
8
5
9
1002-002
39
Key No. PART No. PART NAME Q’ty REMARKS OLD PARTS No.
NOTE
1 210B 2 657 FRAME 1 753GS-010-001 630 094 3351
2 216E 0 213 PIN,LOCATE 1 753GS-010-002 630 039 3545
3 222P 0 066 SPRING,TORSION 1 753GS-010-003 630 062 5202
4 216E 1 001 PIN,LOCATE 1 753GS-010-004 630 094 3368
5 221E 0 186 BOLT 3 753GS-010-005 630 095 6825
6 216S 2 111 LEVER 1 753GS-010-006 630 094 3375
7 221K 0 098 RING E 5 1 753GS-010-007 411 001 0201
8 221E 0 045 BOLT(FLT HEX-SCT) 2 753GS-010-008 630 036 0974
9 221F 0 108 NUT HEX 6 3 753GS-010-009 411 004 6903
RL-1210S
GS-1