KE-2070_KE-2080_KE-2080R-Rev16 - 第143页
- 136 - NOTE( 注記 ) #01....FOR FRONT ・ LEFT-RIGHT 手前・左右 用 #02....FOR FRONT ・ RIGHT-LEFT 手前・右左用 #03....FOR REAR ・ LEFT-RIGHT 奥・ 左右用 #04....FOR REAR ・ RIGHT-LEFT 奥・右左用 #05....FOR FRONT ・ RIGHT-LEFT 手前・右左用 FOR REAR ・ RIGHT-L…

- 135 -
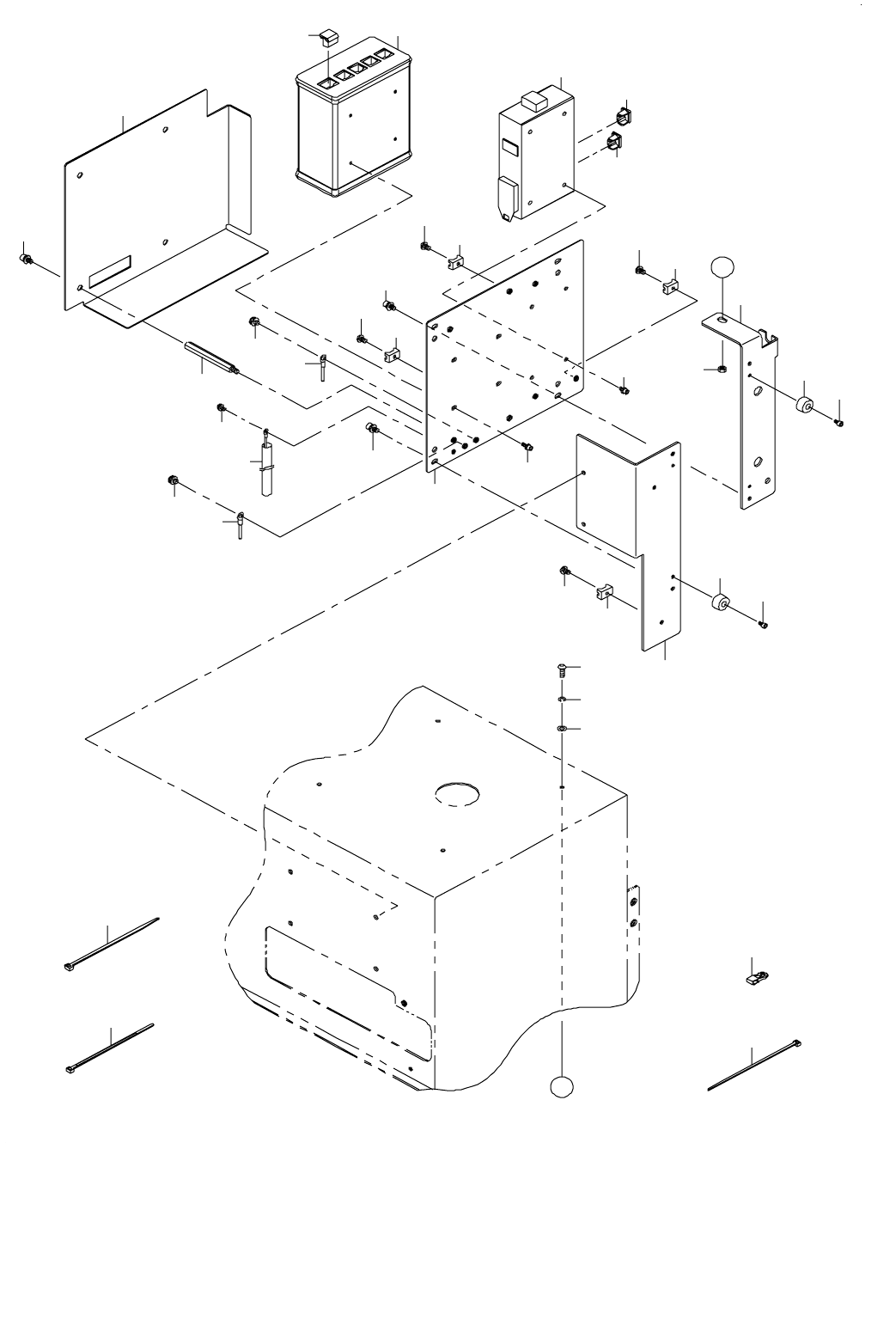
68. CONVEYOR (W) COMPONENTS
コンベア(W)関係
11
11
11
11
11
11
11
11
11
12
12
1
14
2
5
3
4
6
7
8
9
10
10
13
22
16
18
20
19
21
23
91
92
94
93
95
8
9
11
11
11
17
17
25
96
22
24
60
58
57
56
59
64
67
A
54
55
66
66
A
65
63
45
47
48
52
28
29
31
33
35
B
B
41
43
50
30
49
40
42
70
73
75
78
77
76
79
87
86
83
82
84
80
89
88
89
90
71
69
72
81
74
85
44
46
62
51
61
53
32
34
27
30
36
39
68
26
15

- 136 -
NOTE( 注記 ) #01....FOR FRONT ・ LEFT-RIGHT 手前・左右用
#02....FOR FRONT ・ RIGHT-LEFT 手前・右左用
#03....FOR REAR ・ LEFT-RIGHT 奥・左右用
#04....FOR REAR ・ RIGHT-LEFT 奥・右左用
#05....FOR FRONT ・ RIGHT-LEFT 手前・右左用
FOR REAR ・ RIGHT-LEFT 奥・右左用
#06....FOR FRONT ・ LEFT-RIGHT 手前・左右用
FOR REAR ・ LEFT-RIGHT 奥・左右用
REF.NO NOTE PART NO D E S C R I P T I O N
品 名
Qty
1
#01
400-01392 CONVEYOR COVER(W,EN)ASSY
搬送カバー(W,EN)組
1
2 400-81646 CONVEYOR COVER L(WEN)
搬送カバー L(W,EN)
(1)
3 400-01486 CONVEYOR SIDE COVER L(W,EN)
搬送サイドカバー L(W,EN)
(1)
4 400-01489 CONVEYOR UPPER COVER L(W,EN)
搬送上カバー L(W,EN)
(1)
5 400-81647 CONVEYOR COVER R(WEN)
搬送カバー R(W,EN)
(1)
6 400-01492 CONVEYOR SIDE COVER R(W,EN)
搬送サイドカバー R(W,EN)
(1)
7 400-01495 CONVEYOR UPPER COVER R(W,EN)
搬送上カバー R(W,EN)
(1)
8 400-01484 CONVEYOR SHUTTER U(L,EN
搬送シャッター U(L,EN)
(2)
9 400-01485 CONVEYOR SHUTTER B(L,EN
搬送シャッター B(L,EN)
(2)
10 400-01494 CONVEYOR COVER STOPPER(W,EN)
搬送カバーストッパ(W,EN)
(2)
11 SM-0040801-SC SCREW
トラスねじ M 4 L =8
(24)
12 E1143-721-000 WOOLEN CLOTH PAPER
搬送カバーラシャペーパ(CE)
(8)
13 E5721-729-000 LABEL
荷重禁止シール
(2)
14 400-01490 TAPE
テープ
(2)
15 401-05884 LOAD PROHIBITION LABEL
荷重禁止シール
(2)
16 400-00786 RAIL R(W)
レール R(W)
2
17 SL-6031092-TN SCREW
座金付き六角穴ボルト
16
18 400-00787 RAIL PLATE F(W)
レールプレート F(W)
2
19 400-00788 RAIL PLATE R(W)
レールプレート R(W)
2
20 400-00791 JOINT PLATE F(W)
ジョイントプレート F(W)
4
21 E2176-725-000 JOINT PLATE R(100)
ジョイントプレート R(100)
4
22 SL-6041292-TN SCREW
座金付き六角穴ボルト
16
23 400-00789 PWB GUID EX(W)
PWB ガイド EX(W)
4
24 SL-6030892-TN SCREW M3 L=8
座金付き六角穴ボルト M 3 L =8
8
25 400-00790 CONVEYOR BELT EX(W)
コンベアベルト EX(W)
4
26 400-80768 RAIL SUPPORT(LW)
レールサポート(LW)
1
27 400-00964 STOPER SENSOR ASM
ストッパセンサ組
1
28 400-02214 STOP SENS ASM
ストップセンサ組
(1)
29 400-02235 C.OUT SENS ASM
シーアウトセンサ組
(1)
30 SL-4031291-SC SCREW M3X12
なべ小ねじセムス M3X0.5 L=12
2
31 PC-0124010-00 SPEED CONTROLLER
スピード コントローラ
1
32 HX-0036700-0A BUSH
ブッシュ
0.1
33 EA-9500B00-00 CLIP CV-70S
結束バンド 60
4
34 BT-0400251-EA URETHANE TUBE BLUE 4X2.5
ポリ
ウレタン チューブ 青 4 X 2.5
3
35 HX-0031400-00 SPIRAL TABE
スパイラル チューブ
0.4
36
#04
400-81183 STOPPER RL ASM(LW)
ストッパ FL 組(LW)
1
37
#03
400-81182 STOPPER RR ASM(LW)
ストッパ RR 組(LW)
1
38
#01
400-81156 STOPPER FR ASM(E_80R)
ストッパFR組(E_80R)
1
39
#02
400-81157 STOPPER FL ASM(E_80R)
ストッパFL組(E_80R)
1
40
#01
400-64058 STOPPER FRAME FR(E)
ストッパフレーム FR(E)
(1)
41
#02
400-64059 STOPPER FRAME FL(E)
ストッパフレーム FL(E)
(1)
42
#03
400-80770 STOPPER FRAME RR(LW)
ストッパフレーム RR(LW)
(1)
43
#04
400-80769 STOPPER FRAME RL(LW)
ストッパフレーム RL(LW)
(1)
44 400-00911 STOPER CONNECT
ストッパコネクト
(1)
45 PA-1002008-A0 AIR CYLINDER
エアシリンダ
(1)
46 SM-6031402-TN SCREW M3X0.5 L=8
六角穴ボルト
(2)
47 PC-0105080-00 SPEED CONTROLLER
スピードコントローラ
(1)
48 PJ-3040405-11 ELBOW UNION
エルボユニオン
(1)
49 SL-6041292-TN SCREW
座金付き六角穴ボルト
(2)
50 E2169-721-000 HOLD PLATE
ホールドプレート
(1)
51 SM-6031502-UZ SCREW M3 L=15
六角穴付きボルト M 3 L =15
(1)
52 NM-6030002-SC NUT M3
六角ナット M3X0.5 2種
(1)
53 400-00909 STOPER
ストッパ
(1)
54
#05
400-80767 STOPPER CHIP L
ストッパチップ L
(1)
55
#06
400-80766 STOPPER CHIP R
ストッパチップ R
(1)
56 WP-0330516-SC WASHER 3.3X8X0.5
平座金 3.3X8X0.5
(1)
57 WS-0310002-KN SPRING WASHER M3
ばね座金 3.1 X 5.9 X 0.7
(1)
58 NM-6030001-SC NUT M3X0.5 TYPE1
六角ナット M3X0.5 1種
(1)
59 400-23788 STOPER SPACER
ストッパスペーサ
(1)
60 SL-6030842-TN SCREW M3 L=8
座金付き六角穴ボルト
(1)
61 400-00910 STOPPER PIN
ストッ
パピン
(1)
62 RE-0200000-K0 E-RING
E 形止め輪 2
(1)
63 WP-0320501-SC WASHER M3
平座金 3.2X7X0.5
(1)
64 SM-1030401-SE SCREW M3 L=4
皿ねじ M3X0.5 L=4
(1)
65 SM-1031201-SC SCREW M3X0.5 L=12
皿小ねじ M 3 X 0.5 L =12
(1)
66 E2039-721-000 WASHER A
スラストワッシャ A
(2)
67 E2038-721-000 STOPPER COLLAR
ストッパカラー
(1)
68
#05
400-64232 PUSHER XR(E) SET ASM
プッシャ XR(E)セット組
1
69 BT-0400251-EA URETHANE TUBE BLUE 4X2.5
ポリウレタン チューブ 青 4 X 2.5
(1.8)
70 EA-9500B01-00 CABLE BAND
束線バンド
(1)
71 HX-0031400-00 SPIRAL TABE
スパイラル チューブ
(0.6)
72 400-64233 PUSHER XR(E) ASM
プッシャ XR(E)組
(1)
73 E2280-725-000 PUSHER X
プッシャ X
(1)
74 E2173-715-000 THRUST WASHER
スラストワッシャ
(1)
75 E2172-715-000 PUSHER SHAFT
プッシャ シャフト
(1)
76 WP-0430801-SC WASHER 4.3X9X0.8
平座金 4.3X9X0.8
(1)
77 WS-0410002-KN SPRING WASHER
ばね座金 M 4
(1)
78 SM-6041802-TN SCREW M4X0.7 L=18
六角穴ボルト M 4 X 0.7 L =18
(1)
79 400-80766 STOPPER CHIP R
ストッパチップ R
(1)
80 SM-1030401-SE SCREW M3 L=4
皿ねじ M3X0.5 L=4
(1)
81 400-64060 X PUSHER BR(E)
X プッシャ BR(E)
(1)
82 E2284-725-000 HOLD PLATE B
ホールドプレート B
(1)
83 E2283-725-000 PUSHER CYLINDER SUPPER
プッシャシリンダサポート
(1)
84 SL-6041042-TN BOLT
座金付き六角穴ボルト
(2)
85 PA-1002101-A0 AIR CYLINDER
エアシリンダ
(1)
86 PJ-3040405-11 ELBOW UNION
エルボユニオン
(1)
87 E2177-715-000 CYLINDER ARM X
シリンダアーム X
(1)
88 E4843-760-000 CYLINDER PIN
シリンダ−ピン
(1)
89 RE-0250000-K0 E-RING 2.5
E 形止め輪 2.5
(2)
90 E2116-725-000 PUSHER STOPPER PLATE
プッシャストッパプレート
(1)
91 E2125-721-000 PWB GUIDE PLATE RB
PWB ガイドプレート RB
1
92 SL-6030892-TN SCREW M3 L=8
座金付き六角穴ボルト M 3 L =8
1
93 400-00885 Y PUSHER ASM
Y プッシャ組
1
94 PJ-0460590-05 CONNECTOR
バーブ
継手
1
95 BT-0400251-EA URETHANE TUBE BLUE 4X2.5
ポリウレタン チューブ 青 4 X 2.5
0.2
96 400-00785 RAIL F(W)
レール F(W)
2

- 137 -
69. RFID COMPONENTS (MPC)
RFID 関係(MPC)
2
6
7
8
9
3
2
2
5
4
11
16
10
12
13
14
15
14
13
17
18
18
17
18
17
18
17
11
20
21
19
22
27
25
28
23
26
24
1
A
A
30
29