KE-2070_KE-2080_KE-2080R-Rev16 - 第88页
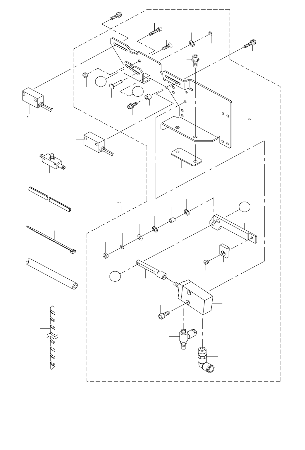
- 81 - 4 1 . P WB CO NV E YO R CO MP ON E NT S ( 8 ) 基板搬送関係(8) 29 50 49 48 51 44 47 A 43 46 46 A 39 45 9 18 19 28 42 30 31 32 33 34 35 36 37 40 41 1 52 2 3 4 5 6 8 7 B B 38 3

- 80 -
NOTE( 注記 ) #01....OPTINOAL PARTS オプション部品
(FOR FRONT ・ LEFT-RIGHT) (手前・左右用)
(FOR REAR ・ RIGHT-LEFT) (奥・右左用)
#02....OPTINOAL PARTS オプション部品
(FOR FRONT ・ RIGHT-LEFT) (手前・右左用)
(FOR REAR ・ LEFT-RIGHT) (奥・左右用)
#03....OPTIONAL PARTS オプション部品
*INSTALLATION POSITION AND DIRECTION VARY IF THE PWB TRANSFER
REFERENCE IS DIFFERENT.
基板搬送基準が異なると取付位置、方向が変わります。
REF.NO NOTE PART NO D E S C R I P T I O N
品 名
Qty
1 400-62328 GUIDE BLOCK ST ASM
ガイドブロック ST 組
1
2 400-00887 GUIDE_BLOCK_A_ASM.
ガイドブロック A 組
(1)
3 400-00889 GUIDE BLOCK B ASM.
ガイドブロック B 組
(1)
4 400-00877 GUIDE BLOCK CLAMP
ガイドブロッククランプ
(1)
5 SM-6041602-TN SCREW M4 X 16
六角穴ボルト M 4 X 0.7 L =16
(1)
6 #03 400-15793 LOCK SPRING ロックスプリング 2
7
#03
400-00895 DAMPER BLOCK R
ダンパブロック R
1
8
#03
SL-6030892-TN SCREW M3 L=8
座金付き六角穴ボルト M 3 L =8
4
9
#03
400-00891 STOPER SLIDE LEVER L
ストッパスライドレバー L
1
10
#03
400-00897 STOPER SLIDE LEVER R
ストッパスライドレバー R
1
11
#03
400-00892 DAMPER BLOCK L
ダンパブロック L
1
12
#03
400-00978 DAMPER LOCK LINK
ダンパロックリンク
2
13
#03
400-00950 DAMPER SPRING
ダンパスプリング
2
14
#03
RE-0300000-K0 E-RING 3
E 形止め輪 3
6
15
#03
EA-9500B00-00 CLIP CV-70S
結束バンド 60
5
16
#03
HX-0031400-00 SPIRAL TABE
スパイラル チューブ
0.3
17
#03
400-01081 CENTERING PIN 4.0
センタリングピン4.0
2
18
#03
400-15791 DAMPER PLATE L
ダンパープレート L
1
19
#03
400-15792 DAMPER PLATE R
ダンパープレート R
1
20
#03
400-02122 T.PIN SENS ASM
ティーピンセンサ組
1
21
#03
SL-6030692-TN SCREW M3 L=6
座金付き六角穴ボルト M 3 L =6
1
22
#03
SL-4031091-SC SCREW M3 X 10
なべ小ねじセムス
2
23
#03
RE-0300000-K0 E-RING 3
E 形止め輪 3
2
24
#03
400-00896 DAMPER LOCK PIN
ダンパロックピン
2
25
#01
E2148-721-000 SENSOR BRACKET R
センサブラケット R
1
26
#02
E2147-721-000 SENSOR BRACKET L
センサブラケット L
1
27
#03
400-01087 CENTERING PIN 3.4
センタリングピン3.4
1
28
#03
400-01088 CENTERING PIN 3.3
センタリングピン3.3
1
29
#03
400-01089 CENTERING PIN 3.2
センタリングピン3.2
1
30 #03 400-01090 CENTERING PIN 3.1 センタリングピン3.1 1
31
#03
400-01091 CENTERING PIN 3.0
センタリングピン3.0
1
32
#03
400-01092 CENTERING PIN 2.9
センタリングピン2.9
1
33
#03
400-01093 CENTERING PIN 2.8
センタリングピン2.8
1
34
#03
400-01094 CENTERING PIN 2.7
センタリングピン2.7
1
35
#03
400-01095 CENTERING PIN 2.6
センタリングピン2.6
1
36
#03
400-01096 CENTERING PIN 2.5
センタリングピン2.5
1
37
#03
400-01097 CENTERING PIN 2.0
センタリングピン2.0
1
38
#03
400-01098 CENTERING PIN 1.9
センタリングピン1.9
1
39
#03
400-01099 CENTERING PIN 1.8
センタリングピン1.8
1
40
#03
400-01082 CENTERING PIN 3.9
センタリングピン3.9
1
41
#03
400-01083 CENTERING PIN 3.8
センタリングピン3.8
1
42
#03
400-01084 CENTERING PIN 3.7
センタリングピン3.7
1
43 #03
400-01085 CENTERING PIN 3.6 センタリングピン3.6 1
44
#03
400-01086 CENTERING PIN 3.5
センタリングピン3.5
1
45
#03
E2141-725-000 BU HAND KNOB S
BU ハンドノブ S
1
46
#03
E2076-721-000 BU HAND KNOB
BU ハンドノブ
1

- 81 -
41. PWB CONVEYOR COMPONENTS (8)
基板搬送関係(8)
29
50
49
48
51
44
47
A
43
46
46
A
39
45
9
18
19
28
42
30
31
32
33
34
35
36
37
40
41
1
52
2
3
4
5
6
8
7
B
B
38
3

- 82 -
NOTE( 注記 ) #01....FOR FRONT ・ LEFT-RIGHT 手前・左右用
#02....FOR FRONT ・ RIGHT-LEFT 手前・右左用
FOR FRONT ・ RIGHT-LEFT(L) 手前・右左(L)用
FOR FRONT ・ RIGHT-LEFT(2080L) 手前・右左(2080 L)用
#03....FOR REAR ・ LEFT-RIGHT 奥・左右用
FOR REAR ・ RIGHT-LEFT 奥・右左用
#04....FOR FRONT ・ LEFT-RIGHT(L) 手前・左右(L)用
#05....FOR REAR ・ RIGHT-LEFT(L) 奥・右左(L)用
FOR REAR ・ RIGHT-LEFT(2080L) 奥・右左(2080 L)用
#06....FOR FRONT ・ LEFT-RIGHT(2080L) 手前・左右(2080 L)用
#07....FOR FRONT ・ LEFT-RIGHT(E) 手前・左右(E)用
#08....FOR FRONT ・ RIGHT-LEFT(E) 手前・右左(E)用
#09....FOR REAR ・ LEFT-RIGHT(L) 奥・左右(L)用
FOR REAR ・ LEFT-RIGHT(2080L) 奥・左右(2080 L)用
#10....FOR REAR ・ LEFT-RIGHT(2080M) 奥・左右(2080 M)用
#11....FOR FRONT ・ LEFT-RIGHT 手前・左右用
FOR REAR ・ LEFT-RIGHT 奥・左右用
FOR FRONT ・ RIGHT-LEFT 手前・右左用
FOR REAR ・ RIGHT-LEFT 奥・右左
FOR FRONT ・ RIGHT-LEFT(L) 手前・右左(L)用
FOR REAR ・ RIGHT-LEFT(L) 奥・右左(L)用
FOR FRONT ・ RIGHT-LEFT(2080L) 手前・右左(2080 L)用
FOR REAR ・ RIGHT-LEFT(2080L) 奥・右左(2008 L)用
*INSTALLATION POSITION AND DIRECTION VARY IF THE PWB TRANSFER
REFERENCE IS DIFFERENT.
基板搬送基準が異なると取付位置、方向が変わります。
REF.NO NOTE PART NO D E S C R I P T I O N
品 名
Qty
1 400-02214 STOP SENS ASM
ストップセンサ組
1
2 400-02235 C.OUT SENS ASM.
シーアウトセンサ組
1
3 SL-4031291-SC SCREW M3X12
なべ小ねじセムス M 3 X 0.5 L =12
2
4 PC-0124010-00 SPEED CONTROLLER
スピード コントローラ
1
5 HX-0036700-0A BUSH
ブッシュ
0.1
6 EA-9500B00-00 CLIP CV-70S
結束バンド 60
4
7 BT-0400251-EA URETHANE TUBE BLUE 4X2.5
ポリウレタン チューブ 青 4 X 2.5
4
8 HX-0031400-00 SPIRAL TABE
スパイラル チューブ
0.4
9
#01
400-20551 STOPER FR ASM
ストッパ FR 組
1
10
#02
400-20554 STOPER FL ASM.
ストッパ FL 組
1
11
#03
400-20557 STOPER RR ASM.
ストッパ RR 組
1
12
#04
400-20564 STOPER FR ASM.(L)
ストッパ FR 組(L)
1
13
#05
400-20560 STOPER RL ASM
ストッパ RL 組
1
14
#06
400-58537 STOPPER FR(L)ASM
ストッパ FR(L)組
1
15
#09
400-58538 STOPPER RR(L)ASM
ストッパ RR(L)組
1
16
#07
400-64234 STOPPER FR ASM(E)
ストッパ FR 組(E)
1
17
#08
400-64236 STOPPER FL ASM(E)
ストッパ FL 組(E)
1
18
#10
400-78989 STOPER RR ASM
ストッパ RR 組
1
19
#01
400-20552 STOPER FRAME FR
ストッパフレーム FR
(1)
20
#02
400-20555 STOPER FRAME FL
ストッパフレーム FL
(1)
21
#03
400-20558 STOPER FRAME RR
ストッパフレーム RR
(1)
22
#04
400-20565 STOPER FRAME FR(L)
ストッパフレーム FR(L)
(1)
23
#05
400-20561 STOPER FRAME RL
ストッパフレーム RL
(1)
24
#06
400-46030 STOPPER FRAME FR(L)
ス
トッパフレーム FR(L)
(1)
25
#09
400-46031 STOPPER FRAME RR(L)
ストッパフレーム RR(L)
(1)
26
#07
400-64058 STOPPER FRAME FR(E)
ストッパフレーム FR(E)
(1)
27
#08
400-64059 STOPPER FRAME FL(E)
ストッパフレーム FL(E)
(1)
28
#10
400-78990 STOPER FRAME RR
ストッパフレーム RR
(1)
29 SL-6030842-TN SCREW M3 L=8
座金付き六角穴ボルト
(1)
30 400-00910 STOPPER PIN
ストッパピン
(1)
31 RE-0200000-K0 E-RING
E 形止め輪 3
(1)
32 WP-0320501-SC WASHER M3
平座金 3.2 X 7 X 0.5
(1)
33 400-00911 STOPER CONNECT
ストッパコネクト
(1)
34 PA-1002008-A0 AIR CYLINDER
エアシリンダ
(1)
35 SM-6031402-TN SCREW M3X0.5 L=8
六角穴ボルト
(2)
36 PC-0105080-00 SPEED CONTROLLER
スピードコントローラ
(1)
37 PJ-3040405-11 ELBOW UNION
エルボユニオン
(1)
38 SL-6041292-TN SCREW
座金付き六角穴ボルト
(2)
39 E2169-721-000 HOLD PLATE
ホールドプレート
(1)
40
#11
SM-6031402-TN SCREW M3X0.5 L=8
六角穴ボルト
(1)
41
#11
NM-6030001-SC NUT M3X0.5 TYPE1
六角ナット M 3 X 0.5 1種
(1)
42 400-00909 STOPPER
ストッパ
(1)
43 E2233-725-000 STOPPER CHIP
ストッパチップ
(1)
44 SM-1030401-SE SCREW M3 L=4
皿ねじ M3X0.5 L =4
(1)
45 SM-1031201-SC SCREW M3X0.5 L=12
皿小ねじ M3X0.5 L=12
(1)
46 E2039-721-000 WASHER A
スラストワッシャ A
(2)
47 E2038-721-000 STOPPER COLLAR
ストッパカラー
(1)
48 WP-0330516-SC WASHER 3.3X8X0.5
平座金 3.3 X 8 X 0.5
(1)
49 WS-0310002-KN SPRING WASHER M3
ばね座金 3.1 X 5.9 X 0.7
(1)
50 NM-6030001-SC NUT M3X0.5 TYPE1
六角ナット M 3 X 0.5 1種
(1)
51 400-23788 STOPER SPACER
ストッパスペーサ
(1)
52
#10
400-78970 STOP SENSOR ASM
ストップセンサ組
1