KE-2070_KE-2080_KE-2080R-Rev16 - 第91页
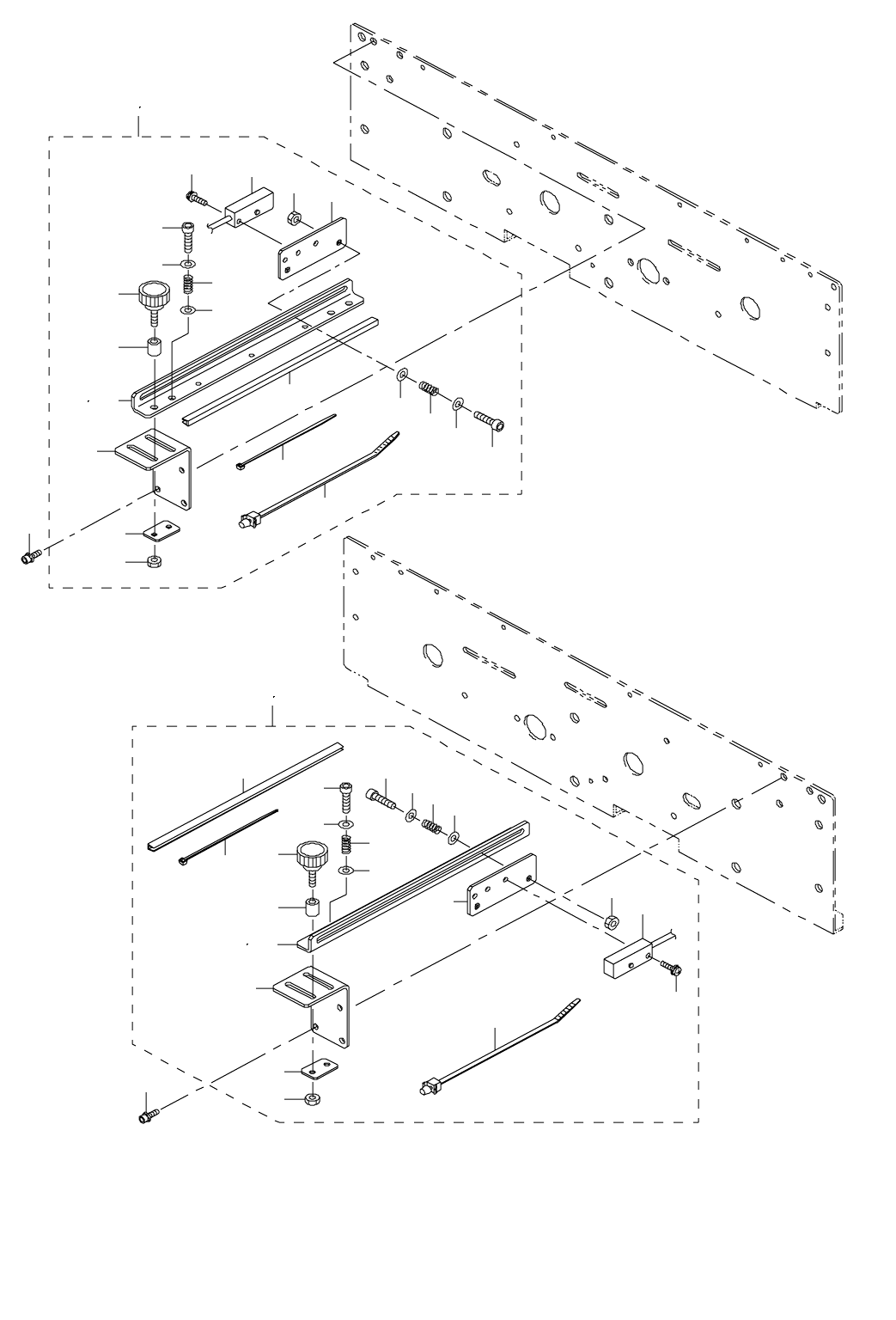
- 84 - N OT E( 注記 ) # 01....F O R R E AR REFEREN C E リヤ基準用 * INS TAL LAT ION PO SITI ON A ND DI R ECT IO N VA RY IF THE P W B TR ANS FER R EF ER EN CE IS D IFFE REN T. 基板搬送基準が異なると取付位置、方向が変わります。 REF .NO N OTE PART NO D E …

- 83 -
42. PWB CONVEYOR COMPONENTS (9)
基板搬送関係(9)
17
4
18
6
8
7
9
22
10
10
11
11
26
12
21
32
22
23
24
25
26
26
12
33
35
34
27
7
11
11
26
25
12
13
28
29
14
30
15
16
31
37
37
1
2
5
19
20
3
36

- 84 -
NOTE( 注記 ) #01....FOR REAR REFERENCE リヤ基準用
*INSTALLATION POSITION AND DIRECTION VARY IF THE PWB TRANSFER
REFERENCE IS DIFFERENT.
基板搬送基準が異なると取付位置、方向が変わります。
REF.NO NOTE PART NO D E S C R I P T I O N
品 名
Qty
1 400-00908 IN SENSOR ASM.
インセンサ組
1
2
#01
400-17260 IN SENSOR ASM.
インセンサ組
1
3 HX-0044000-00 CABLE BAND
束線バンド
(1)
4 400-01078 SENSOR BRAKET B
センサブラケット B
(1)
5 400-01079 SENSOR BRAKET C
センサブラケット C
(1)
6 400-01076 SENSOR SLIDE PLATE
センサスライドプレート
(1)
7 400-00912 SENSOR ADJUST SPRING
センサアジャストスプリング
(3)
8 G6518-880-000 SET PICK-UP
セットつまみ
(1)
9 GBR-11115000 MOTOR SPACER
モータスペーサ
(1)
10 SM-6041602-TN SCREW M4 X 16
六角穴ボルト M 4 X 0.7 L =16
(3)
11 WP-0430801-SC WASHER 4.3X9X0.8
平座金 4.3 X 9 X 0.8
(6)
12 NM-6040002-SE NUT M4X0.7
六角ナット M 4 X 0.7 2種
(3)
13 400-02208 IN SENS ASM
インセンサ組
(1)
14 SL-4031291-SC SCREW M3X12
なべ小ねじセムス M 3 X 0.5 L =12
(1)
15 HX-0036700-0A BUSH
ブッシュ
(0.16)
16 EA-9500B00-00 CLIP CV-70S
結束バンド 60
(5)
17 400-01077 SENSOR BRAKET A
センサブラケット A
(1)
18
#01
400-17255 SENSOR BRAKET BR
センサブラケット BR
(1)
19 400-00914 OUT SENSOR ASM.
アウトセンサ組
1
20
#01
400-17261 OUT SENSOR ASM.
アウトセンサ組
1
21 400-01076 SENSOR SLIDE PLATE
センサスライドプレート
(1)
22 400-00912 SENSOR ADJUST SPRING
センサアジャストスプリング
(3)
23 G6518-880-000 SET PICK-UP
セットつまみ
(1)
24 GBR-11115000 MOTOR SPACER.
モータスペーサ
(1)
25 SM-6041602-TN SCREW M4 X 16
六角穴ボルト M 4 X 0.7 L =16
(3)
26 WP-0430801-SC WASHER 4.3X9X0.8
平座金 4.3 X 9 X 0.8
(6)
27 NM-6040002-SE NUT M4X0.7
六角ナット M 4 X 0.7 2種
(3)
28 400-02210 OUT SENS ASM
アウトセンサ組
(1)
29 SL-4031291-SC SCREW M3X12
なべ小ねじセムス M 3 X 0.5 L =12
(1)
30 HX-0036700-0A BUSH
ブッシュ
(0.16)
31 EA-9500B00-00 CLIP CV-70S
結束バンド 60
(5)
32 400-01077 SENSOR BRAKET A
センサブラケット A
(1)
33 400-01078 SENSOR BRAKET B
センサブラケット B
(1)
34 400-01079 SENSOR BRAKET C
センサブラケット C
(1)
35
#01
400-17255 SENSOR BRAKET BR
センサブラケット BR
(1)
36 HX-0044000-00 CABLE BAND
束線バンド
(1)
37 SL-6031092-TN SCREW
座金付き六角穴ボルト
4

- 85 -
43. PWB CONVEYOR COMPONENTS (10)
基板搬送関係(10)
3
7
4
6
5
11
9
10
12
25
18
28
29
24
13
14
26
23
1
2
20
19
15
22
21
21
22
16
17
27
8
30
30