P-0119-001 - 第10页
MODEL TCM-3500Z 9810-001 本体部 MAIN BODY SECTION Fig. 1-1 ベース Base 1 2 3 4 4 11 11 12 12 13 16 16 15 15 14 14 1 1 1-1 1-1 1-2 1-2 1-2 1-2 3-1 3-2 3-1 3-2 3 3-1 3-1 3-2 3-2 3 3 3-1 3-1 3-2 3-2 3 3 3-1 3-1 3-2 3-2 3 3 3-1 3-…

MODEL TCM-3500Z
9810-001
本体部 MAIN BODY SECTION
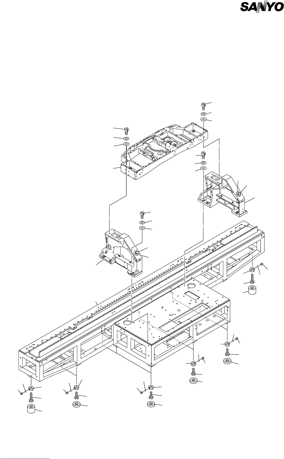
Fig. 1-1 ベース Base
1
2
3
44
1111
1212
13
1616
1515
1414
11
1-1
1-1
1-21-2
1-21-2
3-1
3-2
3-1
3-2
3
3-13-1
3-23-2
33
3-13-1
3-23-2
33
3-13-1
3-23-2
33
3-1
3-2
3
44
44
4
4-1
4-1
16
15
14
14
TCM-3500E
21
22
21
22
16
15
14
1616
1515

MODEL TCM-3500Z
9810-001
1- 1
Key No. PART No. PART NAME Q'ty REMARKS
1 630 048 9910 BLOCK,LOCATE 6 678L--02B-005
1 -1 630 048 9637 BLOCK,LOCATE 2 678L--02B-007
1 -2 630 048 9927 BLOCK,LOCATE 6 678L--02B-006
2 630 064 2599 FRAME 1 678L--02B-001
3 630 042 5697 NUT 14 678L--02H-018
3 -1 630 041 6770 COLLAR 14 678L--02B-008
3 -2 630 000 8975 SET SCREW 14 M6X6 SET
4 630 042 5673 BOLT,HEX 12 678L--02H-017
4 -1 630 042 5680 BOLT,HEX 2 678L--02H-030
11 630 066 3181 FRAME(L) 1 678L--02B-003
12 630 066 3174 FRAME(R) 1 678L--02B-002
13 630 057 9055 FRAME(HEAD) 1 678L--02B-004
14 411 141 5401 WASHER V 20X37X3 18 FW20
15 411 141 6804 WASHER SPR 20 18 SW20
16 630 009 5814 BOLT,HEX-SCT 18 M20X70
21 630 064 6320 NAME PLATE,NOTICE 2 678FB-02D-078
22 630 064 6528 SWITCH,BUTTON 2 678FB-02D-001
NOTE
