文档中心
/
Axis unit_20211124_083118
Axis unit_20211124_083118
Axis unit Page 1 / 8 24.11.2021
目录
100%
显示:宽度
宽度
1 / 8
回到旧版
旧版
?
Axis unit
Page 1 / 8
24.11.2021
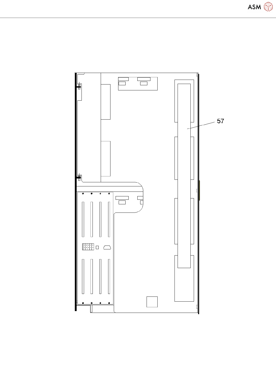
Axis unit
Page 2 / 8
24.11.2021
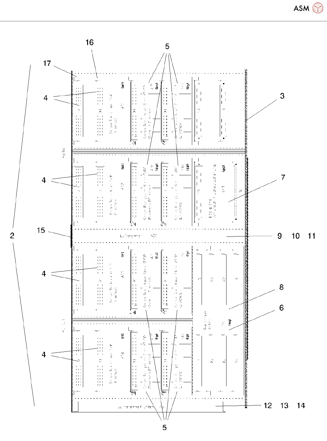
Axis unit
Page 3 / 8
24.11.2021
该页面需要启用 JavaScript 才能进行交互式预览。