444CEMM1 - 第40页
Page 28 SAFETY PRECAUTIONS Be sure to observe CM202-D/DU (Danger labels) The following danger labels are pasted on this machine. Follow the instructions on each label. If a label has come off, put a new one on a proper p…

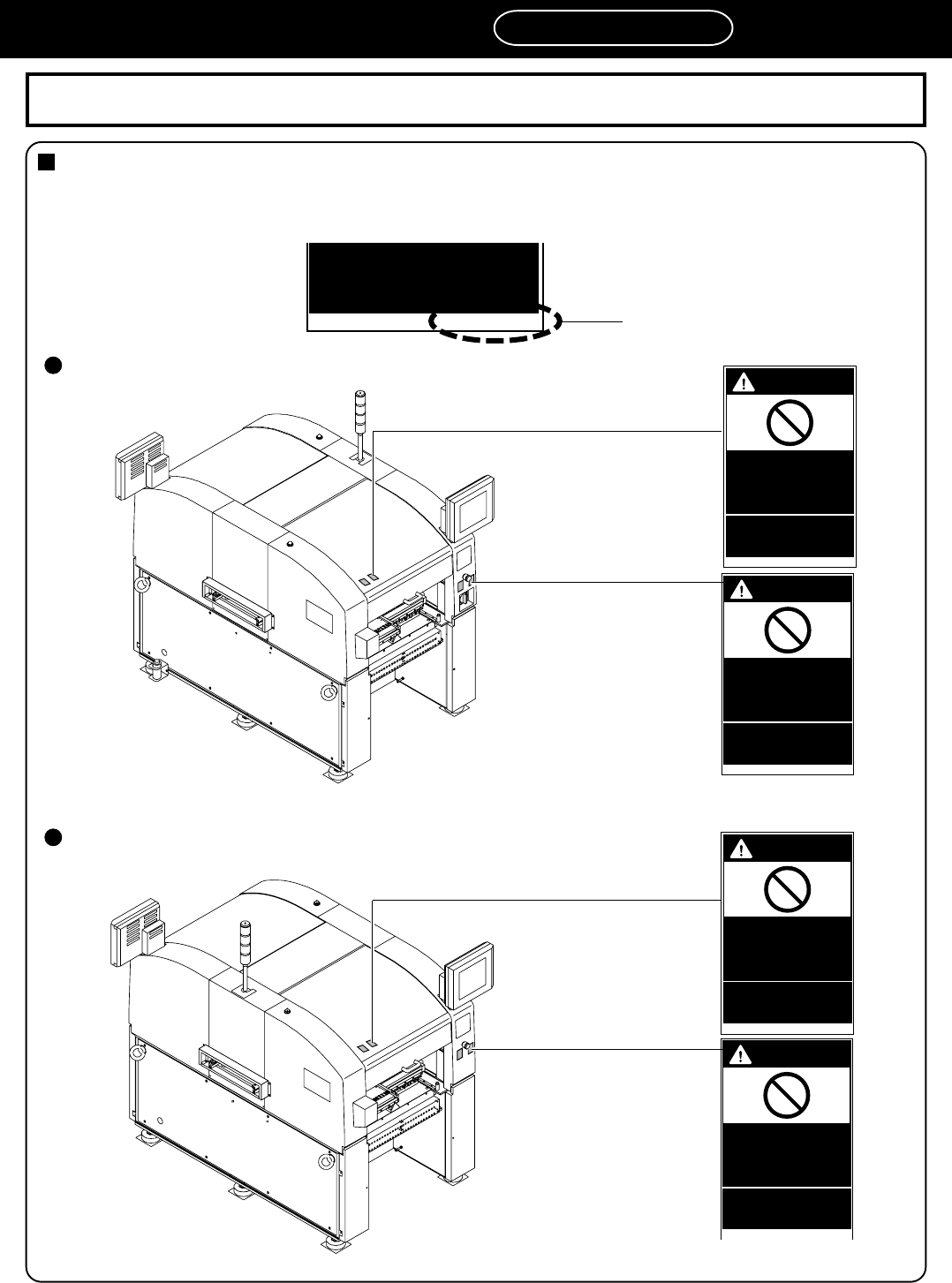
Page 27
SAFETY PRECAUTIONS
Be sure to observe
CM201-D/DU (Danger labels)
The following danger labels are pasted on this machine. Follow the instructions on each label. If a label has
come off, put a new one on a proper position. To order a label from the manufacturer, refer to PARTS LIST.
Label part No.
The positions of danger labels on the front side
M32E
0 1 J Q B
feeder tables will have
serious injury.
CM201-901E
The labels for safety pasted on the product
The positions of danger labels on the rear side
CM201-902E
0 1 K 1 B
DANGER
DO NOT OPEN
THE COVER
WHEN
OPERATING
You will have serious
injury if you touch the
active part inside.
0 1 J X A
DANGER
DO NOT TOUCH
ACTIVE PART
WHEN
OPERATING
You will have serious
injury if you touch the
active part.
0 1 K 1 B
DANGER
DO NOT OPEN
THE COVER
WHEN
OPERATING
You will have serious
injury if you touch the
active part inside.
0 1 J X A
DANGER
DO NOT TOUCH
ACTIVE PART
WHEN
OPERATING
You will have serious
injury if you touch the
active part.
444C-E-XXA00-A04-01
(As for the explanation, the illustration of CM201-DU is used.)

Page 28
SAFETY PRECAUTIONS
Be sure to observe
CM202-D/DU (Danger labels)
The following danger labels are pasted on this machine. Follow the instructions on each label. If a label has
come off, put a new one on a proper position. To order a label from the manufacturer, refer to PARTS LIST.
Label part No.
The positions of danger labels on the front side
M32E
0 1 J Q B
feeder tables will have
serious injury.
444C-E-XXA00-A04-01
4Q4C-901E
The labels for safety pasted on the product
The positions of danger labels on the rear side
4Q4C-902E
0 1 K 1 B
DANGER
DO NOT OPEN
THE COVER
WHEN
OPERATING
You will have serious
injury if you touch the
active part inside.
0 1 K 1 B
DANGER
DO NOT OPEN
THE COVER
WHEN
OPERATING
You will have serious
injury if you touch the
active part inside.
0 1 J X A
DANGER
DO NOT TOUCH
ACTIVE PART
WHEN
OPERATING
You will have serious
injury if you touch the
active part.
0 1 J X A
DANGER
DO NOT TOUCH
ACTIVE PART
WHEN
OPERATING
You will have serious
injury if you touch the
active part.
(As for the explanation, the illustration of CM202-DU is used.)

Page 29
SAFETY PRECAUTIONS
Be sure to observe
CM202-DH/DHU/DK(Danger labels)
The following danger labels are pasted on this machine. Follow the instructions on each label. If a label has
come off, put a new one on a proper position. To order a label from the manufacturer, refer to PARTS LIST.
Label part No.
The positions of danger labels on the front side
M32E
0 1 J Q B
feeder tables will have
serious injury.
444C-E-XXA00-A04-01
4U4C-AA00
The labels for safety pasted on the product
The positions of danger labels on the rear side
4U4C-AB01
0 1 K 1 B
DANGER
DO NOT OPEN
THE COVER
WHEN
OPERATING
You will have serious
injury if you touch the
active part inside.
0 1 K 1 B
DANGER
DO NOT OPEN
THE COVER
WHEN
OPERATING
You will have serious
injury if you touch the
active part inside.
0 1 J X A
DANGER
DO NOT TOUCH
ACTIVE PART
WHEN
OPERATING
You will have serious
injury if you touch the
active part.
0 1 J X A
DANGER
DO NOT TOUCH
ACTIVE PART
WHEN
OPERATING
You will have serious
injury if you touch the
active part.
(As for the explanation, the illustration of CM202-DH is used.)