Gantry system electric X4 S Micron_20211122_064352 - 第15页
Gantry system electric X4 S Micron Page 15 / 21 22.11.2021

Gantry system electric X4 S Micron
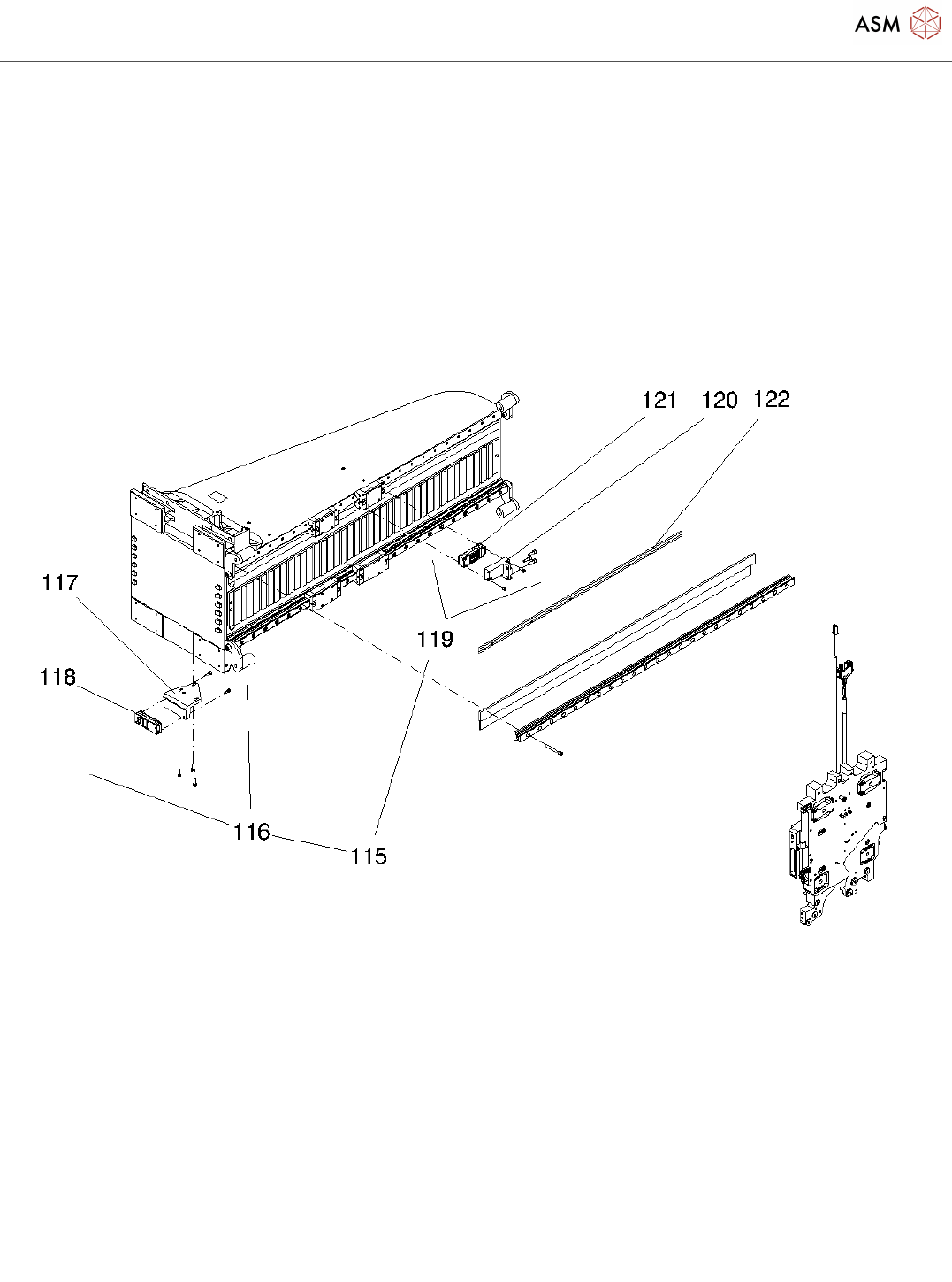
Page 14 / 21 22.11.2021

Gantry system electric X4 S Micron
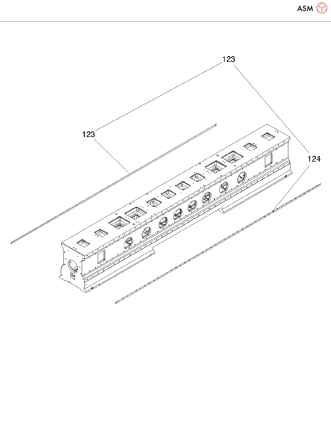
Page 15 / 21 22.11.2021

Gantry system electric X4 S Micron
Page 16 / 21 22.11.2021