00193921-03 - 第182页
4 Aufstellen und I nbetriebnahme Betriebsanleitung SIPLACE H F-Serie 4.4 Den Automaten aufstellen Softwareversion SR.50x.xx Ausgab e 01/2006 DE 182 Æ Schrau ben Sie das Ge winde des m ittleren Ma schinenfuße s in die Boh…

Betriebsanleitung SIPLACE HF-Serie 4 Aufstellen und Inbetriebnahme
Softwareversion SR.50x.xx Ausgabe 01/2006 DE 4.4 Den Automaten aufstellen
181
4.4.4.1 Höhe der mittleren Maschinenfüße voreinstellen
Zunächst werden die mittleren Maschinenfüße voreingestellt. Je nach Automatenhöhe muss das
Distanzstück lagerichtig an der Unterseite angeschraubt werden.
Leiterplatten-Transporthöhe von 830 mm einstellen 4
Für die Leiterplatten-Transporthöhe von 830 mm benötigen Sie kein Distanzstück.
Æ Schrauben Sie den mittleren Maschinenfuß in das dafür vorgesehene Gewinde möglichst
weit ein (Siehe Punkt 5 in Abb. 4.4 - 3
).
Leiterplatten-Transporthöhe von 900 mm einstellen 4
Für die Leiterplatten-Transporthöhe von 900 mm benötigen Sie das Distanzstück.
Æ Richten Sie dieses so aus, dass die 90 mm - Seite vertikal ausgerichtet ist und die Bohrung
für den mittleren Maschinenfuß nach unten zeigt.
4
4
4
4
4
4
4
4
4
4
4
4
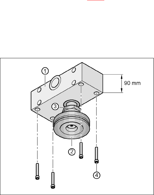
Abb. 4.4 - 4 Ausrichtung des Distanzstücks für 900 mm Transporthöhe
4
(1) Distanzstück-Höhe 90 mm
(2) Mittlerer Maschinenfuß
(3) Kontermutter M24
(4) Innensechskantschraube M12x80, 4 Stück

4 Aufstellen und Inbetriebnahme Betriebsanleitung SIPLACE HF-Serie
4.4 Den Automaten aufstellen Softwareversion SR.50x.xx Ausgabe 01/2006 DE
182
Æ Schrauben Sie das Gewinde des mittleren Maschinenfußes in die Bohrung an der Unterseite
des Distanzstücks.
Æ Richten Sie die beiden Distanzstücke an der Maschinenunterseite folgendermaßen aus:
– Die Öffnung des Distanzstücks auf der Pneumatikeinschubseite weist in Leiterplatten-
transportrichtung (siehe Punkt 4 in Abb. 4.4 - 3
, Seite 180).
– Die Öffnung des Distanzstücks auf der Stromversorgungsseite zeigt in Gegenrichtung zur
Leiterplatten-Transportrichtung (siehe Punkt 3 in Abb. 4.4 - 3
, Seite 180).
Æ Befestigen Sie beide Distanzstücke mit je vier Innensechskantschrauben M12x80 (siehe
Punkt 4 in Abb. 4.4 - 4
). Verwenden Sie dazu den Schraubendrehereinsatz mit Schlüsselmaß
10 mm.
Leiterplatten-Transporthöhen von 930 mm und 950 mm einstellen 4
Auch für die Leiterplatten-Transporthöhen von 930 mm und 950 mm benötigen Sie das Distanz-
stück.
Æ Richten Sie das Distanzstück so aus, dass die 122,5 mm - Seite vertikal ausgerichtet ist und
die Bohrung für den mittleren Maschinenfuß nach unten zeigt.
4
Abb. 4.4 - 5 Ausrichtung des Distanzstücks für die Transporthöhen 930 und 950 mm
4
(1) Distanzstück-Höhe 122,5 mm
(2) Mittlerer Maschinenfuß
(3) Kontermutter M24
(4) Innensechskantschraube M12x80, 4 Stück
122,5 mm

Betriebsanleitung SIPLACE HF-Serie 4 Aufstellen und Inbetriebnahme
Softwareversion SR.50x.xx Ausgabe 01/2006 DE 4.4 Den Automaten aufstellen
183
Æ Schrauben Sie das Gewinde des mittleren Maschinenfußes in die Bohrung an der Unterseite
des Distanzstücks.
Æ Richten Sie beide Distanzstücke folgendermaßen aus:
– Die Öffnung des Distanzstücks auf der Pneumatikeinschubseite weist in Leiterplatten-
transportrichtung (siehe Punkt 4 in Abb. 4.4 - 3
, Seite 180).
– Die Öffnung des Distanzstücks auf der Stromversorgungsseite zeigt in Gegenrichtung zur
Leiterplatten-Transportrichtung (siehe Punkt 3 in Abb. 4.4 - 3
, Seite 180).
Æ Befestigen Sie beide Distanzstücke mit je vier Innensechskantschrauben M12x80 (siehe
Punkt 4 in Abb. 4.4 - 5
). Verwenden Sie dazu den Schraubendrehereinsatz mit Schlüsselmaß
10 mm.
4.4.4.2 Höhe der äußeren Maschinenfüße voreinstellen
4
Abb. 4.4 - 6 Höhe der Maschinenfüße voreinstellen
(1) Maschinenfuß - 2 Ausführungen
(2) Innensechskantschraube, M24x90
(3) Einstellschraube M24x2x120