00193921-03 - 第311页
Betriebsanleitung SIPLACE HF-Serie 7 Stationserweiterungen Softwareversion SR.50x. xx Ausgabe 01/2006 DE 7.1 Pipett enwechsler 311 7.1.3 Pipette nwechsler fü r den SIPLACE T winHead Magazin für 2 Pipette n: Artikel-N r .…

7 Stationserweiterungen Betriebsanleitung SIPLACE HF-Serie
7.1 Pipettenwechsler Softwareversion SR.50x.xx Ausgabe 01/2006 DE
310
7.1.2.9 Montagesatz für den Pipettenwechsler "Reihe 2"
Artikel-Nr. 00119664-xx
Der Pipettenwechsler "Reihe 2" kann an folgenden Stellplätzen installiert werden:
HF-Automat: Stellplätze 1 und 3 (siehe Abb. 7.1 - 10
, Seite 302)
HF/3-Automat: Stellplätze 1, 3 und 4 (siehe Abb. 7.1 - 11
, Seite 303)
Das Nachrüstpaket enthält neben dem Pipettenwechsler einen Montagesatz und eine Pipetten-
abzugsvorrichtung mit Abwurfbehälter.
7
Abb. 7.1 - 16 Montagesatz für den 2. Pipettenwechsler
(1) Montagesatz für den Pipettenwechsler "Reihe 2"
(2) Pipettenabzugsvorrichtung für Pipetten des Typs 8xx
(3) Pipettenabzugsvorrichtung für Pipetten des Typs 9xx
(4) Pipettenabwurfbehälter

Betriebsanleitung SIPLACE HF-Serie 7 Stationserweiterungen
Softwareversion SR.50x.xx Ausgabe 01/2006 DE 7.1 Pipettenwechsler
311
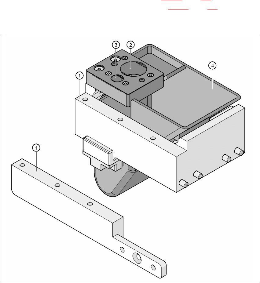
7.1.3 Pipettenwechsler für den SIPLACE TwinHead
Magazin für 2 Pipetten: Artikel-Nr. 03005191-xx
Magazin für 1 Pipette: Artikel-Nr. 03001807-xx
Dieser Pipettenwechsler kann bis zu 12 Pipettenmagazine aufnehmen. Zwei Magazintypen ste-
hen zur Verfügung: Standardmagazine und Magazine für Sonderpipetten oder Greifer. Die Maga-
zine sitzen auf einem gemeinsamen Träger. Sie sind jeweils mit zwei Zylinderstiften zentriert und
mit zwei Senkkopfschrauben fixiert.
7
Abb. 7.1 - 17 Pipettenwechsler für den SIPLACE TwinHead
WARNUNG 7
Installieren Sie für jeden Bestückkopf nur den zugehörigen Pipettenwechsler. Bei Mischkonfigu-
rationen besteht Kopfcrashgefahr!
7.1.3.1 Technische Daten
7
Pipettenwechsler für den SIPLACE TwinHead
Abmessungen (Länge x Breite x Höhe) 448 x 68,5 x 49 mm³
Anzahl der Pipettengaragen 16 für Standardpipetten
4 für Sonderpipetten oder Greifer
Pipettentypen 5xx, Standard
4xx mit Adapter
9xx mit Adapter
Pipettenwechselzeit < 2 s

7 Stationserweiterungen Betriebsanleitung SIPLACE HF-Serie
7.1 Pipettenwechsler Softwareversion SR.50x.xx Ausgabe 01/2006 DE
312
7.1.3.2 Lage der Pipettenwechsler für den TwinHead am HF-Automaten
An den Stellplätzen 1, 2, 3 und 4 kann jeweils ein Pipettenwechsler für den TwinHead installiert
werden (Pos. 1 in Abb. 7.1 - 18
). Dies ergibt eine Gesamtkapazität von 4 Pipettenwechslern mit
48 Magazinen und insgesamt 96 Pipettengaragen.
7
Abb. 7.1 - 18 Lage der Pipettenwechsler für den TwinHead am HF-Automaten
(1) Pipettenwechsler
(2) Standardmagazin
(3) Magazin für Sonderpipetten oder Greifer
(4) BE-Abwurfbehälter
7
7