00193921-03 - 第316页
7 Stationserweiterungen Betriebsanleitung SIPLACE H F-Serie 7.1 Pipettenwechsler Softwareversion SR.50x.xx Ausgabe 01/2006 D E 316 7.1.3.6 BE-Abwurfbehälter Für den SIP LACE T winHead k ann ein B E-Abwurfb ehälter instal…

Betriebsanleitung SIPLACE HF-Serie 7 Stationserweiterungen
Softwareversion SR.50x.xx Ausgabe 01/2006 DE 7.1 Pipettenwechsler
315
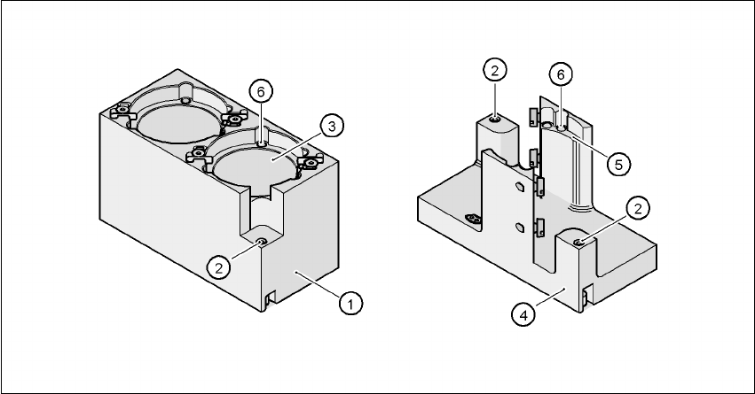
7.1.3.5 Funktionsbeschreibung
Das Magazin für Standardpipetten hat 1 Positionsmarke für die Lageerkennung, das Magazin für
Sonderpipetten/Greifer zwei. In der Garage werden die Pipetten durch Kugeln fixiert. Je nach
Drehrichtung der DP-Achse werden die Pipetten entweder geklemmt oder zur Entnahme dreige-
geben.
7
Abb. 7.1 - 21 Magazin für Standard- und Sonderpipetten
(1) Standardmagazin
(2) Positionsmarke
(3) Pipettengarage
(4) Magazin für Sonderpipetten und Greifer
(5) Pipettengarage
(6) Kugeln zum Fixieren der Pipetten

7 Stationserweiterungen Betriebsanleitung SIPLACE HF-Serie
7.1 Pipettenwechsler Softwareversion SR.50x.xx Ausgabe 01/2006 DE
316
7.1.3.6 BE-Abwurfbehälter
Für den SIPLACE TwinHead kann ein BE-Abwurfbehälter installiert werden. Er ist neben dem
Fine-Pitch-Visionmodul positioniert (siehe Pos. 4 in den Abb. 7.1 - 18
, Seite 312 und 7.1 - 19,
Seite 313
).
7
Abb. 7.1 - 22 BE-Abwurfbehälter
7.1.4 Greifer und Spezialpipetten
Die SIPLACE-Automaten verarbeiten neben dem Standard-SMT-Spektrum auch Bauelemente in
Durchsteckmontagetechnik (Through Hole Technology) und OSC-Bauelemente (Odd Shaped
Components). Parallel dazu entwickelt SIEMENS A&D kontinuierlich Spezialpipetten und Greifer.
Spezialpipetten werden für alle Bestückköpfe angeboten, um mit maximaler Geschwindigkeit,
Präzision und Flexibilität die Bestückaufträge abarbeiten zu können. Der Einsatz von automati-
schen Pipettenwechslern reduziert zudem die Rüstzeiten, die bei einem Produktwechsel anfallen.
Für die Pick&Place-Köpfe bietet SIEMENS A&D mechanische Greifer an. Bauelemente, deren
Oberfläche nicht zum Ansaugen durch Pipetten geeignet ist, werden von mechanischen Greifern
abgeholt und bestückt. Es gibt zwei Ausführen von Greifern, die sich der Funktion nach in zwei
Gruppen einteilen lassen:
– Greifer, die das Bauelement an den Außenkanten fassen und
– Greifer, die das Bauelement an der Innenkante fassen.
Informationen zu Sonderpipetten und Greifern erhalten Sie bei SIEMENS A&D. Zur Anfertigung
von Sondernmagazinen und Greifern wenden Sie sich bitte ebenfalls an SIEMENS A&D.
Betriebsanleitung SIPLACE HF-Serie 7 Stationserweiterungen
Softwareversion SR.50x.xx Ausgabe 01/2006 DE 7.2 Sensor für den BE-Abwurfbehälter
317
7.2 Sensor für den BE-Abwurfbehälter
Artikel-Nr. 00116848-xx
Der Sensor für den BE-Abwurfbehälter überwacht, ob der Abwurfbehälter korrekt in seiner Halte-
rung sitzt.
– Wurde der Abwurfbehälter nicht korrekt eingesetzt, kann der Automat nicht gestartet werden.
– Springt der Abwurfbehälter während des Bearbeitungsprozesses aus seiner Halterung, wird
der Automat sofort angehalten, um einen Kopfcrash zu vermeiden.
Jeder Abwurfbehälter kann mit einem eigenen Sensor überwacht werden.