00195165-05_SM_D4_D4i_DE - 第128页
Servicearbeiten LP-Transportsystem 4.4.10 Stangendämpfer-Hubtisch (Dämpfungseinh eit) tauschen [0 0358684-xx] 128 Serviceanle itung SIPLACE D4/D4i 4.4.10 4 . 4 . 1 0 S t a n g e n d ä m p f e r - H u b t is c h ( D ä m p…

Servicearbeiten
4.4.9 Hubtischzylinder komplett tauschen [00358703-xx] LP-Transportsystem
Serviceanleitung SIPLACE D4/D4i 127
Ausbau
Einbau
► Lösen Sie die Befestigungsschrauben der Hubtisch
-
platte und entfernen Sie die Hubtischplatte von der
Hubtischeinheit.
► Lösen Sie die Befestigungsschrauben des Magnet
-
ventils (4) und entfernen Sie es vom Hubtischzylin
-
der.
► Lösen Sie die Madenschraube am Endlagenbero (1)
und schieben Sie den Endlagenbero aus der
Führungsschiene des Hubtischzylinders (2).
► Lösen Sie die Kontermutter an der Kolbenstange (3)
und drehen Sie die Kolbenstange heraus, bis sich die
Kolbenstange vom Betätiger löst.
► Entfernen Sie die zwei Befestigungsschrauben am
Hubtischzylinder (2) und entnehmen Sie diesen.
4
1
3
2
► Befestigen Sie den neuen Hubtischzylinder (2) und
montieren Sie die Kolbenstange (3).
► Bringen Sie den Hubtischzylinder von Hand in die
Endlage.
► Schalten Sie den Automaten ein.
► Schieben Sie den Endlagenbero (1) in die
Führungsschiene bis die LED leuchtet.
► Fixieren Sie diese Position mit der Madenschraube.
► Montieren Sie das Magnetventil (4) und die Hubtisch
-
platte.
► Kontrollieren Sie die Geschwindigkeit des Hubtisch
-
zylinders und korrigieren diese ggf.
4
1
3
2

Servicearbeiten
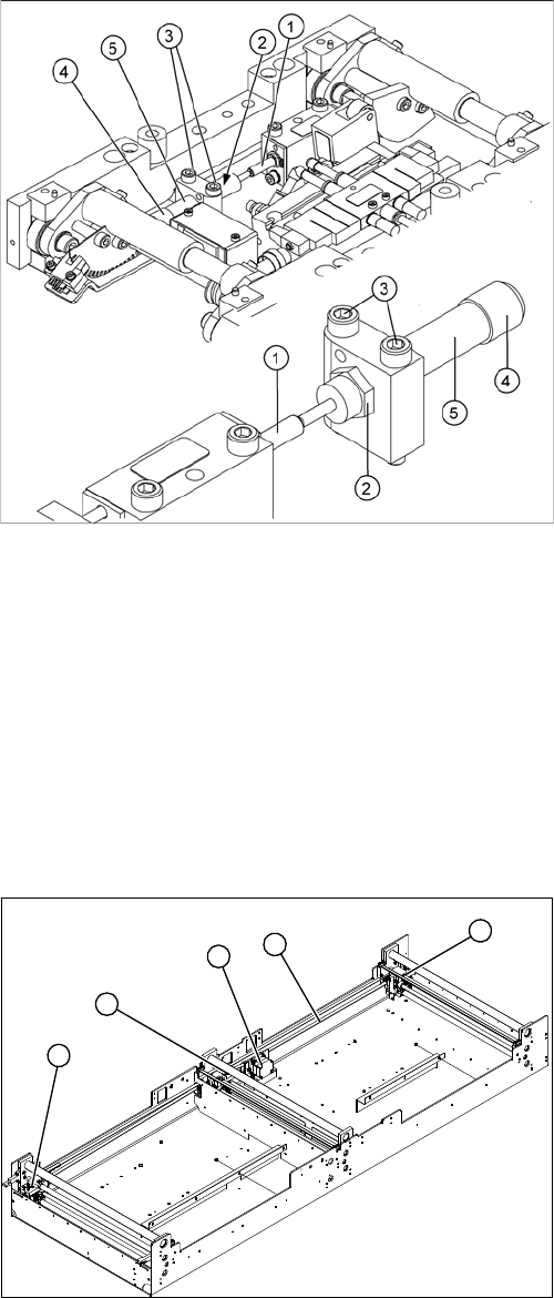
LP-Transportsystem 4.4.10 Stangendämpfer-Hubtisch (Dämpfungseinheit) tauschen [00358684-xx]
128 Serviceanleitung SIPLACE D4/D4i
4.4.10
4.4.10 Stangendämpfer-Hubtisch (Dämpfungseinheit) tauschen [00358684-xx]
Stangendämpfer-Hubtisch (Dämpfungseinheit) tauschen [00358684-xx]
Übersicht
Benötigte Hilfsmittel und Werkzeuge
▪ Drehmomentschlüssel mit Einsteckknarre [00386175-xx]
▪ Maul-Einsteckwerkzeug SW16 [00386177-xx]
Ausbau
1. Betätiger
2. Kontermutter
3. Befestigungsschrauben
4. Griff
5. Stangendämpfer [00358684-xx]
Durch den Stangendämpfer wird der Hubtisch sanft nach
oben gefahren. So wird beim Klemmen der Leiterplatte
ein zu starkes Prellen verhindert.
Der Stangendämpfer beinhaltet den Stossdämpfer
[00367737-xx] sowie den Dämpferblock [00367782-xx].
► Fahren Sie den LP-Transport in die Position, in der
Sie den Hubtisch am Besten erreichen können.
► Verfahren Sie die Y-Portale bis in den Bereich
außerhalb des LP-Transports.
► Schalten Sie den Automaten aus, und sichern Sie ihn
gegen Wiedereinschalten.
► Lösen Sie die Befestigungsschrauben der Hubtisch
-
platte und entfernen Sie die Hubtischplatte von der
Hubtischeinheit.
► Lösen Sie die beiden Befestigungsschrauben (3) des
Stangendämpfers (5).
► Lösen Sie die Kontermutter (2) und drehen Sie den
Stangendämpfer mit dem Griff (4) aus dem Befesti
-
gungsblock heraus.

Servicearbeiten
4.4.11 Schrittmotor-Breitenverstellung tauschen [00367174-xx] LP-Transportsystem
Serviceanleitung SIPLACE D4/D4i 129
Einbau und Justage
4.4.11
4.4.11 Schrittmotor-Breitenverstellung tauschen [00367174-xx]
Schrittmotor-Breitenverstellung tauschen [00367174-xx]
Übersicht
► Drehen Sie den neuen Stangendämpfer (5) in den
Befestigungsblock ein, bis der Stößel am Betätiger
(1) leicht ansteht, damit der Hubtisch sanft nach oben
fahren kann.
► Drehmomentschlüssel verwenden:
Sichern Sie diese Stellung mit der Kontermutter (2)
mit 8 Nm.
► Kontrollieren Sie, ob der Stangendämpfer im Befesti
-
gungsblock mit der Kontermutter fixiert ist und der
Stößel des Stangendämpfers 0,1 mm Abstand zum
Betätiger hat (Spalt im unbetätigten Zustand). Mit die
-
ser Grundeinstellung soll der Hubtisch sanft nach
oben fahren.
► Sollte dies nicht der Fall sein, lösen Sie die Konter
-
mutter und drehen den Stangendämpfer ca. eine Um
-
drehung in den Befestigungsblock ein.
► Montieren Sie die Hubtischplatte.
► Starten Sie SITEST und fahren Sie den Hubtisch
nach oben.
► Der Hubtisch muss sanft nach oben fahren. d. h. es
darf kein lautes Einrasten der LP-Klemmung erkenn
-
bar sein und keine Fehlermeldung der LP-Klemmung
auftreten.
► Kontrollieren Sie die Geschwindigkeit des Hubtisch
-
zylinders und korrigieren diese, falls notwendig.
Legende
1. Schrittmotor-Breitenverstellung
2. Antriebszahnriemen
3. Verstelleinheit 1, 2 und 3.
3
3
1
3
2