00195165-05_SM_D4_D4i_DE - 第181页
Servicearbeiten 4.5.19 RSF digitalen Drehgeber t auschen (DP-Achse) [00335990-xx ] C&P12-Bestückkopf Serviceanleitung SIPLACE D4/D4i 181 ► Demontieren Sie den Griff des Kopfes. ► Lösen Sie die beiden Innensechskantsc…

Servicearbeiten
C&P12-Bestückkopf 4.5.19 RSF digitalen Drehgeber tauschen (DP-Achse) [00335990-xx]
180 Serviceanleitung SIPLACE D4/D4i
► Demontieren Sie das Kopf-Vorderteil (siehe "4.5.2 Kopf-Vorderteil Aus-/Einbau" [ ➙ 144]).
► Demontieren Sie den Stern (siehe "4.5.17 Stern tauschen" [ ➙ 175]).
► Lösen Sie die vier Innensechskantschrauben M5x16 (2).
► Heben Sie den Sternantrieb vom Kopf-Vorderteil ab.
Einbau
► Setzen Sie den Sternmotor so auf das Kopf-Vorderteil, dass das Anschlusskabel des Sternantriebs
auf die mit (A) bezeichnete Position zeigt.
► Befestigen Sie den Sternantrieb mit den vier Innensechskantschrauben M5x16 (2).
► Montieren und justieren Sie den Stern (siehe Nullpunktkorrektur).
► Sollte sich die Nullpunktkorrektur nicht korrekt einstellen lassen, lockern Sie die vier Stern-Motor
-
schrauben und verdrehen Sie den Sternmotor in die entsprechende Richtung innerhalb der Befesti
-
gungstoleranz.
► Montieren Sie das Kopf-Vorderteil.
► Der weitere Einbau erfolgt in umgekehrter Reihenfolge.
Sehen Sie dazu auch...
6.3.9 Nullpunktkorrektur Stern-Achse C&P-Kopf ermitteln [ ➙ 216]
4.5.19
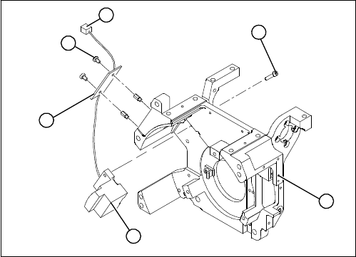
4.5.19 RSF digitalen Drehgeber tauschen (DP-Achse) [00335990-xx]
RSF digitalen Drehgeber tauschen (DP-Achse) [00335990-xx]
Teile, Hilfsmittel und Werkzeug
▪ Digitaler Drehgeber C&P12/DLM[00335990-xx]
Übersicht
Vorbereitung
► Bauen Sie den Kopf aus der Maschine aus. Für den Aus- und Einbau des Bestückkopfes lesen Sie
die Serviceanleitung Ihrer Maschine.
Ausbau
► Demontieren Sie das Kopf-Vorderteil (siehe "4.5.2 Kopf-Vorderteil Aus-/Einbau" [ ➙ 144]).
► Entfernen Sie die schwarze Abdeckkappe über der RSF-Platine (4).
► Ziehen Sie den Stecker (6) vom Steckplatz des Zwischenverteilers ab.
► Lösen Sie die beiden Innensechskantschrauben M2,5x4 (5) zur Befestigung der RSF-Platine.
1. Kopf-Vorderteil
2. RSF digitaler Drehgeber 12/DLM3
3. Innensechskantschraube M2,5x8 (2x)
4. Platine RSF, Typ 950
5. Innensechskantschraube M2,5x4 (2x)
6. Stecker auf den Steckplatz des Zwischenverteilers
1
6
5
4
3
2

Servicearbeiten
4.5.19 RSF digitalen Drehgeber tauschen (DP-Achse) [00335990-xx] C&P12-Bestückkopf
Serviceanleitung SIPLACE D4/D4i 181
► Demontieren Sie den Griff des Kopfes.
► Lösen Sie die beiden Innensechskantschrauben M2,5x8 (3) und entnehmen Sie den digitalen Dreh
-
geber.
Einbau
► Setzen Sie den neuen Drehgeber ein und befestigen Sie ihn zunächst nur lose mit den beiden In
-
nensechskantschrauben M2,5x8 (3).
► Montieren Sie den Griff des Kopfes.
► Setzen Sie eine Pinole in den Stern ein und drehen Sie den Stern mit der Pinole bis zum Drehgeber.
► Fixieren Sie den Stern in dieser Position mit der Lehre für den Stern.
► Schieben Sie den Drehgeber vorsichtig in Richtung Inkrementalscheibe und entlang der
Anschlagkante (A), bis der Prüfstift plan an der Inkrementalscheibe (2) und dem Fenster des Dreh
-
gebers aufliegt (1).
► Fixieren Sie den Drehgeber mit den beiden Innensechskantschrauben M2,5x8.
► Ziehen Sie den Prüfstift vorsichtig aus dem Spalt.
► Entfernen Sie die Lehre für den Stern.
► Ziehen Sie die Pinole vom Stern ab.
► Befestigen Sie die RSF-Platine (3) mit den beiden Innensechskantschrauben M2,5x4 (4).
► Schließen Sie den Stecker an den Steckplatz des Zwischenverteilers an.
► Bringen Sie die schwarze Abdeckkappe an der RSF-Platine an.
► Montieren Sie das Kopf-Vorderteil.
► Testen Sie die Funktion des Drehgebers.
► Justieren Sie den Drehgeber so, dass der Abstand
zwischen dem Fenster des Drehgebers und der In
-
krementalscheibe der Pinole 1,5 mm beträgt.
Gehen Sie dazu wie folgt vor:
VORSICHT!
Empfindliches Bauteil!
BRUCHGEFAHR FÜR DIE INKREMENTALSCHEIBE
► Schieben Sie den Prüfstift mit dem konisch ange
-
schliffenen Ende vorsichtig zwischen das Fenster
des Inkrementalgebers (1) und der
Inkrementalscheibe (2).
► Lockern Sie die Befestigungsschrauben des Inkre
-
mentalgebers, wenn sich der Prüfstift nicht leicht ein
-
schieben lässt.
HINWEIS!
Der Prüfstift besitzt ein stumpfes und ein konisch zuge
-
schliffenes Ende. Schieben Sie den Prüfstift
ausschließlich mit dem konischen Ende voran zwischen
Inkrementalgeber und Inkrementalscheibe der Pinole,
um Kratzer und dadurch verursachte Zählfehler zu ver
-
meiden.
A
1
4
3
2

Servicearbeiten
C&P12-Bestückkopf 4.5.20 Steuerplatine Pipettenwechsler 6/12 tauschen [00317353-xx]
182 Serviceanleitung SIPLACE D4/D4i
4.5.20
4.5.20 Steuerplatine Pipettenwechsler 6/12 tauschen [00317353-xx]
Steuerplatine Pipettenwechsler 6/12 tauschen [00317353-xx]
Übersicht
4.5.21
4.5.21 Überprüfung der Leitungsführung
Überprüfung der Leitungsführung
Am Beispiel SIPLACE D1/D2
Die korrekte Leitungsführung am Kopf ist eine Voraussetzung für einen langfristig fehlerfreien Betrieb.
Durch die hohen Beschleunigungen der Portale können sonst Abrieb und Beschädigungen der Verbin
-
dungsleitungen auftreten.
▪ Abdeckung von freien Stiftleisten durch Kunststoffkappen:
Flachbandkabel und Koaxleitungen können durch freie Stiftleisten beschädigt werden, daher unbe
-
dingt Kunststoffkappen aufstecken.
Hierzu den Leerstecker [00368931-xx] verwenden.
Pipettenwechsler C&P12 (am Beispiel D4)
HINWEIS! Die Pipettenwechsler der D1/D2 sind
im Vergleich zu denen der D4 lediglich um 1 Magazin
länger. Der Aufbau ist identisch.
1. Pipettenwechsler 12 Segmente
2. Steuerplatine (auf der Unterseite montiert)
3. 4 Befestigungsschrauben
VORSICHT! Die Steuerplatine wird ebenso für
den Pipettenwechsler 6 Segmente verwendet.
► Bauen Sie den Pipettenwechsler aus der Maschine
aus. Die Steuerplatine befindet sich auf der Untersei
-
te des Pipettenwechslers.
Pipettenwechsler C&P12 von unten (am Beispiel D4)
► Ziehen Sie die elektrischen Verbindungen zur
Steuerplatine (1) ab.
► Lösen Sie die Befestigungsschrauben und entfernen
Sie die Steuerplatine.
► Montieren Sie die neue Steuerplatine und stellen Sie
die elektrischen Verbindungen wieder her.
► Montieren Sie den Pipettenwechsler in die Maschine.
► Vermessen Sie den Pipettenwechsler mit SITEST.
1
VORSICHT
Leitungsführung kontrollieren!
Bei falscher Leitungsführung oder mangelhafter Befestigung der Anschlussleitungen können
mechanische Beschädigungen auftreten.
Funktionsstörungen, nicht reproduzierbare Fehler und Stillstand der Maschine können die Fol
-
ge sein.