00195165-05_SM_D4_D4i_DE - 第57页
Servicearbeiten 4.1.2 Stromversorgungseinschub messen Elektrik Serviceanleitung SIPLACE D4/D4i 57 Anschlusssteckerfeld des Stromversorgungseinschubs Anschlusssteckerfeld des Stromversorgungseins chubs Die Pinbelegung der…

Servicearbeiten
Elektrik 4.1.2 Stromversorgungseinschub messen
56 Serviceanleitung SIPLACE D4/D4i
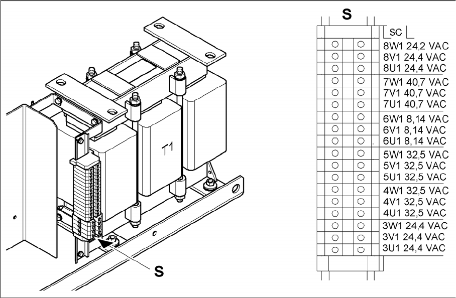
Sekundärseite des Transformators T1
Sekundäranschlussklemmen des Transformators T1
Auf der Sekundärseite liefert der Transformator T1 folgende Spannungen:
▪ 3 x 24,4 V~
▪ 3 x 40,7 V~
▪ 3 x 8,14 V~
▪ 3 x 32,5 V~
▪ 3 x 32,5 V~
▪ 3 x 24,4 V~

Servicearbeiten
4.1.2 Stromversorgungseinschub messen Elektrik
Serviceanleitung SIPLACE D4/D4i 57
Anschlusssteckerfeld des Stromversorgungseinschubs
Anschlusssteckerfeld des Stromversorgungseinschubs
Die Pinbelegung der einzelnen Stecker finden Sie in der Wirkschaltplanmappe in Rubrik 3
"Stromlaufpläne".
T1 Drehstromtransformator, 11,1 kVA
X14 P200 V - Schraubanschluss M6 (+) für die Versorgung der Servoverstärker der X/
Y-Achsen
X15,16,17, EEP N200 V - Schraubanschluss M8/M6 (-) für die Versorgung der Servoverstärker der
X/Y-Achsen
X2 zum Monitor 1, 2
X3 Box PC
X4 Micro Box PC
X5 Hauptverteiler/Unterverteiler (geregelte Spannung)
X6 LP-Transport
X7 Unterverteiler (ungeregelte Spannung)
X8 Axis Unit 1
X9 Axis Unit 2
X10 Hauptverteiler (ungeregelte Spannung)
X12 vom/zum Hauptverteiler, (Steuersignale, Stromversorgung)
X13 von/zum Hauptverteiler, (SSK-Peripherie)

Servicearbeiten
Elektrik 4.1.3 Verteiler in den Sektoren 1-4
58 Serviceanleitung SIPLACE D4/D4i
4.1.3
4.1.3 Verteiler in den Sektoren 1-4
Verteiler in den Sektoren 1-4
4.1.3.1
4.1.3.1 Teile tauschen
Teile tauschen
Die Baugruppen befinden sich hinter der Abdeckung an den entsprechenden Sektoren. Die Baugruppen
sind auf Profilschienen aufgesteckt und über Klemmleisten angeschlossen.
► Entfernen Sie die Befestigungsschrauben der jeweiligen Abdeckung und entfernen diese.
► Kennzeichnen Sie die Anschlussbelegung der Baugruppe.
► Lösen Sie die Anschlüsse der jeweiligen Baugruppe.
► Heben Sie die Baugruppe von der Profilschiene ab. Lösen Sie ggf. vorhandene Befestigungsschrau
-
ben.
4.1.4
4.1.4 Achseinschub
Achseinschub
4.1.4.1
4.1.4.1 Teile tauschen
Teile tauschen
► Beenden Sie alle Bestückoperationen am Automaten
► Schalten Sie den Automaten am Hauptschalter aus.
► Öffnen Sie den Zugang zum Achseinschub auf dem gewünschten Stellplatz (1/4 oder 2/3).
Achseinschub komplett
DIP-Schalter auf der Backplane
Legende
1 Lage des DIP-Schalters auf der Backplane 3 Einstellung für Achseinschub an Stellplatz
2/3
2 Einstellung für Achseinschub an Stellplatz
1/4