文档中心
/
Control unit_20211123_070610
Control unit_20211123_070610 - 第6页
Control unit Page 6 / 10 23.11.2021
目录
100%
显示:宽度
宽度
1 / 10
回到旧版
旧版
?
Control unit
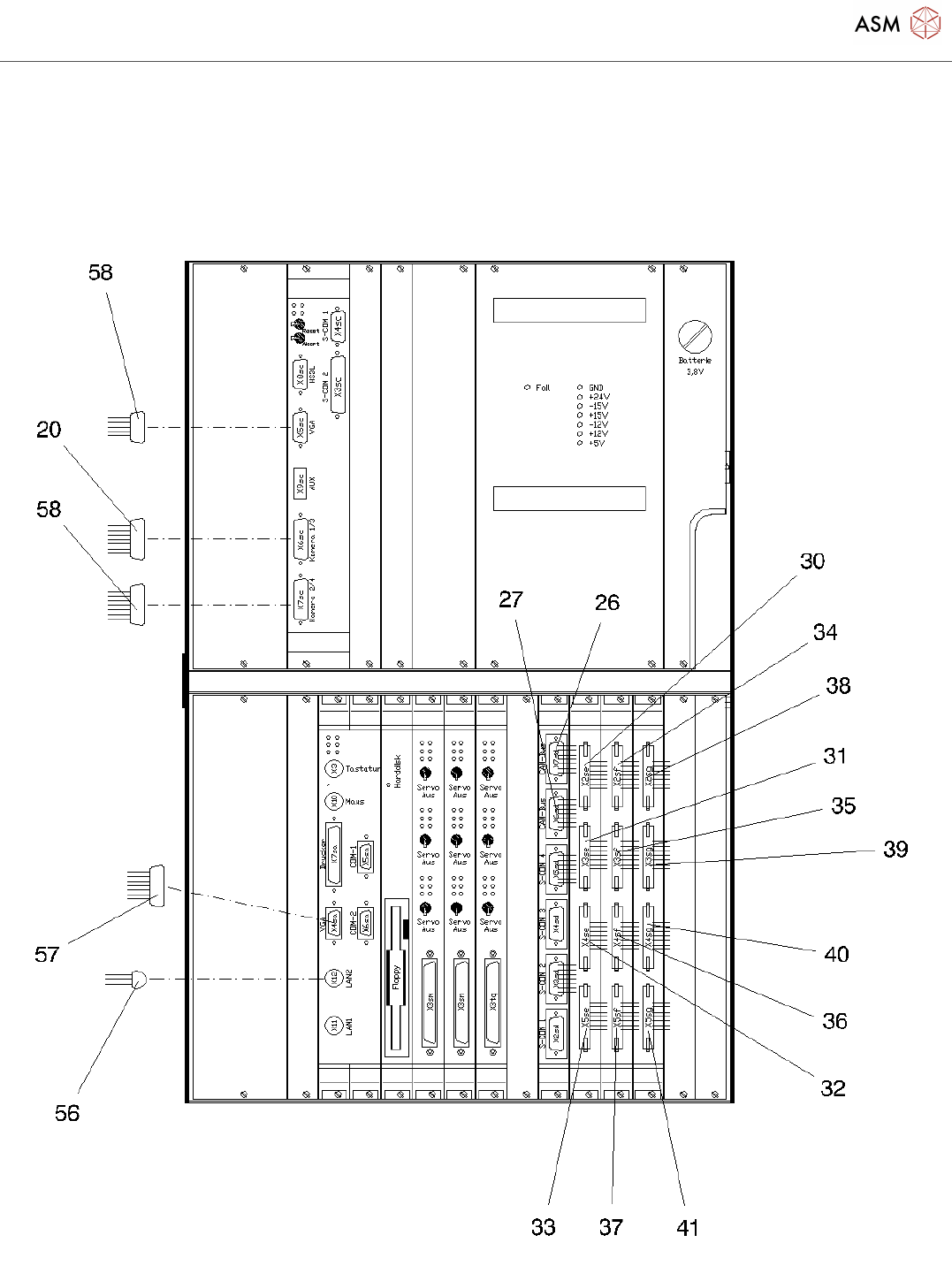
Page 5 / 10
23.11.2021
Control unit
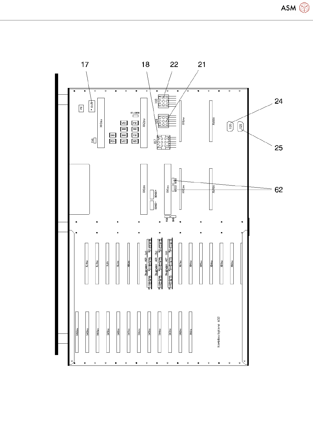
Page 6 / 10
23.11.2021
Control unit
Page 7 / 10
23.11.2021
该页面需要启用 JavaScript 才能进行交互式预览。