MGCU_20211123_071226 - 第6页
MGCU Page 6 / 6 23.11.2021 Pos. Item no. Description Part marking 1 03117531S03 POSITION CONTROLLER GANTRY AXES MGCU-2 SPARE PART 2 03104136-01 FAN SPARE PART 3 03023228-01 ISO 7046-2-M2,5 X 6-A2-70-H STANDARD PARTS 4 03…

MGCU
Page 4 / 6 23.11.2021

MGCU
Page 5 / 6 23.11.2021

MGCU
Page 6 / 6 23.11.2021
Pos. Item no. Description Part marking
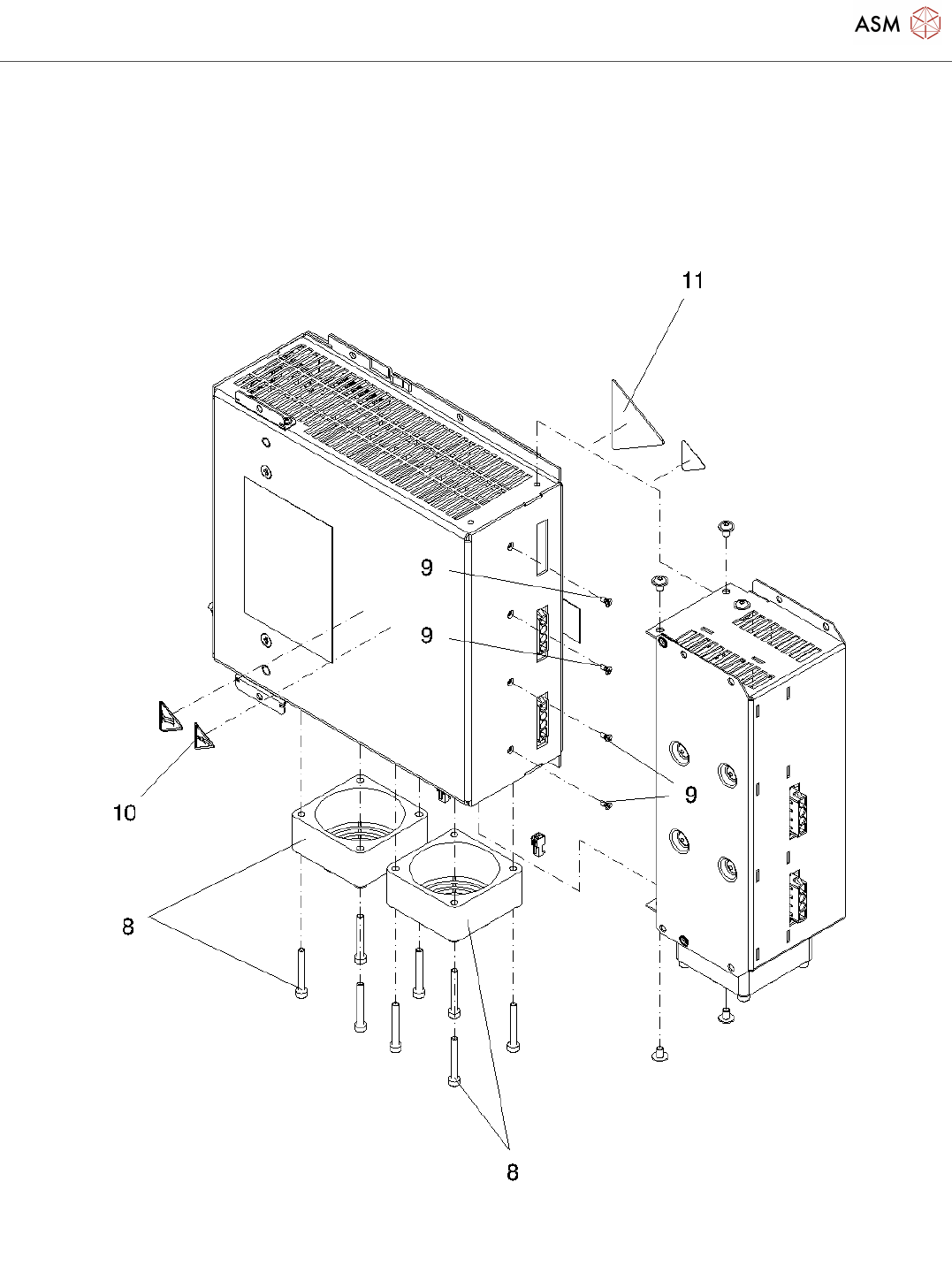
1 03117531S03 POSITION CONTROLLER GANTRY
AXES MGCU-2
SPARE PART
2 03104136-01 FAN SPARE PART
3 03023228-01 ISO 7046-2-M2,5 X 6-A2-70-H STANDARD PARTS
4 03113695-01 CAUTION LABEL - DANGER. ELECTR.
VOLTAGE
5 03114591-01 WARNING SIGN NO. 220
6 00341997-01 LABEL GROUNDING POINT GNYE
D12.5
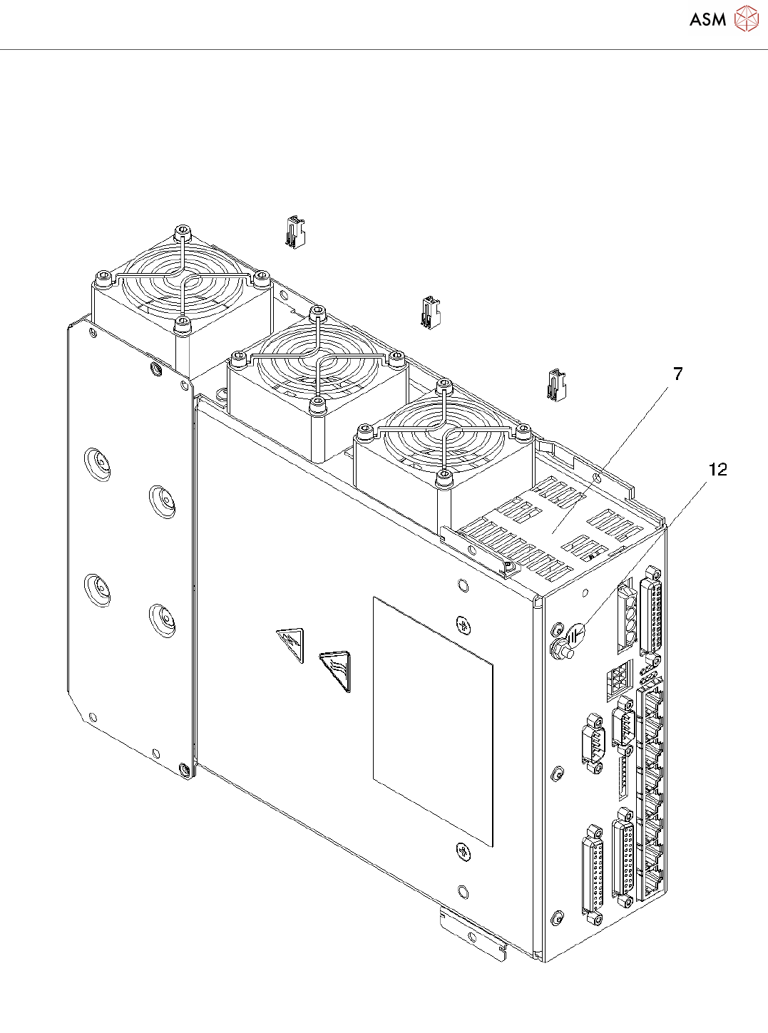
7 03103477S04 POSITION CONTROLLER GANTRY
AXES MGCU-3
SPARE PART
8 03104136-01 FAN SPARE PART
9 03023228-01 ISO 7046-2-M2,5 X 6-A2-70-H STANDARD PARTS
10 03113695-01 CAUTION LABEL - DANGER. ELECTR.
VOLTAGE
11 03114591-01 WARNING SIGN NO. 220
12 00341997-01 LABEL GROUNDING POINT GNYE
D12.5
Powered by TCPDF (www.tcpdf.org)