NPM-D3 - 第76页
16 ヘッドカメラ:NPM Head Camera:NPM パーツレイアウト Kit No. キット 品番 Kit Name キット名称 N610041187AA セクションNo. PARTS LAYOUT Section No. - - S55 ( KN610041187AA-06 )

Ref
No.
Remarks R
1
Q'ty
15
XY軸制御:NPM-D3
XY-Axis (H):NPM-D3
イラスト
No.
Part No.
品 名品 番 数量
R
2
パーツリスト
Kit No.
キット品番
Kit Name
キット名称
N610157814AA
Part Name
備 考
セクションNo.
PARTS LIST
Section No.
R
3
PCB
2
1 N610112763AB
S
NPM highly accurate beam LED control PCB
NOISE-FILTER
8
2 J0KG00000014
S
ZCAT3035-1330
SHIELD
2
3 KXFP6GNSA00 FGC-8-M4
NOISE-FILTER
2
4 N510044950AA
S
E04SR150718
NOISE-FILTER
2
5 N510044951AA
S
E04SR200932
S54
--
( KN610157814AA-04 )

16
ヘッドカメラ:NPM
Head Camera:NPM
パーツレイアウト
Kit No.
キット品番
Kit Name
キット名称
N610041187AA
セクションNo.
PARTS LAYOUT
Section No.
--
S55
( KN610041187AA-06 )

Ref
No.
Remarks R
1
Q'ty
16
ヘッドカメラ:NPM
Head Camera:NPM
イラスト
No.
Part No.
品 名品 番 数量
R
2
パーツリスト
Kit No.
キット品番
Kit Name
キット名称
N610041187AA
Part Name
備 考
セクションNo.
PARTS LIST
Section No.
R
3
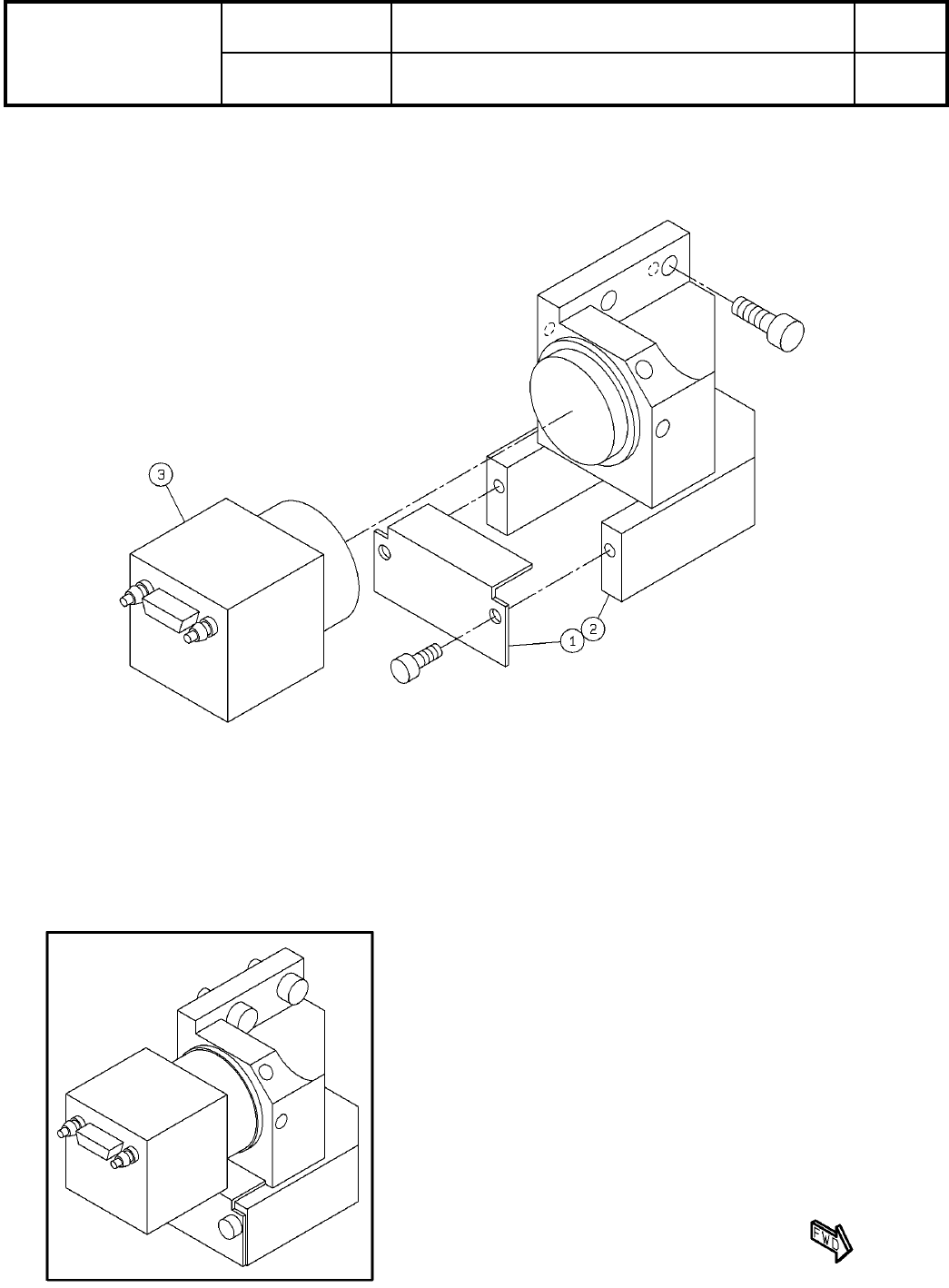
BRACKET
1
1 N210067363AA
LENS
1
2 N510027781AA OKP-46X
CAMERA
1
3 N510029003AA
S
CSCX30BC3-10
S56
--
( KN610041187AA-06 )