6-nozzle nozzle changer_20211124_081100 - 第6页
6-nozzle nozzle changer Page 6 / 11 24.11.2021

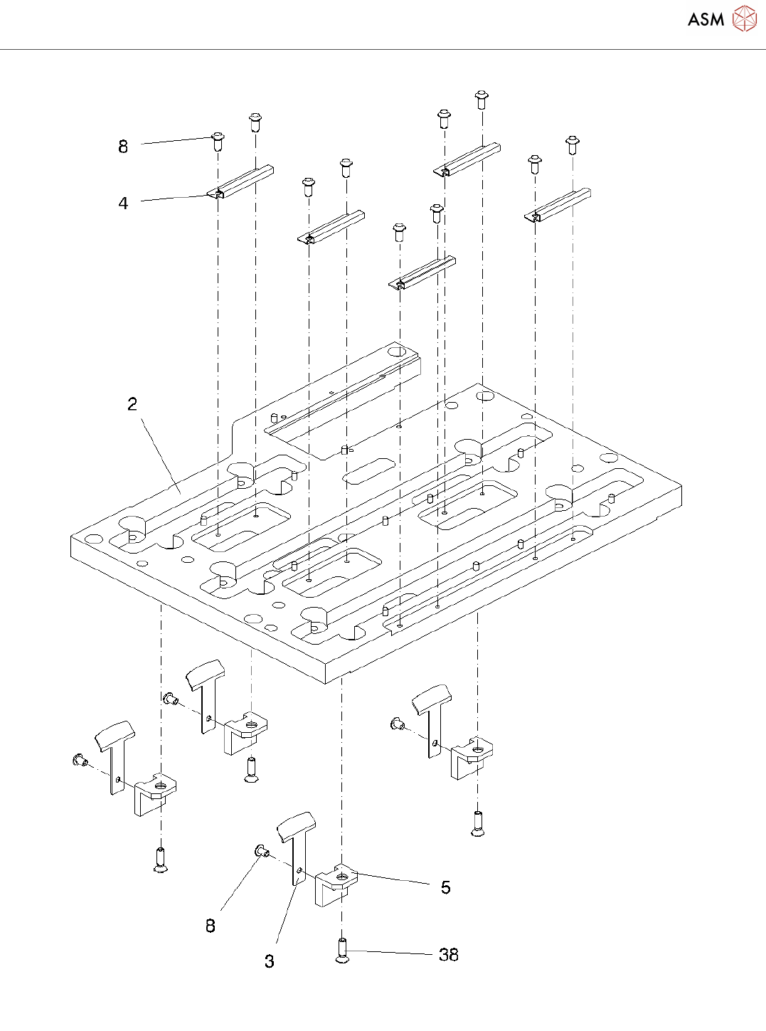
6-nozzle nozzle changer
Page 5 / 11 24.11.2021

6-nozzle nozzle changer
Page 6 / 11 24.11.2021

6-nozzle nozzle changer
Page 7 / 11 24.11.2021
6-nozzle nozzle changer Page 6 / 11 24.11.2021


