D3Parts List__N7202A043B - 第287页
Ref No. Remark s R 1 Q'ty 22 交換台車支持部(後側):NPM Feeder cart support(rear side):NPM イラスト No. Part No. 品 名 品 番 数量 R 2 パーツリスト Kit No. キット品番 Kit Name キット名称 N610073133AA Part Nam e 備 考 セク ション No . PARTS LIST Section No. R 3…

22
交換台車支持部(後側):NPM
Feeder cart support(rear side):NPM
パーツレイアウト
Kit No.
キット品番
Kit Name
キット名称
N610073133AA
セクションNo.
PARTS LAYOUT
Section No.
--
O93
( KN610073133AA-08 )

Ref
No.
Remarks R
1
Q'ty
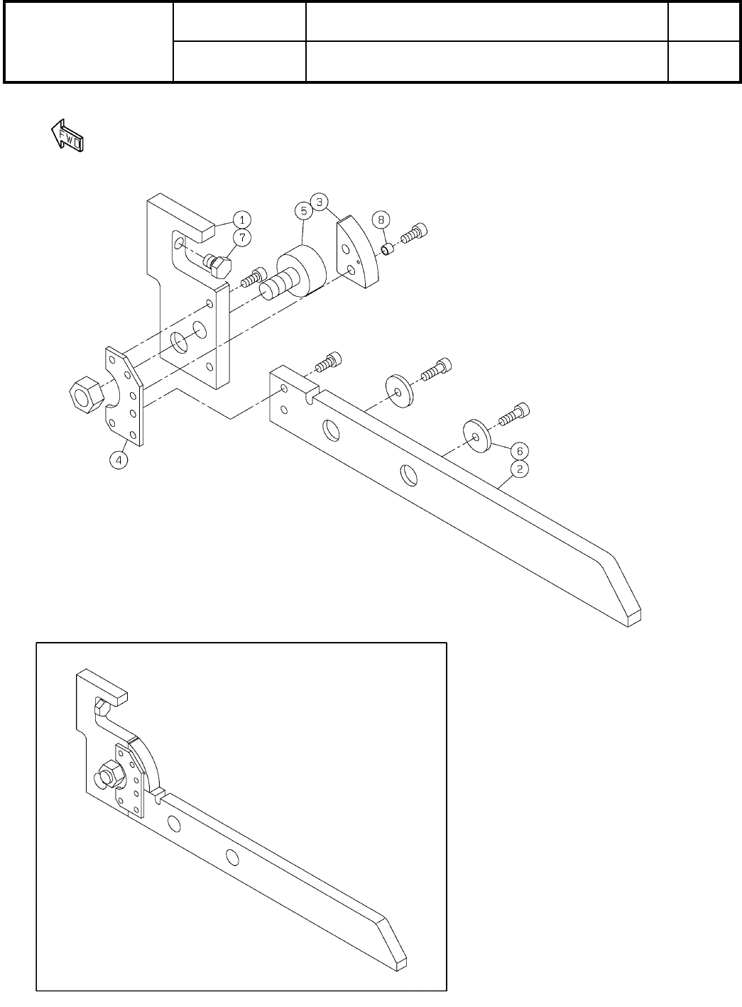
22
交換台車支持部(後側):NPM
Feeder cart support(rear side):NPM
イラスト
No.
Part No.
品 名品 番 数量
R
2
パーツリスト
Kit No.
キット品番
Kit Name
キット名称
N610073133AA
Part Name
備 考
セクションNo.
PARTS LIST
Section No.
R
3
PLATE
1
1 N210109741AA
PLATE
1
2 N210091018AB
GUIDE
1
3 N210091019AC
PLATE
1
4 N210091013AA
CAM-FOLLOWER
1
5 N510032929AA CF12VBUUR
WASHER
3
6 N210117333AA
STOPPER
1
7 N510029795AA SPM-M8
SPACER
2
8 N510020062AA 3382330-50050
O94
--
( KN610073133AA-08 )

23
Y軸ストッパ(標準交換台車仕様):NPM
Y axis stopper for standard cart:NPM
パーツレイアウト
Kit No.
キット品番
Kit Name
キット名称
N610085056AA
セクションNo.
PARTS LAYOUT
Section No.
--
O95
( KN610085056AA-02 )