D3Parts List__N7202A043B - 第81页
Ref No. Remark s R 1 Q'ty 18-B ヘッドオプショ ン駆動ユニット:NP M-D3 Head Option Driv ing Unit:NPM -D3 イラスト No. Part No. 品 名 品 番 数量 R 2 パーツリスト Kit No. キット品番 Kit Name キット名称 N610161110AB Part Nam e 備 考 セク ション No . PARTS LIST Sectio…

18-B
ヘッドオプション駆動ユニット:NPM-D3
Head Option Driving Unit:NPM-D3
パーツレイアウト
Kit No.
キット品番
Kit Name
キット名称
N610161110AB
セクションNo.
PARTS LAYOUT
Section No.
--
S61
( KN610161110AB-04-2 )

Ref
No.
Remarks R
1
Q'ty
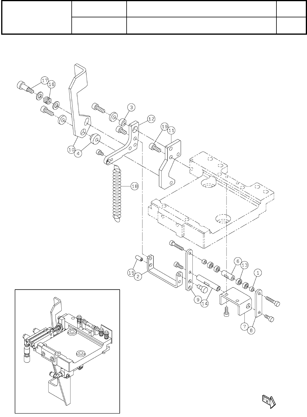
18-B
ヘッドオプション駆動ユニット:NPM-D3
Head Option Driving Unit:NPM-D3
イラスト
No.
Part No.
品 名品 番 数量
R
2
パーツリスト
Kit No.
キット品番
Kit Name
キット名称
N610161110AB
Part Name
備 考
セクションNo.
PARTS LIST
Section No.
R
3
WASHER
2
1 N210117349AA
BRACKET
1
2 MTPB023294AA
WASHER
1
3 N210113092AA
BUSH
1
4 N210113075AA
SPACER
1
6 N210146725AA
BRACKET
1
7 MTPB000464AB
LEVER
1
8 N210117373AB
LEVER
1
9 N210117371AB
LEVER
1
10 N210112914AE
PLATE
1
11 N210142858AB
LEVER
1
12 N210117372AD
BEARING
4
13 KXF0C8ZAA00 683ZZ
SHAFT
1
14 MTPA000909AA
PIN
1
15 KXF0CXHAA00 1017003-40008
SPRING
1
16 N9865556 5556
BOLT
1
17 N510020785AA MMSB5.5-10
SPRING
1
18 N510033512AA 6688
BOLT
2
19 MTNK000561AA
Hexagon socket head cap screw M4X10-10.9 A2J (Trivalent) (MEC process
S62
--
( KN610161110AB-04-2 )

19-A
全体カバー:NPM-D3
Whole Cover:NPM-D3
パーツレイアウト
Kit No.
キット品番
Kit Name
キット名称
N610160758AA
セクションNo.
PARTS LAYOUT
Section No.
--
S63
( KN610160758AA-28-1 )