KE-3020_KE-3020R-Rev05 - 第129页
- - REF.NO NOTE PARTNO DESCRIPTION Qty 1 400-94743 AWC_3020_MECHANIC_ASM 1 2 400-00768 AWCPULLEYAASM. (1) 3 E2153-725-000 AWCP ULLEYA (1) 4 SM-8040602-TP S CREWM 4X0.7L=6 (2) 5 400-00769 AWCPUL…

- -
OPTION
61.AWCCOMPONENTS
1 9
3
9
2 0
6
4
7
8
1 3
1 6
2 3
3 0
1
2 2
2 4
2 6
2 5
2 8
1 0
2 1
2
5
1 7
1 1
1 2
1 5
2 7
1 4
1 8
1 1
1 2
1 5
2 9

- -
REF.NO NOTE PARTNO DESCRIPTION Qty
1 400-94743 AWC_3020_MECHANIC_ASM 1
2 400-00768 AWCPULLEYAASM. (1)
3 E2153-725-000 AWCPULLEYA (1)
4 SM-8040602-TP SCREWM4X0.7L=6 (2)
5 400-00769 AWCPULLEYBASM. (1)
6 E2154-725-000 AWCPULLEYB (1)
7 SM-8040402-TP SCREWM4X0.7L=4 (2)
8 SM-8040602-TP SCREWM4X0.7L=6 (2)
9 400-92577 AWCORGSENSASM (1)
10 SL-6031092-TN SCREW (2)
11 400-94550 SENSOR_BRACKET_AWC (2)
12 SL-6031092-TN SCREW (4)
13 400-92569 BUPINSENSOREMISSIONASM (1)
14 400-92575 BUPINSENSORRECEIVERASM (1)
15 SL-6031092-TN SCREW (4)
16 400-48077 AWCMOTORASM (1)
17 E2163-725-000 AWCBRACKETE (1)
18 E2160-725-000 AWCBELT(E) (1)
19 E2161-725-000 AWCOPDOG(E) (1)
20 SL-6030692-TN BOLT (2)
21 E4805-729-000 AWCSENSORBRACKETB(E) (1)
22 SM-4030501-SN SCREWM3L=5 (1)
23 SL-6041092-TN SCREW (4)
24 SL-4031091-SC SCREWM3X10 (2)
25 HX-0034400-00 HARNESSPARTS (1)
26 SL-6030692-TN BOLT (1)
27 EA-9500B01-00 CABLEBAND (2)
28 HX-0052200-00 SPIRALTUBE (0.32)
29 400-65488 BUPINSENSORDOG (1)
30 SL-6051492-TN BOLT (2)

- -
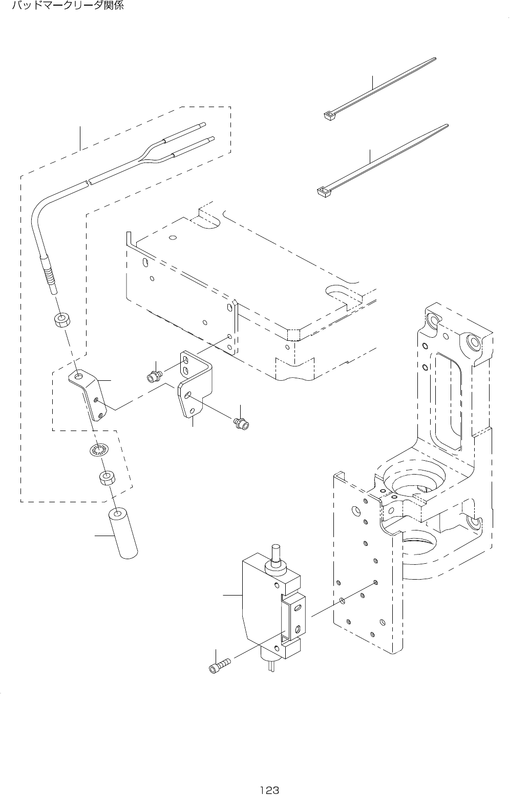
62.BADMARKREADERCOMPONENTS
5
6
3
4
1
8
9
2
7
2