RX-6_RX-6B_RX-6R-Rev11 - 第109页
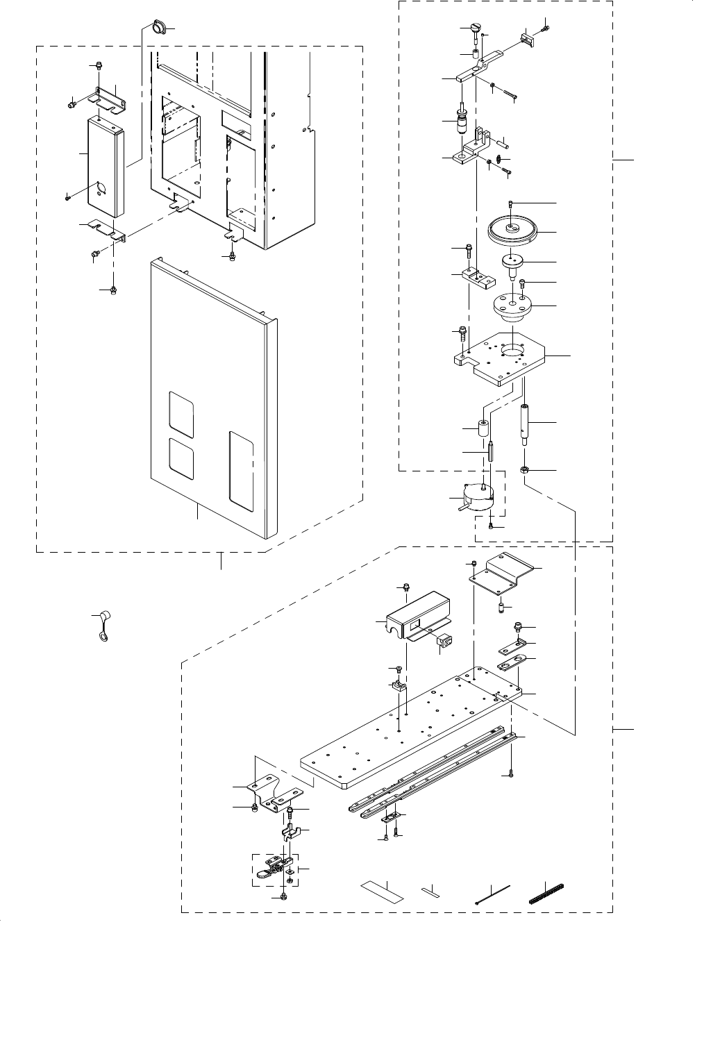
- 104 - REF.NO NOTE PART NO D E S C R I P T I O N 品 名 Qty 1 401-22786 ROTARY FLUXER CABL E ASM ロータリーフラクサケー ブル組 1 2 HK-0436900-00 CONNECTOR コネクタパーツ 1 3 401-22736 COVER_SET_ROTARY カバー_セット_ロータ リー 1 4 SM-4860601-SC SCREW M2.…

- 103 -
52.ROTARY TRANSFER DEVICE
ロータリー型転写装置
2
66
1
39
44
63
54
53
52
50
51
49
48
47
43
46
41
45
42
16
62
60
61
64
65
56
57
55
58
59
17
10
40
13
14
20
21
22
23
24
25
12
26
37
36
27
36
35
38
28
34
30
31
32
33
29
11
19
15
18
3
9
7
6
6
5
4
8
8
8
8

- 104 -
REF.NO NOTE PART NO D E S C R I P T I O N
品 名
Qty
1 401-22786 ROTARY FLUXER CABLE ASM
ロータリーフラクサケーブル組
1
2 HK-0436900-00 CONNECTOR
コネクタパーツ
1
3 401-22736 COVER_SET_ROTARY
カバー_セット_ロータリー
1
4 SM-4860601-SC SCREW M2.6 L=6
なべ小ねじ M2.6 L=6
(2)
5 401-10947 SUB_COVER_FUL_V2
サブカバーFUL_V2
(1)
6 401-10949 SWITCH_PL_BR_V2
スイッチプレートブラケットV2
(2)
7 401-22735 SWITCH_PLATE_SP_ROTARY
スイッチ_プレート_SP_ロータリー
(1)
8 SL-6040892-TN SCREW M4 L=8
座金付き六角穴ボルト M4 L=8
(8)
9 SL-6041092-TN SCREW M4 L=10
座金付き六角穴ボルト M4 L=10
(4)
10 401-22788 ROTARY FLUXER MOTOR ASM
ロータリーフラクサモーター組
1
11 401-22904 ROTARY_FLUXER_UPPER_FOR_E
ロータリフラクサ上部ユニット(電動)
1
12 SL-6042092-TN SCREW M4 L=20
座金付き六角穴ボルト M4 L=20
(2)
13 401-22724 BSAE_PLATE_V
ベースプレートV
(1)
14 SL-6052092-TN SCREW M5 L=20
座金付き六角穴ボルト M5 L=20
(4)
15 401-22731 CIRCULAR_POST_V
ポスト
(4)
16 401-22732 SPACER_V
スペーサ_V
(2)
17 SM-6030602-TN SCREW M3X6
六角穴ボルト M3X6
(2)
18 NM-6060001-SC NUT M6X1 TYPE1
六角ナット M6X1 1種
(4)
19 401-07112 FLEXIBLE_COUPLING
カップリング
(1)
20 401-07111 BEARING_HOLDER
ベアリングホルダ
(1)
21 SM-6041002-TN SCREW
六角穴ボルト
(4)
22 401-07117 SAUCER_BASE
受け皿ベース
(1)
23 401-07101 SAUCER
受け皿
(1)
24 SM-6030802-TN SCREW
六角穴ボルト
(2)
25 401-07105 LOCATING_BLOCK
ブロック
(1)
26 401-07104 HINGE_BASE
ヒンジベース
(1)
27 401-07103 LEVER
レバー
(1)
28 401-07119 PARALLEL_PIN_M5_L20
平行ピンM5_L=20
(1)
29 SM-8030302-TP SCREW M3X0.5 L=3
止めねじ M3X0.5 L=3
(1)
30 401-07116 KNURLED_KNOB_SCREW
つまみねじ
(1)
31 401-07108 SPACE_COLLAR
スペースカラー
(1)
32 401-07102 SQUEEGEE
スキージ
(2)
33 SL-6031092-TN SCREW M3 L=10
座金付き六角穴ボルト M3 L=10
(1)
34 401-07115 MICROMETER_HEAD
マイクロメータヘッド
(1)
35 SM-6032002-TN SCREW M3X0.5 L=20
六角穴ボルト M3X0.5 L=20
(1)
36 NM-6030001-SC NUT M3X0.5 TYPE1
六角ナット M3X0.5 1種
(1)
37 SM-6031202-TN SCREW M3X12
六角穴ボルト M3X12
(1)
38 401-07110 PULL_SPRING
引張ばね
(1)
39 401-22905 ROTARY_FLUXER_BASE_ASM_E
ロータリフラクサベース組(電動)
1
40 E1602-723-000 MARKER
取り付けマーカ
(1)
41 400-78576 RAIL_CAP
レールキャップ
(2)
42 401-22725 ROTARY_FLUXER_BASE_E_V
ロータリー_フラクサ_ベース_E_V
(1)
43 ST-1030651-SN TAPPING SCREW D=3 L=6
タッピンねじ D=3 L=6
(2)
44 400-77518 SLIDE_RAIL
スライドレール
(2)
45 SM-3031052-TN SCREW M3 L=10
丸ねじ M3 L=10
(14)
46 SM-1031201-SC SCREW M3X0.5 L=12
皿小ねじ M3X0.5 L=12
(2)
47 401-22726 X_STOPPER_BR_V
X_ストッパ_ブラケット_V
(1)
48 400-68181 X_GUIDE_PIN_FRONT
エックスガイドピンフロント
(1)
49 SL-6030592-TN SCREW M3 L=5
座金付き六角穴ボルト M3 L=5
(4)
50 400-77520 Y_STOPPER_PLATE
ワイストッパープレート
(2)
51 400-77519 PLUNGER_PLATE
プランジャープレート
(2)
52 SL-6051092-TN SCREW M5 L=10
座金付き六角穴ボルト M5 L=10
(4)
53 HX-0029400-00 FIXED BASE
固定ベース
(2)
54 SM-4040601-SC SCREW M4X0.7 L=6
なべ小ねじ M4X0.7 L=6
(2)
55 EA-9500B01-00 CABLE BAND
束線バンド
(3)
56 401-22733 COVER_V
カバー_V
(1)
57 SL-6040892-TN SCREW M4 L=8
座金付き六角穴ボルト M4 L=8
(4)
58 E5348-033-100 CABLE PROTECTOR 106MM
ブッシュ
(0.066)
59 401-22789 ROTARY FLUXER SWITCH ASM
ロータリーフラクサスイッチ組
(1)
60 E1214-726-000 ST CLAMP
スタッカクランプ
(1)
61 E1109-723-000 LOCK HOLDER
ロックホルダー
(1)
62 SL-6041642-TN SCREW M4 L=16
座金付き六角穴ボルト M4 L=16
(1)
63 400-94487 ST_CLAMP_BR_E
STクランプブラケットE
(1)
64 SL-4040881-SC SCREW M4 L=8
座金付きなべ小ねじ M4 L=8
(4)
65 SL-6040892-TN SCREW M4 L=8
座金付き六角穴ボルト M4 L=8
(2)
66 401-24846 RATING_LABEL_ROTARY_STAMPING_M
レイティング_ラベル_ロータリ_転写装置_M
(1)

- 105 -
53.E FIXING BANK COMPONENTS(1)
電動固定バンク関係(1)
1
5
16
16
16
16
27
27
6
30
29
28
29
28
24
24
26
25
35
34
31
12
10
10
9
8
37
22
20
20
19
32
32
37
32
18
18
18
18
16
18
16
18
32
32
32
32
32
19
17
17
20
20
20
20
23
38
36
31
15
16
18
16
18
21
19
33
33
14
13
12
7
27
27
11
27
4
4
1
2
2
3
3