RX-6_RX-6B_RX-6R-Rev11 - 第129页
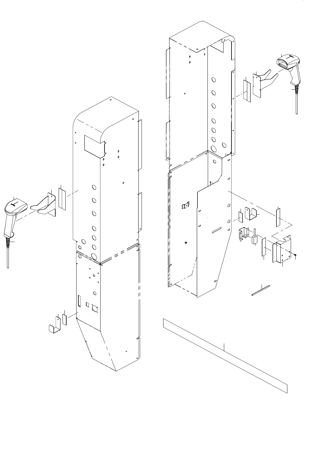
- 124 - REF.NO NOTE PART NO D E S C R I P T I O N 品 名 Qty 1 401-75927 IFS-NX_CAN_ OP_BODY_COMMON_A SM(RX-6) IFS−NX CANオプション本体共 通(RX−6) 1 2 401-69048 MPC-CAN MPC−CAN (2) 3 401-75609 MPC_BR MPCブラケット (2) 4 SL-4030 891-SC SC…

- 123 -
62.IFS-NX(VER6.00_CAN) COMPONENTS
IFS − NX(VER.6.00_ CAN)関係
6
7
8
5
2
2
4
3
4
4
3
4
1

- 124 -
REF.NO NOTE PART NO D E S C R I P T I O N
品 名
Qty
1 401-75927 IFS-NX_CAN_OP_BODY_COMMON_ASM(RX-6)
IFS−NX CANオプション本体共通(RX−6)
1
2 401-69048 MPC-CAN
MPC−CAN
(2)
3 401-75609 MPC_BR
MPCブラケット
(2)
4 SL-4030891-SC SCREW M3 L=8
座金付きなべ小ねじ M3 L=8
(12)
5 401-75926 HUB_BOX_ASSEMBLY
ハブボックス組
1
6 401-75608 MPC_BASE
MPCベース
(1)
7 SL-4040891-SC SCREW M4X8
座金付きなべ小ねじ M4 L=8
(4)
8 400-73033 SWITCHING HUB
スイッチングハブ
(1)

- 125 -
63.ISM/MES COOPERATION COMPONENTS
ISM / MES 連携関係
1
2
3
2
1
3
5
5
5
5
5
5
7
10
9
11
8
4
4
6