P-0117-001 - 第151页
MODEL TCM-3000Z 981 1-001 7- 2 Key No. PART No. PART NAME Q'ty REMARKS 1 630 053 0681 BRACKET(MO TOR) 1 628G--03B-010 1 -1 630 055 2911 BRACKET(MOT OR) 1 628G--03B-031 2 630 003 2574 GEAR,REDUCT ION 2 628G--03H-016 …

MODEL TCM-3000Z
9811-001
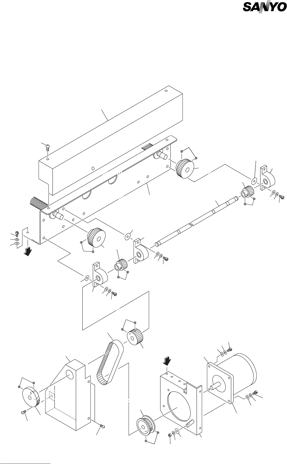
Lコンベア部 L CONVEYOR SECTION
Fig. 7-2 コンベア駆動部 Conveyor Driver
See Fig.7-1
Key No.2
3
4
5
6
6-1
4
5
6
6-1
2
1
10
11
12
13
14
15
7
8
9
7
8
7
8
3
2
1-1
10
11
12
13
14
15
7
8
9-1
16
17

MODEL TCM-3000Z
9811-001
7- 2
Key No. PART No. PART NAME Q'ty REMARKS
1 630 053 0681 BRACKET(MOTOR) 1 628G--03B-010
1 -1 630 055 2911 BRACKET(MOTOR) 1 628G--03B-031
2 630 003 2574 GEAR,REDUCTION 2 628G--03H-016
3 630 049 0831 MOTOR,REVERSIBLE 2 628G--03H-015
4 411 141 4107 WASHER V 5X10X1 4 FW5
5 411 141 6705 WASHER SPR 5 4 SW5
6 630 000 7824 BOLT,HEX-SCT 4 M5X45
6 -1 411 087 1109 WASHER IN TW 5 2
7 630 009 2684 PULLEY,TIMING 4 628G--03H-017
8 630 000 8944 SET SCREW 8 M5X6 SET
9 630 053 2395 BELT,TIMING 1 628G--03H-018
9 -1 630 013 6296 BELT,TIMING 1 628G--03H-036
10 411 141 4107 WASHER V 5X10X1 2 FW5
11 411 141 6705 WASHER SPR 5 2 SW5
12 630 000 7749 BOLT,HEX-SCT 2 M5X10
13 630 001 0220 WASHER 2 628G--03H-027
14 411 141 6705 WASHER SPR 5 2 SW5
15 630 000 7756 BOLT,HEX-SCT 2 M5X12
16 630 055 2935 COVER(MOTOR) 1 628G--03B-032
17 411 051 1708 SCR TRS 4X6 1 M4X6 TRS
NOTE

MODEL TCM-3000Z
9811-001
Lコンベア部 L CONVEYOR SECTION
Fig. 7-3 ドライブシャフト Driving Shaft
23
14
13
2
1
7
5
4
3
6
6-1
8
9
22
21
A
7
6
6-1
2
5
4
1
8
9
7
8
9
17
16
A
35
6
6-1
36
39
37
37
34
33
30
28
20
29
38
24
25
26
27-1
24
25
26
27
See Fig.7-1
Key No.2