P-0117-001 - 第245页
MEMO

MODEL TCM-3000Z
9811-001
12- 4
Key No. PART No. PART NAME Q'ty REMARKS
72 411 113 9109 SCR TRS 5X10 6 M5X10 TRS
81 630 072 5315 BRACKET 3 628R--03B-139
82 630 070 3061 MOTOR,AC 3 628FB-03D-800
83 630 074 6853 ACCESSORY,MOT-M (FILTER) 3 628FB-03D-802
84 630 076 4932 ACCESSORY,MOT-M 3 628FB-03D-803
85 630 068 4292 ACCESSORY,MOT-M 3 628FB-03D-801
86 411 140 7406 SCR FLT 5X20 12 M5X20 FLT
87 411 008 2109 WASHER SPR 5 12 SW5 F
87 411 088 1702 WASHER V 5X10X1 12 FW5 F
88 411 008 2109 WASHER SPR 5 12 SW5 F
89 411 118 8503 NUT HEX 5 12 M5 F
91 411 140 6508 SCR PAN 5X20 12 M5X20 PAN
92 411 088 1702 WASHER V 5X10X1 12 FW5 F
93 411 008 2109 WASHER SPR 5 12 SW5 F
94 411 118 8503 NUT HEX 5 12 M5 F
96 411 141 4107 WASHER V 5X10X1 6 FW5
97 411 141 6705 WASHER SPR 5 6 SW5
98 630 000 7749 BOLT,HEX-SCT 6 M5X10
NOTE

MEMO

MODEL TCM-3000Z
9811-001
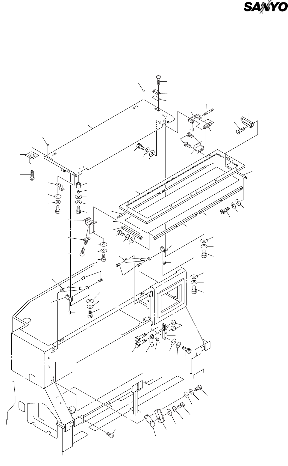
カバー部 COVER SECTION
Fig.12-5 前扉 Front Cover
1
27
28
14
15
17
16
18
19
20
17
11
12
13
3
2
4
5
6
35
30
31
32
33
36
30-1
TCM-3000Z
18
19
20
35
36
31
32
33-1
39
40
41
42
49
50
51
52
53
54
55
56
43
44
45
46
47
34
34
23
24
7
9
10
22
21
8
25
23-1
23
26
26
16
16
31
32
33
16
62
63
64
65
57
50
61
58
59
60
66