P-200-001e.pdf - 第145页
0108-002 16-1 ㇱຠ⇟ภ ㇱ ຠ ฬ ⠨ PART No. PART NAME REMARKS CT-0880HS,HL CT-0881HS,HL CT-0882HS,HL CT-0885HS,HL CT-0886HS,HL CT-0887HS,HL CT-0888HS,HL 5 630 086 4830 PIN,LOCA TE 1111111 725HB-01B-003 10 630 086 5264 ASSY,BRA…

0108-002
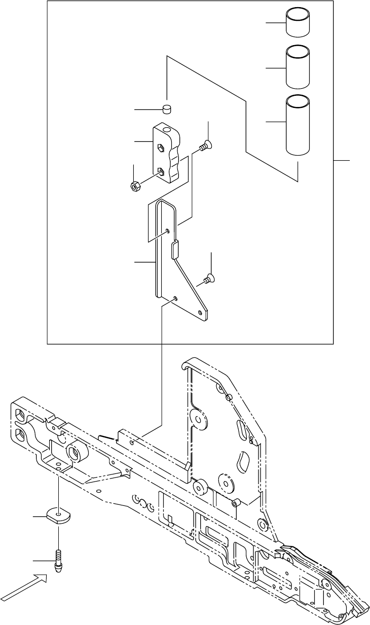
TAG Assy㧔TIM-5000 ࠪ࠭㧕
TAG Assy(for TIM-5000 Series)
Fig. 16-1 8mm ࠹ࡊࡈࠖ࠳↪ FOR 8mm TAPE FEEDER
TH-0880, 0881, 0882, 0885, 0887 TH-0880, 0881, 0882, 0885, 0887
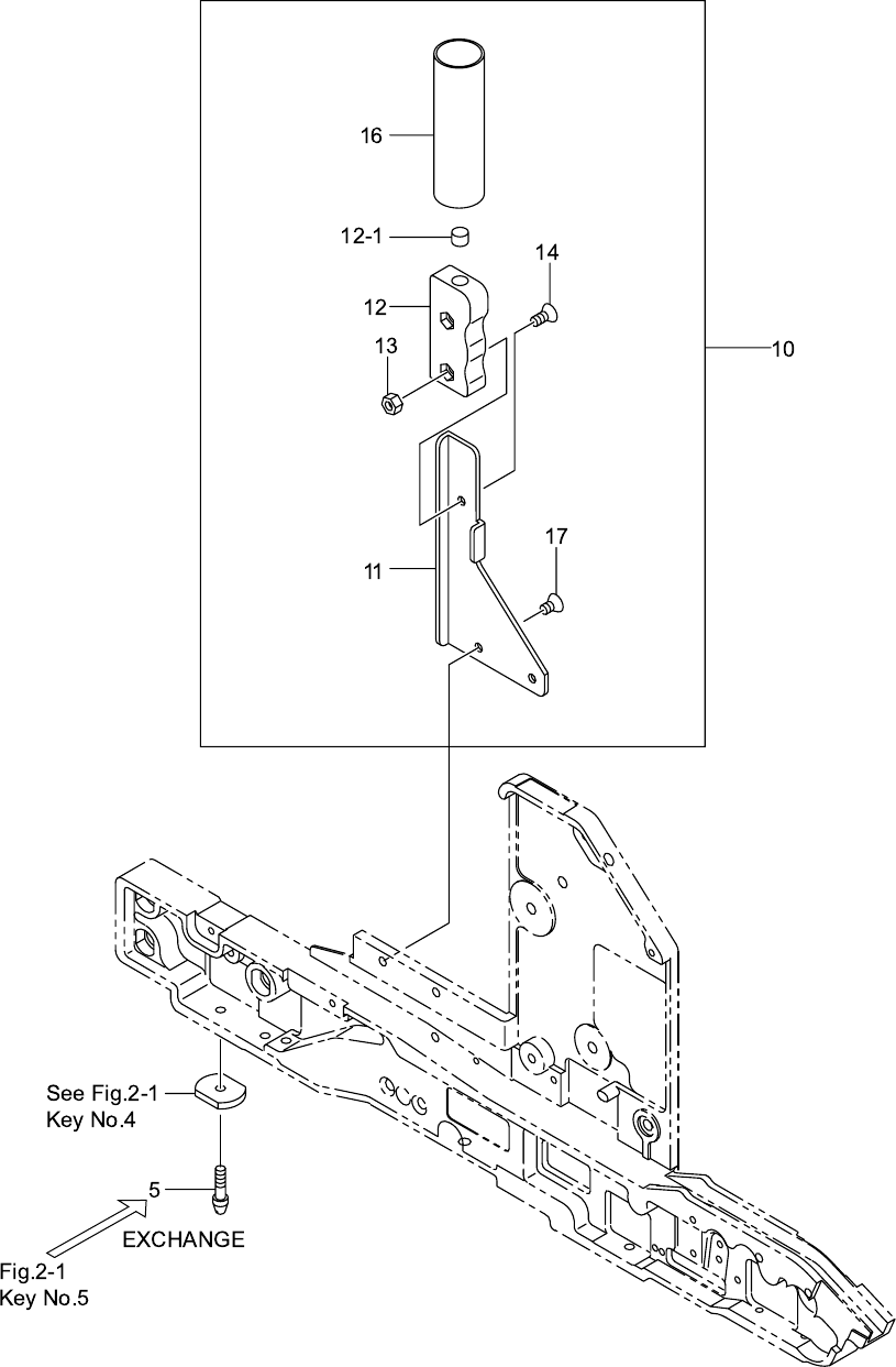
12-1
12
13
14
11
17
10
See Fig.1-1
Key No.4
Fig.1-1
Key No.5
5
16
16-1
16-2

0108-002
16-1
ㇱຠ⇟ภ ㇱ ຠ ฬ ⠨
PART No. PART NAME REMARKS
CT-0880HS,HL
CT-0881HS,HL
CT-0882HS,HL
CT-0885HS,HL
CT-0886HS,HL
CT-0887HS,HL
CT-0888HS,HL
5 630 086 4830 PIN,LOCATE 1111111 725HB-01B-003
10 630 086 5264 ASSY,BRACKET(TH-0882) 1
10 630 086 5103 ASSY,BRACKET(TH-0881) 1 1
10 630 086 5011 ASSY,BRACKET(TH-0880) 1 1
10 630 110 8056 ASSY,BRACKET(TH-0887) 1
10 630 110 8049 ASSY,BRACKET(TH-0885) 1
11 630 085 9607 BRACKET 1 1 1 725HB-01B-001
12 630 070 7601 BRACKET(GRIP) 1 1 1 725HB-01B-002
12 -1 630 085 1526 UNIT,I/O 1 1 1 725HB-01H-001
13 411 054 8506 NUT HEX 4 1 1 1 M4 F
14 411 113 4708 SCR FLT 4X10 1 1 1 M4X10 FLT
16 630 086 5523 TUBE,WIRING 1 725HB-01H-002
16 630 086 5509 TUBE,WIRING 1 1 725HC-01H-002
16 630 086 5516 TUBE,WIRING 1 1 1 1 725HW-01H-002
16 -1 630 041 6220 TUBE,WIRING 1 1 725HD-01H-003
16 -2 630 105 1376 TUBE,WIRING 1 725HD-01H-004
16 -2 630 041 6817 TUBE,WIRING 1 725HM-01H-004
17 411 140 7208 SCR FLT 4X6 2222222 M4X6 FLT
Q'ty
ᢙ㊂
(YELLOW+BLACK+BLUE)
ᵈᗧ
RED
YELLOW
(YELLOW+BLACK+YELLOW)
NOTE
⇟
ภ
Key No.
(BLUE)
(RED)
(YELLOW)
BLACK
BLUE
YELLOW
BLUE

0108-002
TAG Assy㧔TIM-5000 ࠪ࠭㧕
TAG Assy(for TIM-5000 Series)
Fig. 16-2
12mm ࠹ࡊࡈࠖ࠳↪
FOR 12mm TAPE FEEDER
TH-1252, 1280, 1281 TH-1252, 1280, 1281