P-200-001e.pdf - 第152页
0108-002 TAG Assy 㧔 TIM-5000 ࠪ࠭㧕 TAG Assy(for TIM-5000 Series) Fig. 16-5 3 2 m m ࠹ࡊࡈࠖ࠳ FOR 32mm TAPE FEEDER 㧔ࠛࡦࡏࠬ࠹ ࡊ㧕 ↪ (for Embossed Tape) TH-3260 TH-3260

0108-002
16-4
ㇱຠ⇟ภ ㇱ ຠ ฬ ⠨
PART No. PART NAME REMARKS
CT-2480HL-08,12,16
CT-2481HL-20,24
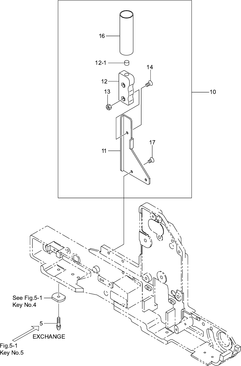
5 630 086 4830 PIN,LOCATE 1 1 725HP-01B-003
10 630 086 5417 ASSY,BRACKET(TH-2480) 1
10 630 086 5431 ASSY,BRACKET(TH-2481) 1
11 630 085 9607 BRACKET 1 1 725HP-01B-001
12 630 070 7601 BRACKET(GRIP) 1 1 725HP-01B-002
12 -1 630 085 1526 UNIT,I/O 1 1 725HP-01H-001
13 411 054 8506 NUT HEX 4 1 1 M4 F
14 411 113 4708 SCR FLT 4X10 1 1 M4X10 FLT
16 630 086 5516 TUBE,WIRING 1 725HP-01H-002
16 630 086 5547 TUBE,WIRING 1 725HK-01H-002
17 411 140 7208 SCR FLT 4X6 2 2 M4X6 FLT
ᢙ㊂
Q'ty
ᵈᗧ
NOTE
⇟
ภ
Key No.
(YELLOW)
(ORANGE)
YELLOW
ORANGE

0108-002
TAG Assy㧔TIM-5000 ࠪ࠭㧕
TAG Assy(for TIM-5000 Series)
Fig. 16-5 32mm ࠹ࡊࡈࠖ࠳ FOR 32mm TAPE FEEDER
㧔ࠛࡦࡏࠬ࠹ࡊ㧕↪ (for Embossed Tape)
TH-3260 TH-3260

0108-002
16-5
ㇱຠ⇟ภ ㇱ ຠ ฬ ⠨
PART No. PART NAME REMARKS
CT-3260HL-12,16,20,24
5 630 086 4830 PIN,LOCATE 1 671HV-01B-003
10 630 086 5486 ASSY,BRACKET(TH-3260) 1
11 630 085 9607 BRACKET 1 671HV-01B-001
12 630 070 7601 BRACKET(GRIP) 1 671HV-01B-002
12 -1 630 085 1526 UNIT,I/O 1 671HV-01H-001
13 411 054 8506 NUT HEX 4 1 M4 F
14 411 113 4708 SCR FLT 4X10 1 M4X10 FLT
16 630 086 5561 TUBE,WIRING 1 671HV-01H-002
17 411 140 7208 SCR FLT 4X6 2 M4X6 FLT
ᵈᗧ
NOTE
⇟
ภ
Key No.
(BLACK)
BLACK
ᢙ㊂
Q'ty