P-200-001e.pdf - 第155页
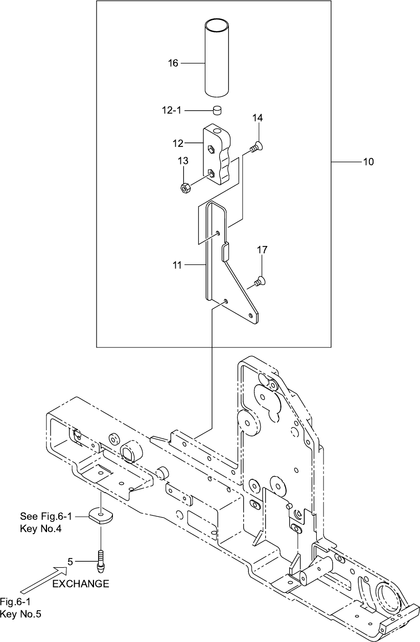
0108-002 16-6 ㇱຠ⇟ภ ㇱ ຠ ฬ ⠨ PART No. PART NAME REMARKS CT-3283HL 5 630 086 4830 PIN,LOCAT E 1 725HN-01B-003 10 630 086 5455 ASSY,BRACKET (TH-3283) 1 11 630 085 9607 BRACKET 1 725HN-01B-001 12 630 070 7601 BRACKET(GRIP) …

0108-002
TAG Assy㧔TIM-5000 ࠪ࠭㧕
TAG Assy(for TIM-5000 Series)
Fig. 16-6 32mm ࠹ࡊࡈࠖ࠳ FOR 32mm TAPE FEEDER
㧔☼⌕࠹ࡊ㧕↪ (for Adhesive Tape)
TH-3283 TH-3283

0108-002
16-6
ㇱຠ⇟ภ ㇱ ຠ ฬ ⠨
PART No. PART NAME REMARKS
CT-3283HL
5 630 086 4830 PIN,LOCATE 1 725HN-01B-003
10 630 086 5455 ASSY,BRACKET(TH-3283) 1
11 630 085 9607 BRACKET 1 725HN-01B-001
12 630 070 7601 BRACKET(GRIP) 1 725HN-01B-002
12 -1 630 085 1526 UNIT,I/O 1 725HN-01H-001
13 411 054 8506 NUT HEX 4 1 M4 F
14 411 113 4708 SCR FLT 4X10 1 M4X10 FLT
16 630 086 5523 TUBE,WIRING 1 725HN-01H-002
17 411 140 7208 SCR FLT 4X6 2 M4X6 FLT
ᵈᗧ
NOTE
⇟
ภ
Key No.
(BLUE)
BLUE
ᢙ㊂
Q'ty

0108-002
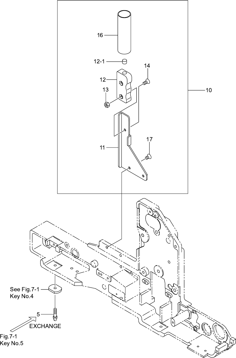
TAG Assy㧔TIM-5000 ࠪ࠭㧕
TAG Assy(for TIM-5000 Series)
Fig. 16-7
44mm ࠹ࡊࡈࠖ࠳↪
FOR 44mm TAPE FEEDER
TH-4450 TH-4450