P-200-001e.pdf - 第158页
0108-002 TAG Assy 㧔 TIM-5000 ࠪ࠭㧕 TAG Assy(for TIM-5000 Series) Fig. 16-8 56mm ࠹ࡊࡈࠖ࠳↪ FOR 56mm TAPE FEEDER TH-5650 TH-5650

0108-002
16-7
ㇱຠ⇟ภ ㇱ ຠ ฬ ⠨
PART No. PART NAME REMARKS
CT-4450HL
-12,16,20,24,28,32,36
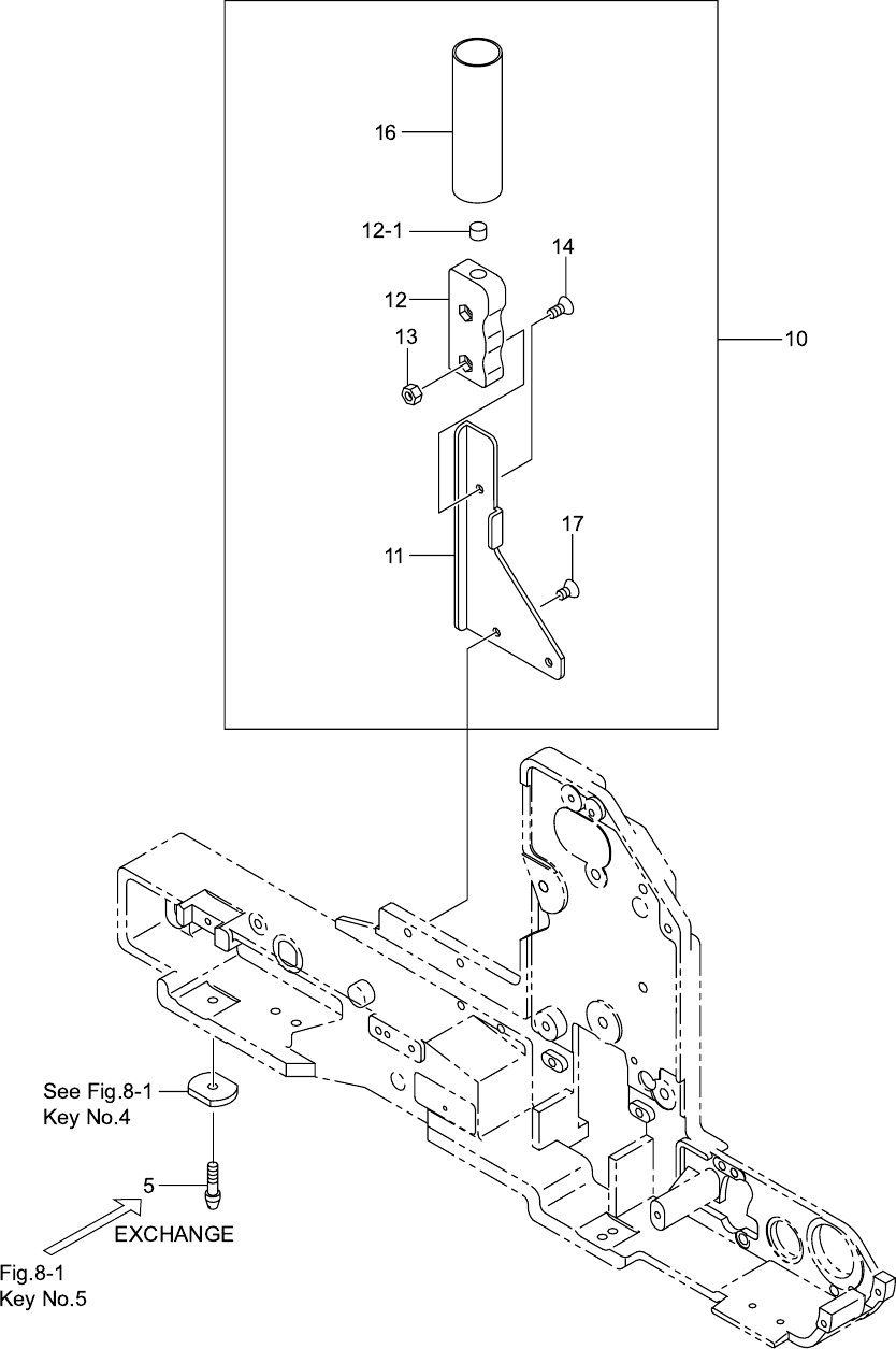
5 630 086 4830 PIN,LOCATE 582HQ-01B-003
10 630 091 0384 ASSY,BRACKET(TH-4450)
11 630 085 9607 BRACKET 582HQ-01B-001
12 630 070 7601 BRACKET(GRIP) 582HQ-01B-002
12 -1 630 085 1526 UNIT,I/O 582HQ-01H-001
13 411 054 8506 NUT HEX 4 M4 F
14 411 113 4708 SCR FLT 4X10 M4X10 FLT
16 630 086 5530 TUBE,WIRING 582HQ-01H-002
17 411 140 7208 SCR FLT 4X6 M4X6 FLT
1
1
1
1
1
1
1
1
⇟
ภ
Key No.
ᢙ㊂
Q'ty
(GRAY)
GRAY
ᵈᗧ
NOTE
2

0108-002
TAG Assy㧔TIM-5000 ࠪ࠭㧕
TAG Assy(for TIM-5000 Series)
Fig. 16-8
56mm ࠹ࡊࡈࠖ࠳↪
FOR 56mm TAPE FEEDER
TH-5650 TH-5650

0108-002
16-8
ㇱຠ⇟ภ ㇱ ຠ ฬ ⠨
PART No. PART NAME REMARKS
CT-5650HL
-12,16,20,24,28,32,36
5 630 086 4830 PIN,LOCATE 582HT-01B-003
10 630 091 0407 ASSY,BRACKET(TH-5650)
11 630 085 9607 BRACKET 582HT-01B-001
12 630 070 7601 BRACKET(GRIP) 582HT-01B-002
12 -1 630 085 1526 UNIT,I/O 582HT-01H-001
13 411 054 8506 NUT HEX 4 M4 F
14 411 113 4708 SCR FLT 4X10 M4X10 FLT
16 630 086 5530 TUBE,WIRING 582HT-01H-002
17 411 140 7208 SCR FLT 4X6 M4X6 FLT
1
1
1
1
1
1
1
1
⇟
ภ
Key No.
ᢙ㊂
Q'ty
(GRAY)
GRAY
ᵈᗧ
NOTE
2