P-200-001e.pdf - 第26页

0108-003 8mm ᏷࠹࡯ࡊࡈࠖ࡯࠳ 8mm TAPE FEEDER Fig. 1-3 ዊ࡝࡯࡞ࡎ࡞࠳ Small Reel Holder RL-0861S, 0851S RL-0861S, 0851S

100%1 / 166
0209-004
1-2
ㇱຠ⇟ภ
PART No. PART NAME REMARKS
CT-0853TS,TL
CT-0860TS,TL
CT-0861TS,TL
CT-0862TS,TL
CT-0880TS,TL,HS,HL
CT-0881TS,TL,HS,HL
CT-0882TS,TL,HS,HL
CT-0885TS,TL,HS,HL
CT-0886TS,TL,HS,HL
CT-0887TS,TL,HS,HL
CT-0888TS,TL,HS,HL
101
630 055 3208 LEVER(RATCHET CLICK) 2 2 22222222 725B--01B-016
101
630 039 3019 LEVER(RATCHET CLICK) 2 582E--01B-016
102
630 054 3650 SPRING,TORSION 2 2 22222222 725B--01B-054
102
630 010 6114 SPRING,TORSION 2 582E--01B-054
103 630 067 9960 PIN,LOCATE 2 2 22222222 725B--01B-053
103 630 037 9327 PIN,LOCATE 2 582E--01B-053
106 411 152 8101 SCR TRS 3X6 11111111111 725B--01H-003
107 630 039 5310 SPRING,TENSION 1111111111 725B--01B-055
107 630 042 6120 SPRING,TENSION 1 582E--01B-055
108 630 064 0090 SPRING,TENSION 1111111111 725B--01B-056
108 630 043 3364 SPRING,TENSION 1 582E--01B-056
111 630 064 9659 DISK(REEL DRIVE) 1111111111 725B--01B-042
111 630 039 3132 DISK(REEL DRIVE) 1 582E--01B-042
111 -1 630 065 7647 SPACER 1111111111 725B--01B-104
111 -2 630 010 5094 BEARING,RADIAL 2222222222 725B--01H-012
112 630 064 9673 PIN,LOCATE 1111111111 725B--01B-050
112 -1 630 042 6168 PIN,LOCATE 1 582E--01B-050
112 -2 630 036 0967 BOLT(FLT HEX-SCT) 1 582E--01H-003
114 630 098 3319 ASSY,DISK(REEL SOCKET) 1111111111
114 630 098 5313 ASSY,DISK(REEL SOCKET) 1
114 -1 630 071 1714 DISK(REEL SOCKET ASSY) 1111111111
114 -1 630 050 6891 DISK(ASSY REEL SOCKET) 1
114 -2 630 066 3693 SPRING,FLAT 1111111111 725B--02B-068
114 -2 630 039 3309 SPRING,FLAT 1 582E--01B-068
114 -3 630 037 3042 MACHINE SCREW 22222222222 725B--02H-002
Q'ty
ᢙ㊂
ᵈᗧ
NOTE
⷗಴⇟
Key No.
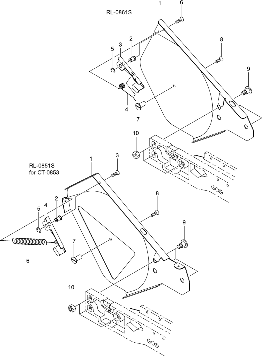
0108-003
8mm ᏷࠹࡯ࡊࡈࠖ࡯࠳ 8mm TAPE FEEDER
Fig. 1-3 ዊ࡝࡯࡞ࡎ࡞࠳ Small Reel Holder
RL-0861S, 0851S RL-0861S, 0851S
0108-004
1-3
ㇱຠ⇟ภ
PART No. PART NAME REMARKS
CT-0853S,TS
CT-0860S,TS
CT-0861S,TS
CT-0862S,TS
CT-0880S,PS,TS,HS
CT-0881S,PS,TS,HS
CT-0882S,PS,TS,HS
CT-0885S,PS,TS,HS
CT-0886S,PS,TS,HS
CT-0887S,PS,TS,HS
CT-0888S,PS,TS,HS
1 630 063 6451 FRAME 671BS-01B-001
2 630 039 3545 PIN,LOCATE 671BS-01B-004
3 630 055 1716 LEVER 671BS-01B-008
4 630 062 5202 SPRING,TORSION 671BS-01B-005
5 411 001 0201 RING E 5 671BS-01H-003
6 411 034 7208 SCR FLT 3X8 M3X8 FLT
7 630 061 2981 PIN,LOCATE 671BS-01B-006
8 411 034 7208 SCR FLT 3X8 M3X8 FLT
9 630 010 6534 BOLT(REEL HOLDER) 671BS-01B-007
10 411 004 6903 NUT HEX 6 M6-3 F
1 630 040 1745 FRAME 1 582BS-01B-001
2 630 039 3545 PIN,LOCATE 1 582BS-01B-004
3 630 036 0974 BOLT(FLT HEX-SCT) 1 582BS-01H-002
4 630 050 6235 LEVER(ASSY BRAKE) 1
5 411 001 0201 RING E 5 1 582BS-01H-003
6 630 039 3453 SPRING, TENSION 1 582BS-01B-005
7 630 039 3569 PIN, LOCATE 1 582BS-01B-006
8 630 036 0974 BOLT(FLT HEX-SCT) 1 582BS-01H-002
9 630 010 6534 BOLT(REEL HOLDER) 3 582BS-01B-007
10 411 004 6903 NUT HEX 6 3 M6-3F
ᢙ㊂
Q'ty
1
1
1
1
1
1
1
1
1
1
ᵈᗧ
NOTE
⷗಴⇟
Key No.