P-200-001e.pdf - 第46页
0108-004 12mm ࠹ࡊࡈࠖ࠳ 12mm TAPE FEEDER Fig. 2-6 TAG Assy TAG Assy TG-1252, 1260, 1261 TG-1252, 1260, 1261

0003-003
2-4
ㇱຠ⇟ภ ㇱ ຠ ฬ ⠨
PART No. PART NAME REMARKS
CT-1252L,PL
CT-1260L
CT-1261L
CT-1280L,PL
CT-1281L,PL
CT-1252TL,HL
CT-1260TL
CT-126TTL
CT-1280TL,HL
CT-1281TL,HL
1 630 050 0615 FRAME(RL1251LA SUB ASSY1)
2 630 044 1871 PIN,GUIDE(REEL BINDER) 582GL-01B-008
9 630 040 2124 BOLT,HEX-SCT(REEL HOLDER) 582GL-01B-009
10 411 004 6903 NUT HEX 6 M6-3 F
2
2
ᢙ㊂
Q'ty
1
1
⇟
ภ
Key No.
ᵈᗧ
NOTE

0108-004
12mm ࠹ࡊࡈࠖ࠳ 12mm TAPE FEEDER
Fig. 2-6 TAG Assy TAG Assy
TG-1252, 1260, 1261 TG-1252, 1260, 1261

0108-003
2-6
ㇱຠ⇟ภ ㇱ ຠ ฬ ⠨
PART No. PART NAME REMARKS
CT-1252TS,TL
CT-1260TS,TL
CT-1261TS,TL
CT-1280TS,TL
CT-1281TS,TL
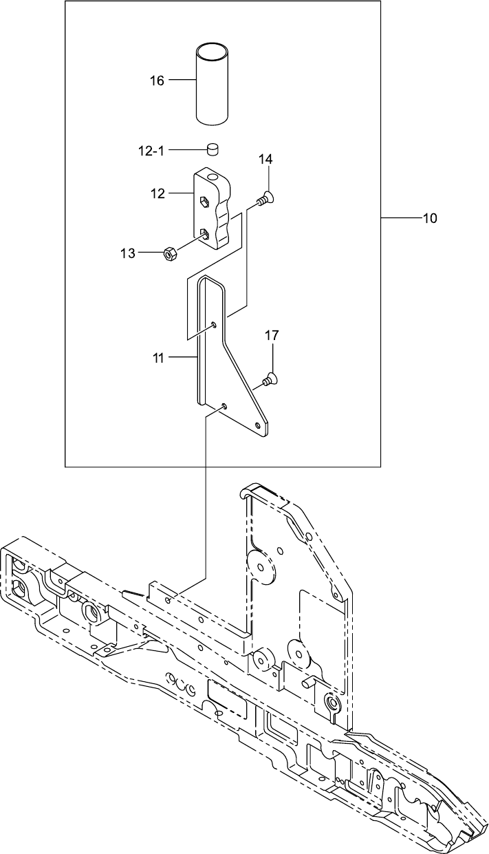
10 630 071 0601 ASSY,BRACKET(TG-1260) 1 1 (GRAY)
10 630 071 0618 ASSY,BRACKET(TG-1261) 1 1 (ORANGE)
10 630 071 0632 ASSY,BRACKET(TG-1252) 1 (GREEN)
11 630 054 4800 BRACKET 11111 671TG-01B-001
12 630 070 7601 BRACKET(GRIP) 11111 671TG-01B-002
12 -1 630 085 1526 UNIT,I/O 11111 671TG-01H-001
13 411 054 8506 NUT HEX 4 11111 M4 F
14 411 113 4708 SCR FLT 4X10 11111 M4X10 FLT
16 630 041 6206 TUBE,WIRING GRAY 1 1 671TG-01H-002
16 630 041 6237 TUBE,WIRING ORANGE 1 1 671TH-01H-002
16 630 041 6213 TUBE,WIRING GREEN 1 582TJ-01H-002
17 411 140 7208 SCR FLT 4X6 22222 M4X6 FLT
NOTE
ᢙ㊂
Q'ty
⇟
ภ
Key No.
ᵈᗧ