P-200-001e.pdf - 第49页

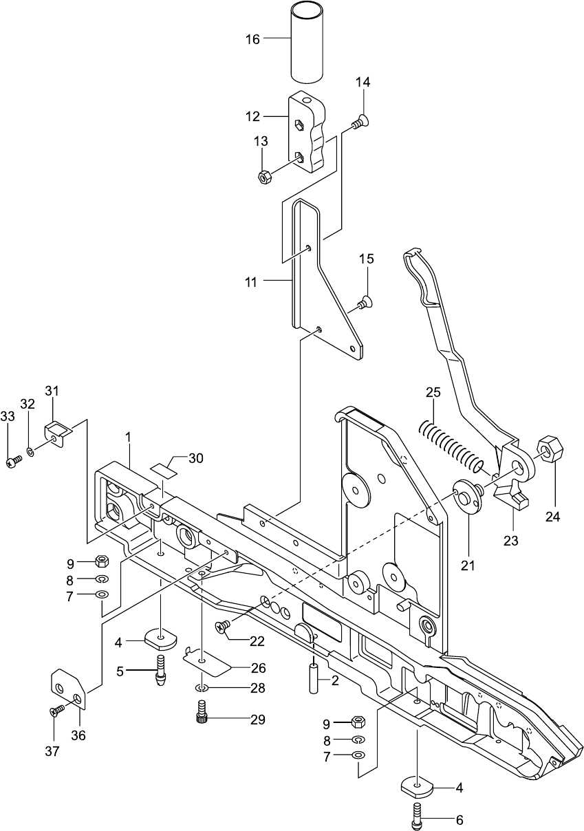
0108-004 3-1 ㇱຠ⇟ภ ㇱ ຠ ฬ ஻ ⠨ PART No. PART NAME REMARKS CT-1660L-04,08,12,16 CT-1680L,PL-04,08,12,16 CT-1660TL-04,08,12,16 CT-1680TL,HL-04,08,12,16 1 630 084 7352 FRAME(CASSET TE BODY) 1 1 725L--01B-001 1 630 060 8397 FRA…

100%1 / 166
0003-003
16mm ᏷࠹࡯ࡊࡈࠖ࡯࠳ 16mm TAPE FEEDER
Fig. 3-1 ࠞ࠮࠶࠻ࡏ࠺ࠖㇱ Cassette Body Section
0108-004
3-1
ㇱຠ⇟ภ
PART No. PART NAME REMARKS
CT-1660L-04,08,12,16
CT-1680L,PL-04,08,12,16
CT-1660TL-04,08,12,16
CT-1680TL,HL-04,08,12,16
1 630 084 7352 FRAME(CASSETTE BODY) 1 1 725L--01B-001
1 630 060 8397 FRAME(CASSETTE BODY) 1 1 671L--01B-001
2 630 037 0294 PIN,LOCATE 1111 671L--01H-003
4 630 039 3002 PLATE 2222 671L--01B-070
5 630 039 3200 PIN,LOCATE 1111 671L--01B-072
6 630 039 3187 PIN,LOCATE 1111 671L--01B-071
7 411 141 4008 WASHER V 4X9X0.8 2222 FW4
8 411 141 2905 WASHER SPR 4 2222 SW4
9 411 141 0307 NUT HEX 4 2222 M4
11 630 054 4800 BRACKET 1 1 671L--01B-003
12 630 070 7601 BRACKET(GRIP) 1 1 671L--01B-004
13 411 054 8506 NUT HEX 4 1 1 M4 F
14 411 113 4708 SCR FLT 4X10 1 1 M4X10 FLT
15 411 140 7208 SCR FLT 4X6 2 2 M4X6 FLT
16 630 041 6213 TUBE,WIRING 1 1 671L--01H-009
21 630 060 3613 PIN,LOCATE 1111 671L--01B-005
22 411 140 7208 SCR FLT 4X6 2222 M4X6 FLT
23 630 037 0393 LEVER(LOCATE) 1111 671L--01B-041
24 630 000 9859 NUT,HEX 1111 671L--01H-001
25 630 010 5957 SPRING,COMP 1111 671L--01B-076
26 630 039 3217 PLATE 1111 671L--01B-051
28 411 141 2905 WASHER SPR 4 1111 SW4
29 630 000 7602 BOLT,HEX-SCT 1111 M4X6
30 630 037 2502 ACCESSORY,LIGHT 1111 671L--01H-010
31 630 039 4085 PLATE 1111 671L--01B-058
32 411 086 4408 WASHER SPR 3 1111 SW3 F
33 411 041 8908 SCR PAN 3X6 1111 M3X6 PAN
36
630 037 0423 PLATE 1111 671L--01B-045
37
411 034 7208 SCR FLT 3X8 2222 M3X8 FLT
GREEN
ᵈᗧ
NOTE
ᢙ㊂
Q'ty
⷗಴⇟
Key No.
0108-004
16mm ᏷࠹࡯ࡊࡈࠖ࡯࠳ 16mm TAPE FEEDER
Fig. 3-2 ࠹࡯ࡊ㚟േㇱ Tape Driving Section
103-1
101
102
114-1
11 3
11 2
104
G
A
92
91
111-1
111
111-2
98
97
96
G
82
81
81-1
80
108
106
107
105
F
114-3
114-2
103
101
102
93
83
67
68
69
73
52
16
17
37
B
56
57
58
59
36
35
34
21
22
20
19
18
38
39
40
33
27
26
32
31
30
29
28
51
48
49
B
47
50
76
77
78
66
65
64
63
71-1
71-2
71
72-2
72-1
72
A
F
114