P-200-001e.pdf - 第58页
0003-003 24mm ࠹ࡊࡈࠖ࠳ 24mm TAPE FEEDER Fig. 4-1 ࠞ࠶࠻ࡏ࠺ࠖㇱ Cassette Body Section

0108-003
3-6
ㇱຠ⇟ภ ㇱ ຠ ฬ ⠨
PART No. PART NAME REMARKS
CT-1660TL-04,08,12,16
CT-1680TL-04,08,12,16
10 630 071 0649 ASSY,BRACKET(TG-1660) 1 1
11 630 054 4800 BRACKET 1 1 671TL-01B-001
12 630 070 7601 BRACKET(GRIP) 1 1 671TL-01B-002
12 -1 630 085 1526 UNIT,I/O 1 1 671TL-01H-001
13 411 054 8506 NUT HEX 4 1 1 M4 F
14 411 113 4708 SCR FLT 4X10 1 1 M4X10 FLT
16 630 041 6213 TUBE,WIRING 1 1 671TL-01H-002
17 411 140 7208 SCR FLT 4X6 2 2 M4X6 FLT
ᢙ㊂
Q'ty
⇟
ภ
Key No.
(GREEN)
GREEN
ᵈᗧ
NOTE

0003-003
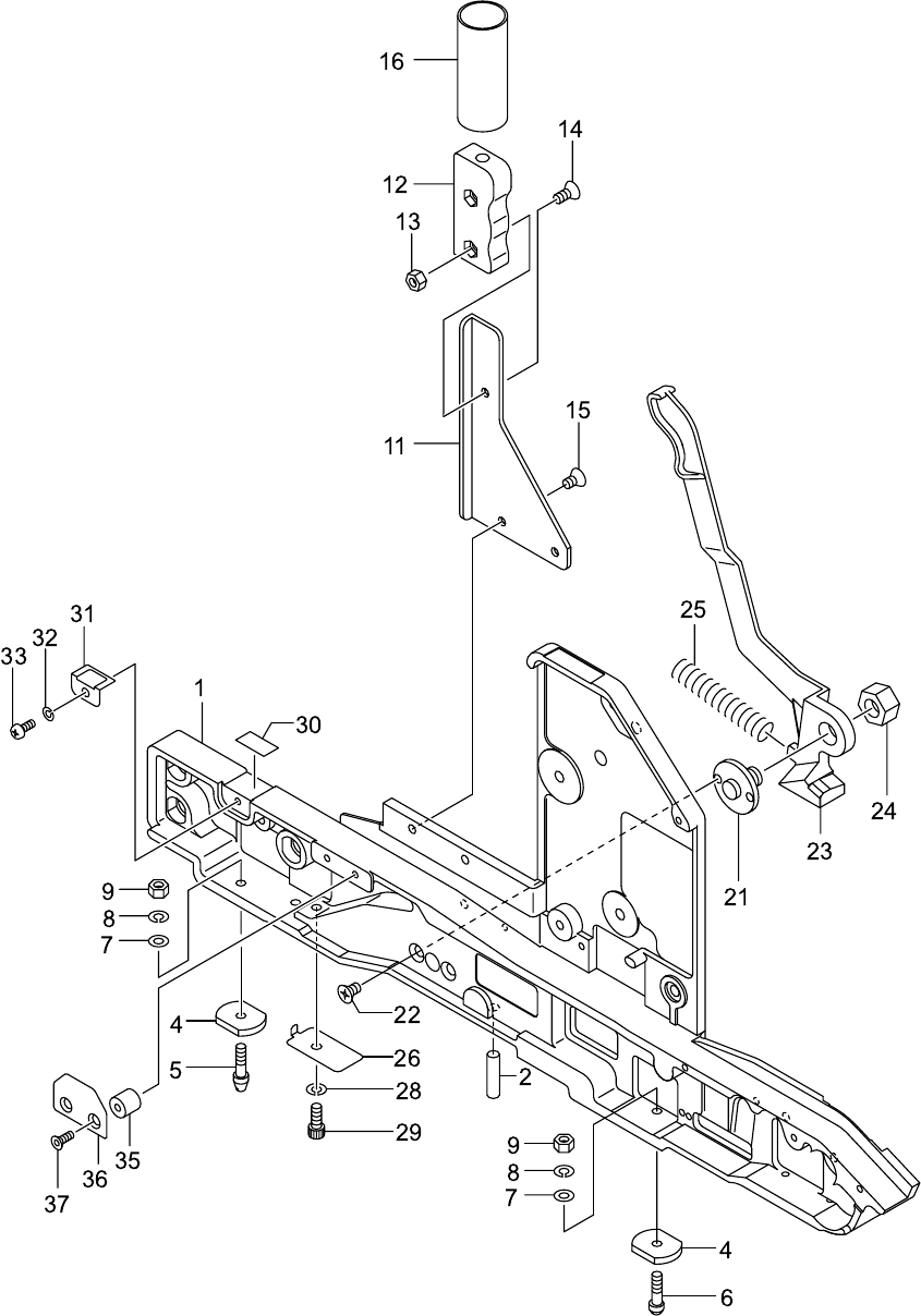
24mm ࠹ࡊࡈࠖ࠳ 24mm TAPE FEEDER
Fig. 4-1 ࠞ࠶࠻ࡏ࠺ࠖㇱ Cassette Body Section

0108-004
4-1
ㇱຠ⇟ภ ㇱ ຠ ฬ ⠨
PART No. PART NAME REMARKS
CT-2460L-08,12,16
CT-2461L-20,24
CT-2480L,PL-08,12,16
CT-2481L,PL-20,24
CT-2460TL-08,12,16
CT-2461TL-20,24
CT-2480TL,HL-08,12,16
CT-2481TL,HL-20,24
1 630 084 7369 FRAME(CASSETTE BODY) 1 1 725P--01B-001
1 630 084 7376 FRAME(CASSETTE BODY) 1 1 725K--01B-001
1 630 060 9233 FRAME(CASSETTE BODY) 1 1 671P--01B-001
1 630 061 6040 FRAME(CASSETTE BODY) 1 1 671K--01B-001
2 630 037 0294 PIN,LOCATE 11111111 671P--01H-003
4 630 039 3002 PLATE 22222222 671P--01B-070
5 630 039 3200 PIN,LOCATE 11111111 671P--01B-072
6 630 039 3187 PIN,LOCATE 11111111 671P--01B-071
7 411 141 4008 WASHER V 4X9X0.8 22222222 FW4
8 411 141 2905 WASHER SPR 4 22222222 SW4
9 411 141 0307 NUT HEX 4 11111111 M4
11 630 054 4800 BRACKET 1111 671P--01B-003
12 630 070 7601 BRACKET(GRIP) 1111 671P--01B-004
13 411 054 8506 NUT HEX 4 1111 M4 F
14 411 113 4708 SCR FLT 4X10 1111 M4X10 FLT
15 411 140 7208 SCR FLT 4X6 2222 M4X6 FLT
16 630 039 7079 TUBE,WIRING 1 1 671P--01H-009
16 630 041 6237 TUBE,WIRING 1 1 671K--01H-009
21 630 060 3613 PIN,LOCATE 11111111 671P--01B-005
22 411 140 7208 SCR FLT 4X6 22222222 M4X6 FLT
23 630 039 4689 LEVER(LOCATE) 11111111 671P--01B-041
24 630 000 9859 NUT,HEX 11111111 671P--01H-001
25 630 010 5957 SPRING,COMP 11111111 671P--01B-076
26 630 039 3217 PLATE 11111111 671P--01B-051
28 411 141 2905 WASHER SPR 4 11111111 SW4
29 630 000 7602 BOLT,HEX-SCT 11111111 M4X6
30 630 037 2502 ACCESSORY,LIGHT 11111111 671P--01H-010
31 630 039 4085 PLATE 11111111 671P--01B-058
32 411 086 4408 WASHER SPR 3 11111111 SW3 F
33 411 041 8908 SCR PAN 3X6 11111111 M3X6 PAN
35
630 039 4771 SPACER 22222222 671P--01B-092
36
630 037 0423 PLATE 11111111 671P--01B-045
37
630 037 5695 BOLT(FLT HEX-SCT) 22222222 671P--01H-017
ᢙ㊂
Q'ty
⇟
ภ
Key No.
YELLOW
ORANGE
ᵈᗧ
NOTE