2OM-1434-004_w.pdf - 第277页
4-1 10 0710-001 6.5 其他教示 6.5.6 Fly 识别照相机补正值 求取元件识别照相机上停止摄像时和 Fly 识别摄像时的偏离量 ( 伺服 放大器和闸门的迟延时间、图像偏离的影响为主 ),补正摄像定时的偏 离。 是在迟延的影响下,使元件不偏离视野的补正值数据。 (1) 在 “ 教示 ” 子菜单栏中,按 [ 其他 ] 按钮, 便弹出显示其他教示机 能菜单栏。 (2) 按弹出菜单栏中的 [Fly 识别照相机补正值 ] 按…

4-1090710-001
6.5 其他教示
•
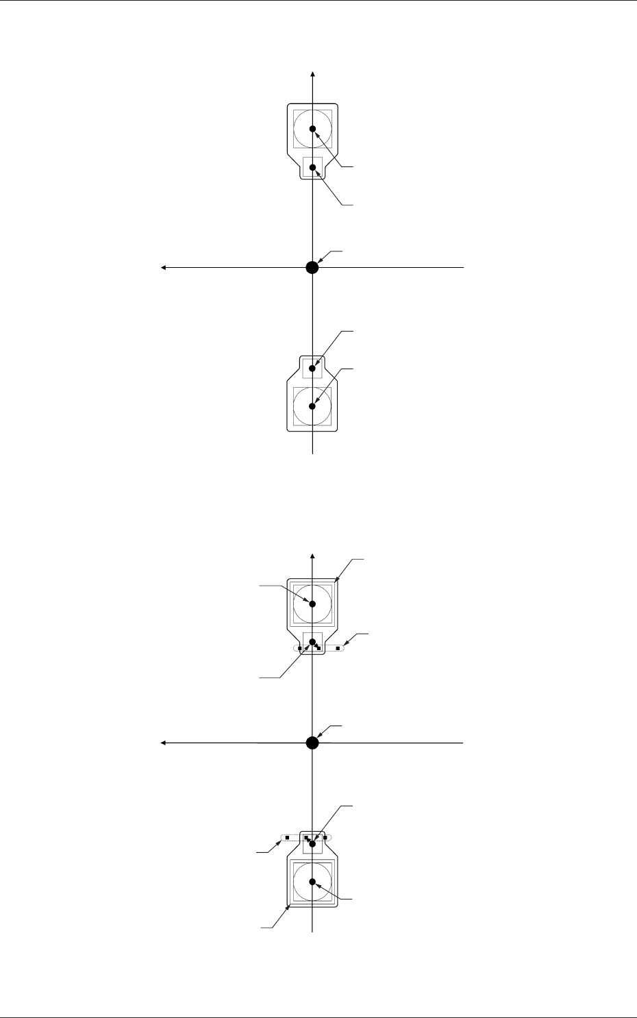
安装头旋转中心补正值
Ym(+)
Xm(+)
Fig.2D50-1
•
基准标记补正值
Ym(+)
Xm(+)
Fig.2D50-2
安装头旋转中心
线路板识别照相机中心
Pm: 装置基准坐标原点
安装头旋转中心
安装头旋转中心
Xm-Ym: 装置基准坐标系
线路板识别照相机中心
安装头旋转中心
线路板识别照相机中心
Xm-Ym: 装置基准坐标系
线路板识别照相机中心
Pm: 装置基准坐标原点
元件识别照相机
元件识别照相机
基准记号
基准记号

4-1100710-001
6.5 其他教示
6.5.6 Fly 识别照相机补正值
求取元件识别照相机上停止摄像时和 Fly 识别摄像时的偏离量 ( 伺服
放大器和闸门的迟延时间、图像偏离的影响为主 ),补正摄像定时的偏
离。
是在迟延的影响下,使元件不偏离视野的补正值数据。
(1) 在
“
教示
”
子菜单栏中,按 [ 其他 ] 按钮,便弹出显示其他教示机
能菜单栏。
(2) 按弹出菜单栏中的 [Fly 识别照相机补正值 ] 按钮。
[1] [2]
[3]
[4]
Fig.2D51
“
Fly 识别照相机补正值
”
界面
[1] 照相机选择按钮
用图像显示表示照相机位置的按钮。
选择进行教示的照相机。
[2]
“
Fly 识别照相机补正值
”
显示部
对各照相机 (1、2),显示 X 横 (mm)、Y 纵 (mm) 的补正值数据。
实行前 : 进行教示前的值。
实行后 : 进行教示后的结果。

4-1110710-001
6.5 其他教示
[3]
“
Fly 识别照相机补正值确认
”
显示部
对各照相机 (1、2),显示 X 横 (mm)、Y 纵 (mm) 的停止时和动作时
及其差。
[4] 操作按钮
[ 实行教示 ] 按钮
执行教示。
[ 速度减速指定 ] 按钮
指定 Fly 识别照相机的速度数据。
按 [ 速度减速指定 ] 按钮,便显示
“
速度减速指定
”
输入界面。
[ 确认实行 ] 按钮
确认教示结果。