5M-1752-003w_G5S - 第105页
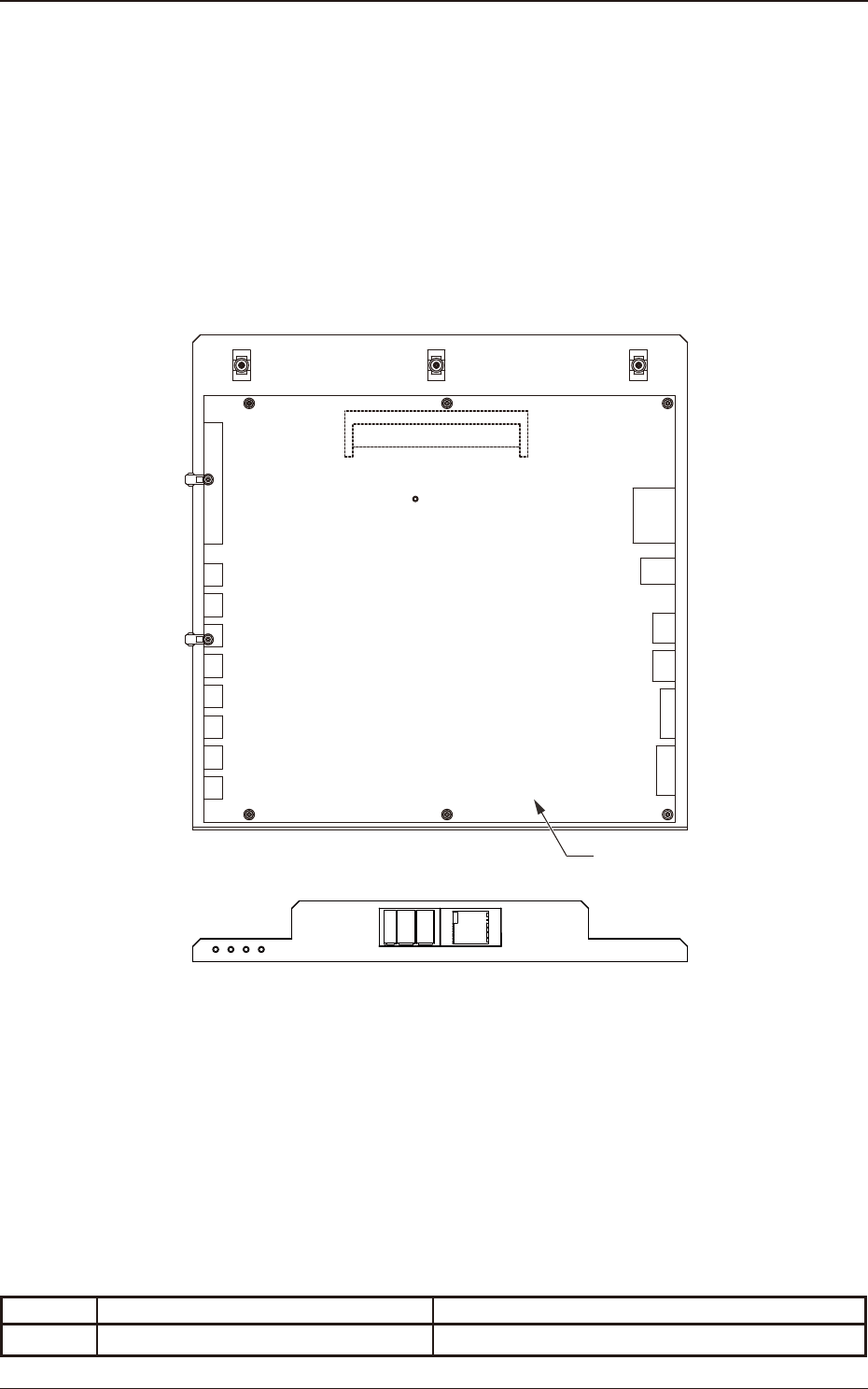
3-6 元件配置图 5OM-1752 1306-002 LED 灯控制线路板 CON1 CON2 CON3 CON4 CON5 CON6 CON7 CON8 CN5 CN1 CN8 CN7 CN3 CN2 CN6 CON10 A21F X(B2) ADD:3 A22F Y1(B2) ADD:4 A23F Y2(B2) ADD:5 U95 Lighting Ctrl PCB U95 Symbol Name Remarks U95 LED …

3-5
元件配置图
5OM-1752
1306-002
噪音滤波器面板
Z1
Z2
Symbol Name Remarks
Z1 FILTER-NOISE 1
Z2 FILTER-NOISE 2

3-6
元件配置图
5OM-1752
1306-002
LED 灯控制线路板
CON1
CON2
CON3
CON4
CON5
CON6
CON7
CON8
CN5
CN1
CN8
CN7
CN3
CN2
CN6
CON10
A21F
X(B2)
ADD:3
A22F
Y1(B2)
ADD:4
A23F
Y2(B2)
ADD:5
U95
Lighting Ctrl
PCB
U95
Symbol Name Remarks
U95 LED Light Control PCB Model UC19

3-7
元件配置图
5OM-1752
1306-002
XY 马达放大器单元 ( 前侧 )
X-Axis Y2-AxisY1-Axis
A21F A22F A23F
Symbol Name Remarks
A21F
X1(Eront) axis Servo Motor Amplier
A22F
Y1(Eront) axis Linear Motor Amplier
A23F
Y2(Eront) axis Linear Motor Amplier