RHS2B_维修手册(I O表) - 第36页
RHS2B 维修手册 3.2 连接 电源 3.2 - 2 DA4MC P – 1 1 – 020 – A 0 连接程序 连接电缆时,必 须遵循以下程序 : 1. 关掉配电 盘的开关。 2. 通过三芯电缆和 单芯接地保护电 缆将配电盘接到主 开关的输入端子 。 必须连接保护接 地( PE ) 。 图 3.2-3: 连 接开关柜面 板和主开关之间的电 缆 = 备注 = 在接通主开关前 ,使用相探测器 检查三相电源的相 序是否为 L1 、 L…

RHS2B
维修手册
3.2 连接电源
DA4MCP – 11 – 020 – A0 3.2 - 1
3.2 连接电源
章节管理编号:DA4MCP – 11 – 020 – A0
3.2.1 连接电缆
在机器的安装过程中,应使用电缆将电源和插件机连接起来。下面是电源输入电路的示意图。
按照图标进行配电盘、主开关和插件机的连接。
To be provided by the
user.
Cables come with the machine
Distribution
panel
Main switch
Machine
Power source unit
Transformer
图 1.1-1: 连接电缆
图 1 1-2 固定电缆和接地线
= 备注 =
机器的电源为三相 AC 200V 5kVA。将电缆与主开关相连时,应注意满足配电盘安装要求。
随机器一起供应的电缆
配电盘
主开关
机器(电源,变压器)
Power supply cable
ground wire
Wire must be fixed
电源电缆接地线
线必须固定
由用户提供的电缆

RHS2B
维修手册
3.2 连接电源
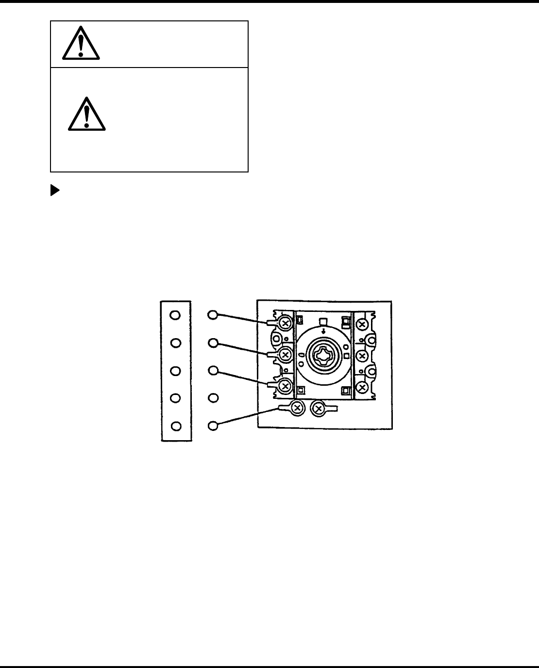
3.2 - 2 DA4MCP – 11 – 020 – A0
连接程序
连接电缆时,必须遵循以下程序:
1. 关掉配电盘的开关。
2. 通过三芯电缆和单芯接地保护电缆将配电盘接到主开关的输入端子。
必须连接保护接地(PE)。
图 3.2-3: 连接开关柜面板和主开关之间的电缆
= 备注 =
在接通主开关前,使用相探测器检查三相电源的相序是否为L1、L2 和 L3。在相反的相序下接通电源
可能会损坏真空泵。
L1
L2
L3
N
PE
PE PE
L1
L2
L3
T1
T2
T3
Distribution panel Main switch
配
电盘 主
开关
警告
务必使用合适容量的电缆 。
使用不合适的容量可能导致电
击和火灾
E

RHS2B
维修手册
3.2 连接电源
DA4MCP – 11 – 020 – A0 3.2 - 3
图 3.2-4: 接地保护(PE)电缆
= 备注 =
操作指南必须符合国家要求。
警告
接地电缆应比其他电缆长。
不适当的电缆可能会导致电
击。
L1
L3
PE
L2
Cable gland
10 - 15 mm
电缆密封套