P-259-003e - 第21页
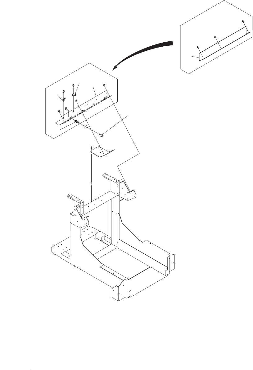
G -S161-01 1012-003 19 Key No. P AR T No. P AR T NAME Q’ty REMARKS New Code NOTE 1 6301268026 COVER 1→0 803EB-210-101 21 1A8638 71 6301498591 COVER 1 803EBA210310-101 21 1AB177 81. 6300816334 PIPE FITTINGS 1 803EBA210310…

G -S161-01
0909-002
18
71
83
82
81
1
FX-G200
See Fig.FX-3
Key No.218
EXCHANGE
エア分岐配管追加
Additional Piping to Branch Air
G -S161-01 G -S161-01
Fig. EB-1
フィーダカート部 - フレーム部
Feeder Cart Section-Frame Section

G -S161-01
1012-003
19
Key No. PART No. PART NAME Q’ty REMARKS New Code
NOTE
1 6301268026 COVER 1→0 803EB-210-101 211A8638
71 6301498591 COVER 1
803EBA210310-101
211AB177
81. 6300816334 PIPE FITTINGS 1
803EBA210310-A001
225F0353
82 6300037661 PIPE FITTINGS 1
803EBA210310-A002
225F0055
83 6300092400 PIPE FITTINGS 1
803EBA210310-A003
225F0183
EB-1

G -S161-02
0909-002
20
71
11
83
82
81
FX-G200
See Fig.FX-3
Key No.218
EXCHANGE
エア分岐配管追加
Additional Piping to Branch Air
G -S161-02 G -S161-02
Fig. EC-1
フィーダカート部 - フレーム部
Feeder Cart Section-Frame Section