NPM-W2[201504] - 第614页
125 基板下受けブロックデュアル(デュアル対応):NPM-W Board Support Block Dual(fot Dual):NPM -W パーツレイアウト Kit No. キット 品番 Kit Name キット名称 N610134595AB セクションNo. PARTS LAYOUT Section No. - - O413 ( KN610134595AB-02 )

Ref
No.
Remarks R
1
Q'ty
124-C
基板ホルダデュアル対応:NPM-W2
Board Holder For Dual:NPM-W2
イラスト
No.
Part No.
品 名品 番 数量
R
2
パーツリスト
Kit No.
キット品番
Kit Name
キット名称
N610164025AA
Part Name
備 考
セクションNo.
PARTS LIST
Section No.
R
3
BRACKET
4
1 MTPB000908AA
COVER
8
2 N210147082AA
BRACKET
4
3 N210097322AA
COVER
4
4 N210152386AB
BRACKET
4
5 N210134081AA
BRACKET
4
6 N210159012AA
JOINT
4
7 N510066749AA KQ2E06-00NJ
VALVE
4
8 KXF0BV4AA00 SYJ514R-5LOZ-01
JOINT
4
9 N510066461AA KQ2L06-M5A
SPEED-CONTROLLER
4
10 KXF09WUAA00 ASD330F-01-06S
VALVE
4
11 N510054589AA 4GA130-M5-A2N-FL424713-3
SPEED-CONTROLLER
8
12 KXF00YVAA00 AS1211F-M5-06
SILENCER
8
13 KXF0BB2AA00 SLM-M5
JOINT
4
14 N431GWL6M5 GWL6-M5
JOINT
4
15 N510066456AA KQ2U06-00A
JOINT
4
16 N510066452AA KQ2U06-99A
O412
--
( KN610164025AA-03-3 )

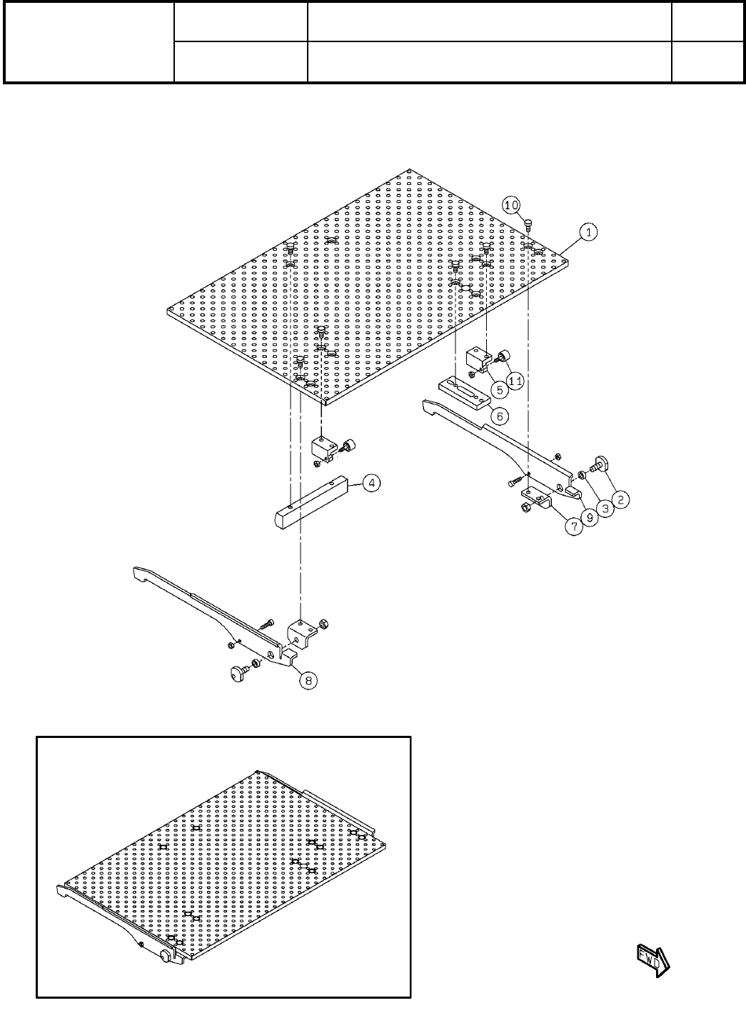
125
基板下受けブロックデュアル(デュアル対応):NPM-W
Board Support Block Dual(fot Dual):NPM-W
パーツレイアウト
Kit No.
キット品番
Kit Name
キット名称
N610134595AB
セクションNo.
PARTS LAYOUT
Section No.
--
O413
( KN610134595AB-02 )

Ref
No.
Remarks R
1
Q'ty
125
基板下受けブロックデュアル(デュアル対応):NPM-W
Board Support Block Dual(fot Dual):NPM-W
イラスト
No.
Part No.
品 名品 番 数量
R
2
パーツリスト
Kit No.
キット品番
Kit Name
キット名称
N610134595AB
Part Name
備 考
セクションNo.
PARTS LIST
Section No.
R
3
PLATE
1
1 N210166972AA
PIN
2
2 N210161075AA
COLLAR
2
3 N210156596AA
BRACKET
1
4 N210169130AA
BRACKET
2
5 N210161077AA
BLOCK
1
6 N210165840AC
BRACKET
2
7 N210156599AA
LEVER
1
8 N210161078AB
LEVER
1
9 N210161079AB
BOLT
12
10 N510067773AA Low Head Cap Screw M4X8-8.8 A2J(Trivalent)
CAM-FOLLOWER
2
11 KXF00BFAA00 CF3UU-A
O414
--
( KN610134595AB-02 )