NPM-W2[201504] - 第617页
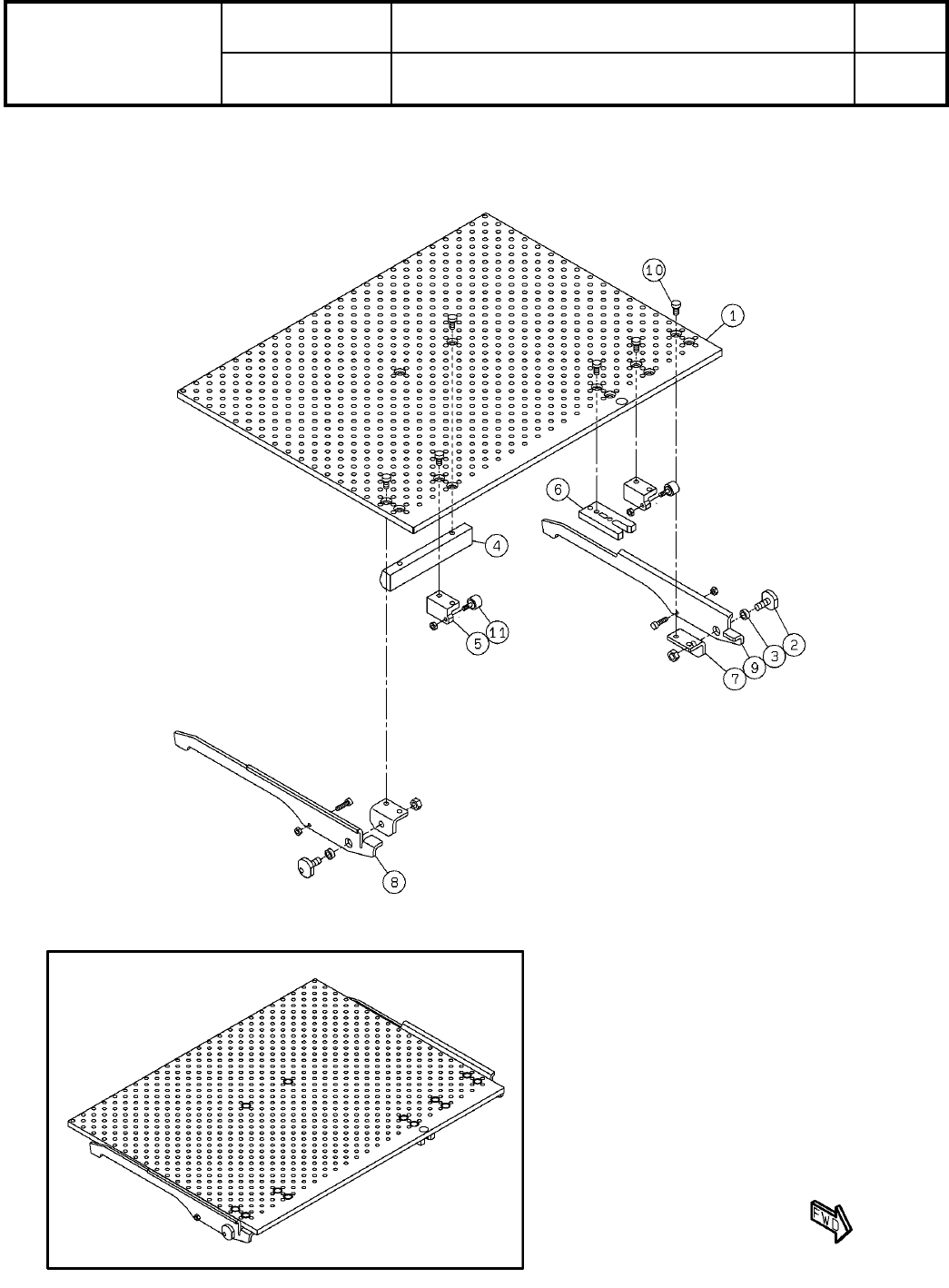
Ref No. Remarks R 1 Q'ty 126 基板下受けブロックデュアル(シングル対応):NPM-W Board Support Block Dual(for Single):NPM -W イラスト No. Part No. 品 名 品 番 数量 R 2 パーツリスト Kit No. キット品番 Kit Name キット名称 N610134594AB Part Nam e 備 考 セク ショ ンNo . PARTS…

126
基板下受けブロックデュアル(シングル対応):NPM-W
Board Support Block Dual(for Single):NPM-W
パーツレイアウト
Kit No.
キット品番
Kit Name
キット名称
N610134594AB
セクションNo.
PARTS LAYOUT
Section No.
--
O415
( KN610134594AB-01 )

Ref
No.
Remarks R
1
Q'ty
126
基板下受けブロックデュアル(シングル対応):NPM-W
Board Support Block Dual(for Single):NPM-W
イラスト
No.
Part No.
品 名品 番 数量
R
2
パーツリスト
Kit No.
キット品番
Kit Name
キット名称
N610134594AB
Part Name
備 考
セクションNo.
PARTS LIST
Section No.
R
3
PLATE
1
1 N210166824AA
PIN
2
2 N210161075AA
COLLAR
2
3 N210156596AA
BRACKET
1
4 N210169130AA
BRACKET
2
5 N210161077AA
BLOCK
1
6 N210166704AA
BRACKET
2
7 N210156599AA
LEVER
1
8 N210161078AB
LEVER
1
9 N210161079AB
BOLT
12
10 N510067773AA Low Head Cap Screw M4X8-8.8 A2J(Trivalent)
CAM-FOLLOWER
2
11 KXF00BFAA00 CF3UU-A
O416
--
( KN610134594AB-01 )

127-A
延長コンベア(デュアル):NPM-W2
Extension Conveyor(Dual):NPM-W2
パーツレイアウト
Kit No.
キット品番
Kit Name
キット名称
MTKA001470AA
セクションNo.
PARTS LAYOUT
Section No.
--
O417
( KMTKA001470AA-02-1 )