NPM-W2[201504] - 第69页
Ref No. Remarks R 1 Q'ty 14 XY軸R側配線:NPM-W2 XY -Ax is Rear Side W iring:NPM-W 2 イラスト No. Part No. 品 名 品 番 数量 R 2 パーツリスト Kit No. キット品番 Kit Name キット名称 N610163823AA Part Nam e 備 考 セク ショ ンNo . PARTS LIST Section No. R 3 …

14
XY軸R側配線:NPM-W2
XY-Axis Rear Side Wiring:NPM-W2
パーツレイアウト
Kit No.
キット品番
Kit Name
キット名称
N610163823AA
セクションNo.
PARTS LAYOUT
Section No.
--
S45
( KN610163823AA-04 )

Ref
No.
Remarks R
1
Q'ty
14
XY軸R側配線:NPM-W2
XY-Axis Rear Side Wiring:NPM-W2
イラスト
No.
Part No.
品 名品 番 数量
R
2
パーツリスト
Kit No.
キット品番
Kit Name
キット名称
N610163823AA
Part Name
備 考
セクションNo.
PARTS LIST
Section No.
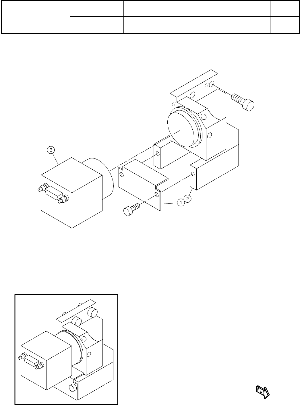
R
3
CABLE-VEYOR
1
1 N510056967AA TKR0200W50R55-TKX32LINKS PIA PKA
CABLE-VEYOR
1
2 N510057769AA TKR0200W60R55-TKX44LINKS PIU PKA
CABLE-SUPPORT
4
3 N210142601AA
CABLE-SUPPORT
4
4 N210142695AA
S46
--
( KN610163823AA-04 )

15
ヘッドカメラ:NPM
Head Camera:NPM
パーツレイアウト
Kit No.
キット品番
Kit Name
キット名称
N610041187AA
セクションNo.
PARTS LAYOUT
Section No.
--
S47
( KN610041187AA-06 )