NPM-W2[201504].pdf - 第99页
Ref No. Remarks R 1 Q'ty 22 全体カバー制御:NPM-W W hole Cover (H):NPM-W イラスト No. Part No. 品 名 品 番 数量 R 2 パーツリスト Kit No. キット品番 Kit Name キット名称 N610117727AA Part Nam e 備 考 セク ショ ンNo . PARTS LIST Section No. R 3 SW ITCH 2 1 N5…

22
全体カバー制御:NPM-W
Whole Cover (H):NPM-W
パーツレイアウト
Kit No.
キット品番
Kit Name
キット名称
N610117727AA
セクションNo.
PARTS LAYOUT
Section No.
--
S75
( KN610117727AA-03A )

Ref
No.
Remarks R
1
Q'ty
22
全体カバー制御:NPM-W
Whole Cover (H):NPM-W
イラスト
No.
Part No.
品 名品 番 数量
R
2
パーツリスト
Kit No.
キット品番
Kit Name
キット名称
N610117727AA
Part Name
備 考
セクションNo.
PARTS LIST
Section No.
R
3
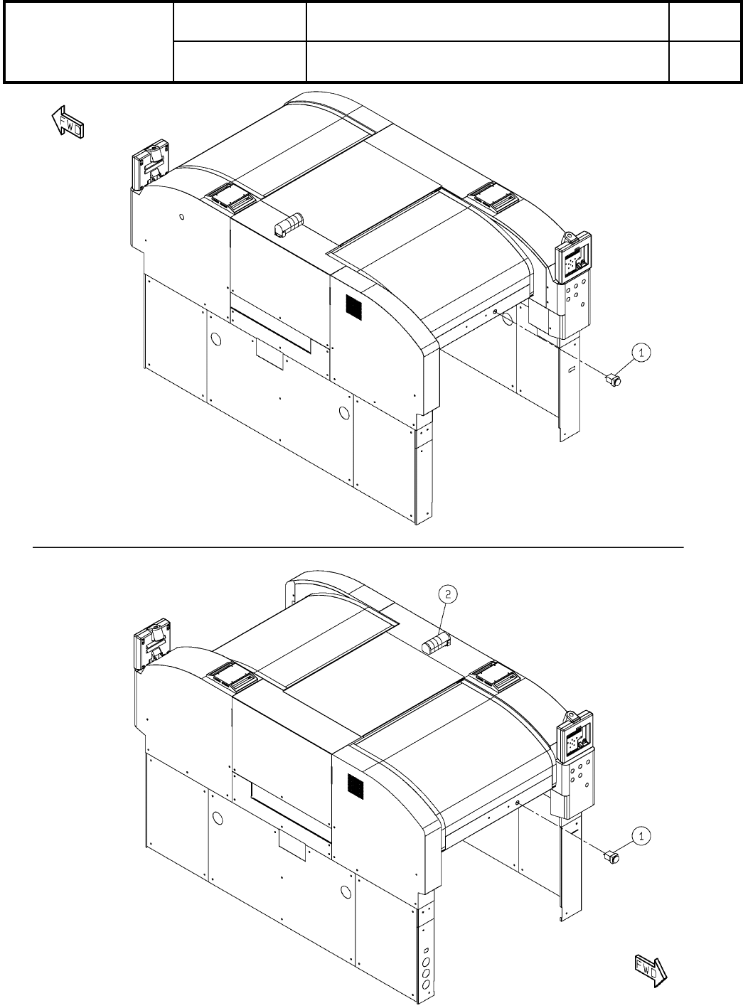
SWITCH
2
1 N510055099AA LW6L-M1C13VG-BC-TK2504-A
SIGNAL-TOWER
1
2 N510036333AB LPUKB-24W-3
S76
--
( KN610117727AA-03A )

23-A
付属品(共通):NPM-W2
Attachment:NPM-W2
パーツレイアウト
Kit No.
キット品番
Kit Name
キット名称
MTKP001913AA
セクションNo.
PARTS LAYOUT
Section No.
--
S77
( KMTKP001913AA-00-1 )