NPM-W.pdf - 第91页
Ref No. Remark s R 1 Q'ty 18 銘板・警告ラベル(フィーダテーブルカバー)Front側:NPM-W Label(Feeder Table Cover)Front:N PM-W イラスト No. Part No. 品 名 品番 数量 R 2 パーツリスト Kit N o . キット品 番 Kit Name キット名称 N610121860AA Part Nam e 備 考 セクションNo. PARTS …

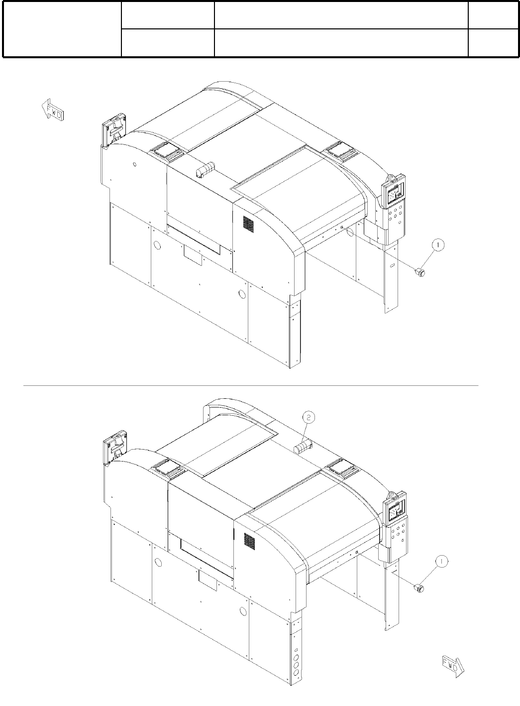
18
銘板・警告ラベル(フィーダテーブルカバー)Front側:NPM-W
Label(Feeder Table Cover)Front:NPM-W
パーツレイアウト
Ki
t
N
o
.
キット
品番
Kit Name
キット名称
N610121860AA
セクションNo.
PARTS LAYOUT
Section No.
--
S67
( KN610121860AA-03 )

Ref
No.
Remarks
R
1
Q'ty
18
銘板・警告ラベル(フィーダテーブルカバー)Front側:NPM-W
Label(Feeder Table Cover)Front:NPM-W
イラスト
No.
Part No.
品 名品番 数量
R
2
パーツリスト
Kit N
o
.
キット品
番
Kit Name
キット名称
N610121860AA
Part Name
備 考
セクションNo.
PARTS LIST
Section No.
R
3
LABEL
1
1 KXF0E061A00
S
PD0101M1(Drawing available KXF0E061A00)
LABEL
1
2 N510040898AA
S
PC013901
S68
--
( KN610121860AA-03 )

19
全
体
カバー制
御
:NPM-W
Whole Cover (H):NPM-W
パーツレイアウト
Ki
t
N
o
.
キット
品番
Kit Name
キット名称
N610117727AA
セクションNo.
PARTS LAYOUT
Section No.
--
S69
( KN610117727AA-03 )