Version 2_20211124_022349 - 第5页
Version 2 Page 5 / 5 24.11.2021 Pos. Item no. Description Part marking 1 03052911-02 CONTAINER 2 03045426-02 INTERSECTION 3 03052929-02 CONTAINER TOP PART COMPL. 4 03047787-02 CONTAINER TOP PART WELDED 5 00334073-01 MUSH…

Version 2
Page 3 / 5 24.11.2021

Version 2
Page 4 / 5 24.11.2021

Version 2
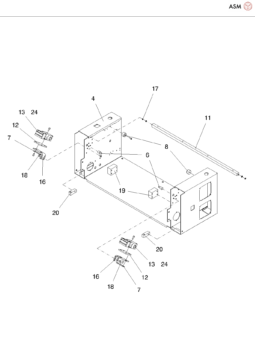
Page 5 / 5 24.11.2021
Pos. Item no. Description Part marking
1 03052911-02 CONTAINER
2 03045426-02 INTERSECTION
3 03052929-02 CONTAINER TOP PART COMPL.
4 03047787-02 CONTAINER TOP PART WELDED
5 00334073-01 MUSHROOM PUSHBUTTON 3SB3
RED 40MM
SPARE PART
6 00332543-01 ELASTIC THRUST PIECE LATERAL
D=12
SPARE PART
7 03009289-01 FIXING PLATE
8 00304188-01 MOUNTING FOOT 22*4,3*14 STANDARD PARTS
9 00349458-01 ON-OFF PUSHBUTTON 3SB3
WT(I)/BL(0)
SPARE PART
10 00334095-01 PUSH BUTTON 3SB3 BK 26X6MM SPARE PART
11 03003393-01 SUPPORTING RAIL
12 03020994-01 PROTECTION X-HS R2 AZ16 SWITCH
MOUNT
13 03022293-01 SAFETY SWITCH AZ-16-02ZVRK-
M16
14 03003425-02 FILTER UNIT SPARE PART
15 03006574-01 FELT FILTER RFF-92-10
16 03020985-02 PROTECTION X-HS R2 SCHMERSAL
SWITCH ANGLE
17 00201148S01 SEALING RING M5 PVC HARD WEAR PART
18 03021221-01 THREAD PLATE SWITCH MOUNT
19 03003501-02 ADAPTER FOR HEXAGON SHAFT
PCB TRANSPORT
20 03055050-01 SUPPORT BRACKET RUCKSACK R2 X-
SERIES
21 03042504-02 LOWER PART
22 03022013-02 PROTECTION X-SERIES DOOR EMC-
TIGHT
03022327-03 OPERATOR CONTROL
INPUT/OUTPUT SIDE X-SERIES
24 03020409-02 HOOD SWITCH F. SIPLACE X-SERIES SPARE PART
03020410-01 CONTROL, START/STOP/HOOD X-
SERIES
SPARE PART
26 03020687-01 CONTROL,
START/STOP/EMERGENCY STOP, X-
S.
SPARE PART
Powered by TCPDF (www.tcpdf.org)