RX-6_RX-6B_RX-6R-Rev10 - 第107页
- 102 - NOTE( 注記 ) #01....TYPE MOUNTED ON THE BASE FRAME. ベースフレーム取付タイプ #02....TYPE MOUNTED ON THE FEEDER BANK. フィーダバンク取付タイプ REF.NO NOTE PART NO D E S C R I P T I O N 品 名 Qty 1 #01 400-45523 FLUXER CYL UNIT PL ASM フラクサシリン…

- 101 -
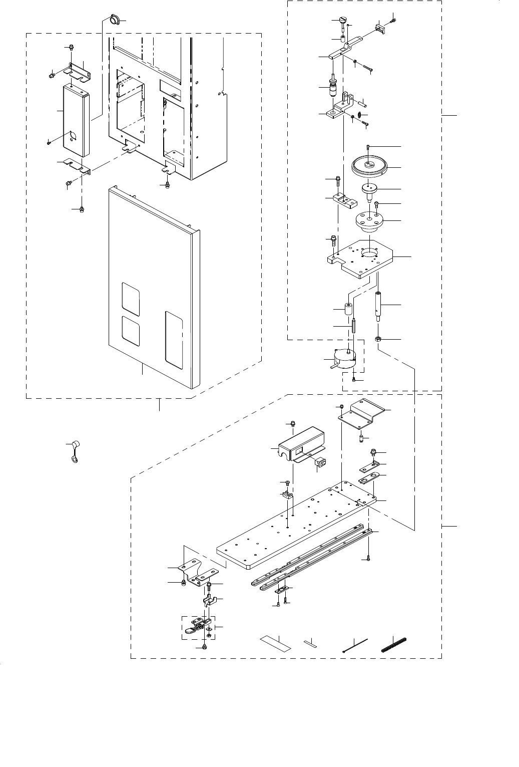
51.FLUXER SUPPLY DEVICE COMPONENTS
フラクサ供給装置関係
31
10
24
20
11
9
25
3
4
6
5
22
24
19
19
8
18
12
7
16
17
19
14
15
18
1
2
13
21
23
32
41 42
33
53
63
34
36
49
70
69
68
34
35
39
50
64
65
56
55
54
51
52
67
66
62
61
60
59
57
58
4645
4443
48
47
40
37
27
28
28
26
26
29
29
29
29
38
30
71

- 102 -
NOTE( 注記 ) #01....TYPE MOUNTED ON THE BASE FRAME. ベースフレーム取付タイプ
#02....TYPE MOUNTED ON THE FEEDER BANK. フィーダバンク取付タイプ
REF.NO NOTE PART NO D E S C R I P T I O N
品 名
Qty
1
#01
400-45523 FLUXER CYL UNIT PL ASM
フラクサシリンダユニットPL組
1
2
#02
400-99143 FLUXER CYL BANK UNIT PL ASM
フラクサシリンダバンクユニットPL組
1
3
#01
400-42180 FLUXER CYLINDER UNIT ASM
フラクサシリンダユニット組
(1)
4
#02
400-97610 FLUXER CYLINDER BANK UNIT ASM
フラクサシリンダバンクユニット組
(1)
5 EA-9500B02-00 CABLE BAND
束線バンド
(1)
6 400-44050 FLUXER CYL UNIT
フラクサシリンダユニット
(1)
7 400-44094 FLUX CONTAINER COVER
フラクサコンテナーカバー
(1)
8 400-44093 FLUX CONTAINER
フラクサコンテナー
(1)
9 400-50208 SLIDING PLATE ASM
スライドプレート組
(1)
10 400-50212 LINEAR SLIDE
リニアスライド
(1)
11 400-50262 BASE PLATE ASM
ベースプレート組
(1)
12 400-50209 RIGHT LEVER HOLDER ASM
右レバーホルダ組
(1)
13 400-50550 TERMINAL STRIP
ターミナルストリップ
(1)
14 400-50215 CYL. SCREW M3-8
シリンダスクリュー M3−8
(2)
15 400-50217 LENS SCREW M3-6 BN1593
レンズスクリュー M3−6 BN1593
(2)
16 400-50211 SOLENOID VALVE
ソレノイドバルブ
(1)
17 400-50551 SV CABLE ASM
SVケーブル組
(1)
18 400-50214 CYL. SCREW M3-6
シリンダスクリュー M3−6
(8)
19 400-50216 SUNK SCREW M4-12 BN21
SUNKスクリュー M4−12 BN21
(6)
20 400-50549 REED SWITCH
リードスイッチ
(2)
21 400-50210 LEFT LEVER HOLDER ASM
左レバーホルダ組
(1)
22 EA-9500B01-00 CABLE BAND
束線バンド
(1)
23 400-66695 FLUX SCRAPER
フラックススクレーパ
(1)
24 400-50485 RUBBER CAP
ゴムキャップ
(2)
25
#01
401-32940 FULUXER_BASE_RX6
フラクサ取付板組_RX6
1
26
#01
401-32942 FLUXER_FRAME
フラクサフレーム
(2)
27
#01
SM-6062002-TP SCREW M6 L=20
六角穴ボルト M6 L=20
(3)
28
#01
SM-3061652-TN SCREW M6 L=16
丸ねじ M6 L=16
(6)
29
#01
SM-6041202-TN SCREW M4X0.7 L=12
六角穴ボルト M4X0.7 L=12
(8)
30
#01
401-32941 FLUXER_BASE
フラクサベース
(1)
31 SL-6042092-TN SCREW M4 L=20
座金付き六角穴ボルト M4 L=20
(4)
32
#01
SL-6062092-TN SCREW M6 L=20
座金付き六角穴ボルト M6 L=20
3
33 SL-6041492-TN SCREW M4 L=14
座金付き六角穴ボルト M4 L=12
4
34 HX-0029400-00 FIXED BASE
固定ベース
2
35 SM-4040601-SC SCREW M4X0.7 L=6
なべ小ねじ M4X0.7 L=6
1
36 SM-4030601-SC SCREW M3X0.5 L=6
なべ小ねじ M3X0.5 L=6
1
37 400-44165 JIG PLAT ASM
軸プレート組
1
38
#02
HX-0024500-00 CABLE CLAMP
ケーブルクランプ
4
39
#02
SM-4040601-SC SCREW M4X0.7 L=6
なべ小ねじ M4X0.7 L=6
4
40 PJ-3010400-04 REDUCER
レジューサ
1
41
#01
PJ-3080600-03 UNION Y
ユニオン ワイ
1
42
#01
BT-0600400-EC URETHANE TUBE BLUE 6X4
ポリウレタン チューブ 青 6X4
0.5
43
#02
PJ-0320090-05 NIPPLE
エアカプラニップル
1
44
#02
PJ-3030600-01 STRAIGHT UNION
ストレートユニオン 6
1
45
#02
BT-0600400-EC URETHANE TUBE BLUE 6X4
ポリウレタン チューブ 青 6X4
2
46 BT-0400251-EA URETHANE TUBE BLUE 4X2.5
ポリウレタン チューブ 青 4X2.5
2
47 EA-9500B01-00 CABLE BAND
束線バンド
8
48 EA-9500B02-00 CABLE BAND
束線バンド
10
49 PJ-3050600-04 TEE
チーズ
1
50
#02
400-94943 FLUXER BASE ASM E
フラクサベース組電動
1
51
#02
400-93956 FLUXER STUD E
フラクサースタッドE
(4)
52
#02
400-93958 NUT M8 P1
M8ナットP1
(4)
53
#02
SL-6041642-TN SCREW M4 L=16
座金付き六角穴ボルト M4 L=16
(1)
54
#02
400-94487 ST CLAMP BR E
STクランプブラケットE
(1)
55
#02
SL-6040892-TN SCREW M4 L=8
座金付き六角穴ボルト M4 L=8
(4)
56
#02
E1214-726-000 ST CLAMP
スタッカクランプ
(1)
57
#02
400-93955 FLUXER BASE E
フラクサーベースE
(1)
58
#02
400-93957 X STOPPER BR
Xストッパーブラケット
(1)
59
#02
PH-0400062-C0 PARALLEL PIN TYPEB 4X6
平行ピン B種 4X6
(1)
60
#02
SL-6030592-TN SCREW M3 L=5
座金付き六角穴ボルト M3 L=5
(2)
61
#02
400-77518 SLIDE RAIL
スライドレール
(2)
62
#02
SM-3031052-TN SCREW M3 L=10
丸ねじ M3 L=10
(14)
63
#02
ST-1030651-SN TAPPING SCREW D=3 L=6
タッピンねじ D=3 L=6
(2)
64
#02
E1109-723-000 LOCK HOLDER
ロックホルダー
(1)
65
#02
SL-4040881-SC SCREW M4 L=8
座金付きなべ小ねじ M4 L=8
(4)
66
#02
400-78576 RAIL CAP
レールキャップ
(2)
67
#02
SM-1031201-SC SCREW M3X0.5 L=12
皿小ねじ M3X0.5 L=12
(2)
68
#02
400-77519 PLUNGER PLATE
プランジャープレート
(2)
69
#02
400-77520 Y STOPPER PLATE
ワイストッパープレート
(2)
70
#02
SL-6051092-TN SCREW M5 L=10
座金付き六角穴ボルト M5 L=10
(4)
71 400-80833 SPONGE
スポンジ
1

- 103 -
52.ROTARY TRANSFER DEVICE
ロータリー型転写装置
2
66
1
39
44
63
54
53
52
50
51
49
48
47
43
46
41
45
42
16
62
60
61
64
65
56
57
55
58
59
17
10
40
13
14
20
21
22
23
24
25
12
26
37
36
27
36
35
38
28
34
30
31
32
33
29
11
19
15
18
3
9
7
6
6
5
4
8
8
8
8