RX-6_RX-6B_RX-6R-Rev10 - 第131页
- 126 - NOTE( 注記 ) #01....FOR REAR SI DE 奥側用 REF.NO NOTE PART NO D E S C R I P T I O N 品 名 Qty 1 EZ-1458644-11 READER BAR CODE バ−コ−ドリ−ダ(GD 4430−BK) 2 2 401-73414 BARCODE_READER_BR バーコードリーダブラケ ット 2 3 401-73415 BARCODE_REA…

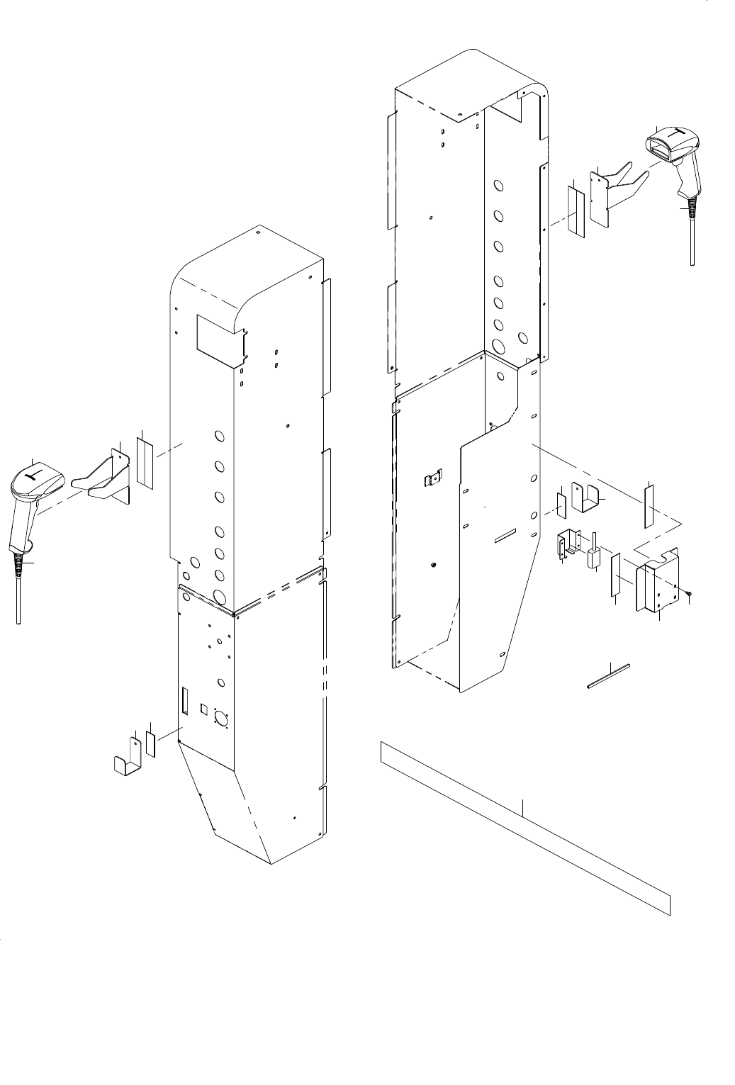
- 125 -
63.ISM/MES COOPERATION COMPONENTS
ISM / MES 連携関係
1
2
3
2
1
3
5
5
5
5
5
5
7
10
9
11
8
4
4
6

- 126 -
NOTE( 注記 ) #01....FOR REAR SIDE 奥側用
REF.NO NOTE PART NO D E S C R I P T I O N
品 名
Qty
1 EZ-1458644-11 READER BAR CODE
バ−コ−ドリ−ダ(GD4430−BK)
2
2 401-73414 BARCODE_READER_BR
バーコードリーダブラケット
2
3 401-73415 BARCODE_READER_HOOK
バーコードリーダフック
2
4 401-73482 USB BARCORD READER CABLE(4M)
USBバーコードリーダーケーブル(4M)
2
5 401-58914 BRB_MAGNET
BRBマグネット
2
6 400-97737 ETF_POSITION_BARCODE_SEAL
ETFポジションバーコードシール
2
7
#01
401-73416 USB_BR_A
USBブラケットA
1
8
#01
401-73417 USB_BR_B
USBブラケットB
1
9
#01
401-73481 USB REPEATER CABLE
USBリピーターケーブル
1
10
#01
SL-4030891-SC SCREW M3 L=8
座金付きなべ小ねじ M3 L=8
4
11
#01
HX-0066900-00 GROMMET
グロメット
0.05

- 127 -
64.E REPLACING OVERALL CHANGER TRUCK RF COMPONENTS(1)
電動一括交換台車 RF 関係(1)
41
43
42
45
71
27
29
2
11
14
13
12
8
9
7
6
5
4
10
15
17
8
9
7
C
80
40
96
95
3
16
26
18
25
24
24
24
24
19
20 23
44
74
75
76
91
77
77
78
78
78
81
82
83
84
85
86
87
88
79
73
72
28
B
92
92
30
30
31
31
32
32
B
33
34
35
36
38
37
93
39
39
94
93
94
93
94
93
94
94
93
94
93
93
94
93
94
93
94
A
A
1
C
89
90
D
E
D
E