KE-3010A_KE-3020VA_KE-3020VRA-Rev15PDFA - 第134页
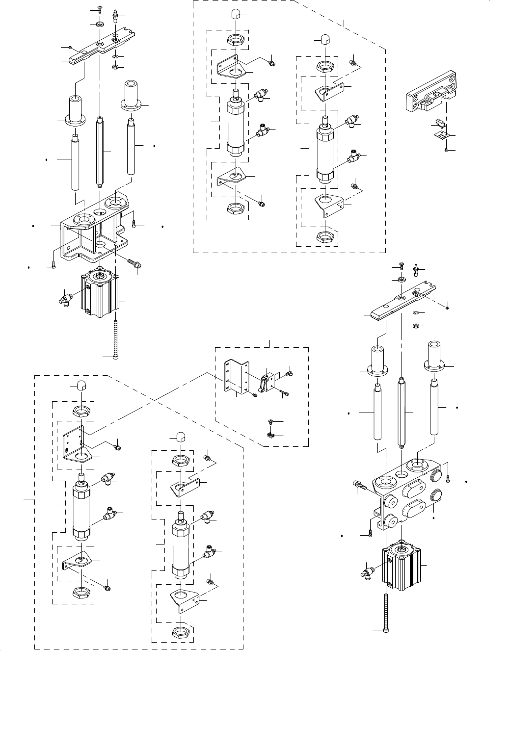
- 127 - 64. BANK LIFTER UNIT COMPONENTS バンクリフタユニット関係 5 5 12 9 28 43 20 19 42 8 23 8 23 41 41 21 21 22 23 22 23 33 32 31 6 7 6 7 6 7 6 7 17 18 16 15 14 13 30 29 11 10 4 24 25 27 3 40 35 36 36 37 37 38 39 39 1 2 26 38 37 3…

- 126 -
NOTE( 注記 ) #01....FOR 3010ACL 3010 ACL 用
REF.NO NOTE PART NO D E S C R I P T I O N
品 名
Qty
1 E2501-729-AA0-D FEEDER BANK ASM.
フィーダバンク組
1
2 E2501-729-0B0 FEEDER BANK (30) COMPL.
フィ−ダバンク結合
(1)
3 E2502-729-000 PLATE STAND L
プレートスタンドL
(1)
4 E2503-729-000 PLATE STAND R
プレートスタンドR
(1)
5 E2515-729-000 FIXING PLATE (30)
フィクシングプレート
(1)
6 E2516-729-000 NUMBER PLATE
ナンバプレート
(1)
7 E2505-729-0A0 MARK ASM.
マーク組
(2)
8 E2601-725-000 MARK
マーク
(1)
9 E2505-729-000 MARK BASE
マークベース
(1)
10 E2504-729-000-A LOCK SHAFT (30)
ロックシャフト
(1)
11 E2513-729-000-A FIXING PLATE B (30)
フィクシングプレートB
(4)
12 E2608-721-000 PLATE SUPPORT
プレートサポート
(4)
13 E2609-721-000 BANK LOCATE PIN A
バンクロケートピンA
(1)
14 E2610-721-000 BANK LOCATE PIN B
バンクロケートピンB
(1)
15 400-98252 POSITION LABEL
ポジションラベル
(1)
16 SM-8041402-TP SCREW M4X0.7 L=14
止めねじ M4X0.7 L=14
(4)
17 SM-6040802-TN SCREW M4X0.7 L=8
六角穴ボルト M4X0.7 L=8
(17)
18 SL-6031292-TN SCREW M3 L=12
座金付き六角穴ボルト M3 L=12
(12)
19 SL-6041292-TN SCREW M4 L=12
座金付き六角穴ボルト M4 L=12
(5)
20 SL-6041692-TN SCREW M4 L=16
座金付き六角穴ボルト M4 L=16
(8)
21 SL-6041292-TN SCREW M4 L=12
座金付き六角穴ボルト M4 L=12
(4)
22 SL-6052092-TN SCREW M5 L=20
座金付き六角穴ボルト M5 L=20
(4)
23 SM-4040655-SN SCREW M4X0.7 L=6
なべ小ねじ M4 L=6
(8)
24 SM-6030552-KS SCREW
平ねじ M3 L=5
(5)
25 NM-6080003-SC NUT M8X1.25 TYPE3
六角ナット M8X1.25 3種
(2)
26 WP-0841601-SC WASHER M8
平座金みがき丸 M8
(2)
27 WS-0820002-KN SPRING WASHER M8
ばね座金 M8
(2)
28 401-47428 HOD_COVER
HODカバー
2
29 SM-6062002-TN SCREW M6 L=20
六角穴ボルト M6 L=20
2
30 WS-0610002-KN SPRING WASHER M6
ばね座金 M6
2
31 NM-6060003-SC NUT M6
六角ナット M6
2
32 SL-4030691-SC SCREW M3 L=6
座金付きなべ小ねじ M3 L=6
4
33 401-47411 BANK_SUPPORT_UNIT
バンクサポート組
1
34 401-09098 BANK SUP A
バンクサポートA
(2)
35 SL-6104042-TN SCREW M10 L=40
座金付き六角穴ボルト M10 L=40
(16)
36 SL-6104042-TN SCREW M10 L=40
座金付き六角穴ボルト M10 L=40
(8)
37 WP-1052001-SC WASHER 10
平座金みがき丸 M10
(8)
38 401-47412 BANK_SUP_B_L_ASM
バンクサポートB_L組
(2)
39 401-47413 BANK_SUP_B_L
バンクサポートB_L
(1)
40 E2623-721-000 BANK LOCATE BUSH B
バンクロケートブッシュB
(1)
41 401-47415 BANK_SUP_B_R_ASM
バンクサポートB_R組
(2)
42 401-47416 BANK_SUP_B_R
バンクサポートB_R
(1)
43 E2623-721-000 BANK LOCATE BUSH B
バンクロケートブッシュB
(1)
44 401-47198 M_CONNECTOR_PLATE_R
MコネクタプレートR
2
45 400-93831 DRIVE CYLINDER UNIT
ドライブシリンダユニット
1
46 SM-4861001-SC SCREW M2.6 L=10
なべ小ねじ M2.6 L=10
(4)
47 400-00575 DRIVE CYLINDER L
ドライブシリンダL
(1)
48 400-00576 DRIVE CYLINDER R
ドライブシリンダR
(1)
49 400-93843 DRIVER_SUPPORT
ドライバサポート
(1)
50 SL-6052092-TN SCREW M5 L=20
座金付き六角穴ボルト M5 L=20
(6)
51 SL-6051292-TN SCREW M5 L=12
座金付き六角穴ボルト M5 L=12
(2)
52 400-23687 DRIVE CYLINDER CABLE
ドライブシリンダーケーブル
(2)
53 PV-1303050-00 3-PORT SOLENOID VALVE
3ポート電磁弁
(80)
54 400-23687 DRIVE CYLINDER CABLE
ドライブシリンダーケーブル
(4)
55 E2634-721-0A0 DRIVER BRACKET SUPPORT A ASM.
ドライバブラケットサポ−トA組
2
56 E2634-721-000 DRIVER BRACKET SUPPORT A
ドライバブラケットサポートA
(2)
57 SL-6052092-TN SCREW M5 L=20
座金付き六角穴ボルト M5 L=20
(4)
58 SL-6053592-TN SCREW M5 L=35
座金付き六角穴ボルト M5 L=35
(4)
59 SL-4030691-SC SCREW M3 L=6
座金付きなべ小ねじ M3 L=6
4
60 400-93799 HOLE PLUGS HP18
ホールプラグ HP18
2
61 E2904-700-000 SOCKET
ソケット
1
62 PJ-3010651-06 FEMALE UNION
メスユニオン
1
63
#01
401-60009 CONNECTOR_COVER_ME
コネクタカバーME
1
64 400-93799 HOLE PLUGS HP18
ホールプラグ HP18
2
65 E2904-700-000 SOCKET
ソケット
1
66 401-60009 CONNECTOR_COVER_ME
コネクタカバーME
2
67 400-81751 B_COVER_SCREW
Bカバースクリュウ
8
68 PJ-3010651-06 KNIFE UNION
メスユニオン
1
69
#01
400-81751 B_COVER_SCREW
Bカバースクリュウ
4
70
#01
SL-4030891-SC SCREW M3 L=8
座金付きなべ小ねじ M3 L=8
2
71
#01
400-93799 HOLE_PLUGS_HP18
ホールプラグ HP18
2
72
#01
401-47428 HOD_COVER
HODカバー
1
73
#01
401-47198 M_CONNECTOR_PLATE_R
MコネクタプレートR
1
74
#01
SL-4030691-SC SCREW M3 L=6
座金付きなべ小ねじ M3 L=6
2

- 127 -
64.BANK LIFTER UNIT COMPONENTS
バンクリフタユニット関係
5
5
12
9
28
43
20
19
42
8
23
8 23
41
41
21
21
22
23
22
23
33
32
31
6
7
6
7
6
7
6
7
17
18
16
15
14
13
30
29
11
10
4
24
25
27
3
40
35
36
36
37
37
38
39
39
1 2
26
38
37
37
36
36
35
39
39
50
50
45
46
46
47
47
49
44
50
50
49
47
48
46
46
45
51
52
53
54
55
56
57
58
34

- 128 -
NOTE( 注記 ) #01....TYPE E LIFTER 電動リフタ仕様
#02....ME BANK COMMON USE SPECIFICATION メカ電動バンク共用仕様
REF.NO NOTE PART NO D E S C R I P T I O N
品 名
Qty
1 401-47449 B_LIF_FRAME_R
バンクリフタフレームR
1
2
#02
401-10119 B_LIF_FRAME_R
バンクリフタフレームR
1
3 PC-0152030-00 SPEED CONTROLLER
スピードコントローラ
2
4 400-93854 CYLINDER SCREW M8 L=125
シリンダねじ M8 L=125
4
5 SL-6083092-TN SCREW M8 L=30
座金付き六角穴ボルト M8 L=30
8
6 401-47453 LIFTER_SHAFT
リフタシャフト
4
7
#02
400-93838 LIFTER_SHAFT
リフタシャフト
4
8 SM-6051602-TN SCREW
六角穴ボルト
8
9 401-10295 LIF CYL SHAFT
リフタシリンダシャフト
1
10 E2622-729-000 LIFTER THRUST COLLAR
リフタスラストカラー
1
11 SM-1062052-TP SCREW M6 L=20
六角穴ボルト M6 L=20
1
12 401-47452 BANK_LIFTER_R
バンクリフタR
1
13 400-93840 BANK LOCATE PIN C2
バンクロケートピンC2
1
14 NM-6080003-SC NUT M8X1.25 TYPE3
六角ナット M8X1.25 3種
1
15 WS-0820002-KN SPRING WASHER M8
ばね座金 M8
1
16 SM-8060552-TP SCREW M6 L=5
止めねじ
2
17 401-47448 B_LIF_FRAME_L
バンクリフタフレームL
1
18
#02
401-10117 B_LIF_FRAME_L
バンクリフタフレームL
1
19 PC-0152030-00 SPEED CONTROLLER
スピードコントローラ
2
20 400-93854 CYLINDER SCREW M8 L=125
シリンダねじ M8 L=125
4
21 SB-8200003-00 BEARING
転がり軸受
2
22 SM-6051602-TN SCREW
六角穴ボルト
8
23
#02
SM-6051002-TN SCREW
六角穴ボルト
16
24 E2622-729-000 LIFTER THRUST COLLAR
リフタスラストカラー
1
25 SM-1062052-TP SCREW M6 L=20
六角穴ボルト M6 L=20
1
26 401-47451 BANK_LIFTER_L
バンクリフタL
1
27 SM-8060552-TP SCREW M6 L=5
止めねじ
2
28 400-93839 BANK LOCATE PIN B2
バンクロケートピンB2
1
29 NM-6080003-SC NUT M8X1.25 TYPE3
六角ナット M8X1.25 3種
1
30 WS-0820002-KN SPRING WASHER M8
ばね座金 M8
1
31 400-93849 SENSOR PLATE
センサプレート
1
32 SM-3040652-TN SCREW M4 L=6
丸ねじ M4 L=6
2
33 400-92511 SWITCH D3DC-3
スイッチD3DC−3
1
34
#01
401-47455 E_BANK_SUPPORT_UNIT
Eバンクサポート組
1
35 400-94347 CYLINDER CM2B40-75
シリンダ CM2B40−75
(2)
36 PC-0152030-00 SPEED CONTROLLER
スピードコントローラ
(4)
37 401-47479 CYLINDER_BR
シリンダブラケット
(4)
38 400-93842 LIFTER_SHAFT_HEAD
リフタシャフトヘッド
(2)
39 SL-6061292-TN SCREW M6 L=12
座金付き六角穴ボルト M6 L=12
(8)
40 PA-6307503-00 AIR CYLINDER
エアシリンダ
1
41 SB-8200003-00 BEARING
転がり軸受
2
42 PA-6307503-00 AIR CYLINDER
エアシリンダ
1
43 401-10295 LIF CYL SHAFT
リフタシリンダシャフト
1
44
#02
401-60005 E BANK SUPPORT UNIT
E バンクサポートユニット
1
45 400-94347 CYLINDER CM2B40-75
シリンダ CM2B40−75
(2)
46 PC-0152030-00 SPEED CONTROLLER
スピードコントローラ
(4)
47 401-47479 CYLINDER_BR
シリンダブラケット
(3)
48 401-11180 CYLINDER_BR_U
シリンダブラケット_U
(1)
49 400-93842 LIFTER_SHAFT_HEAD
リフタシャフトヘッド
(2)
50 SL-6061292-TN SCREW M6 L=12
座金付き六角穴ボルト M6 L=12
(8)
51
#02
401-14146 BANK_VALVE_ME_ASM
バンクバルブME組
1
52 401-11181 BANK_VALVE_BR_B
バンクバルブブラケットB
(1)
53 SL-6040892-TN SCREW M4 L=8
座金付き六角穴ボルト M4 L=8
(2)
54 PV-0105051-00 MECHANICAL VALVE
メカニカル バルブ
(1)
55 PJ-3040405-05 ELBOW
エルボユニオン
(2)
56 SL-6042592-TN SCREW M4 L=25
座金付き六角穴ボルト M4 L=25
(2)
57 HX-0029400-00 FIXED BASE
固定ベース
(1)
58 SM-4040801-SC SCREW M4X0.7 L=8
なべ小ねじ M4X0.7 L=8
(1)