HS-50part list(注釋) - 第163页
Teilekatalog (Parts Catalog) Bebilderte Teileliste (Illustrated Parts) Bildtafel (Figure) 16 A usgabe (Edition) 11-03 Stamm Nr. Master Code Bezeichnung / Designation Stck. Qty. Pos.-Nr. Pos. No. Seiten-Nr. Page No. A rti…

Teilekatalog (Parts Catalog) Bebilderte Teileliste (Illustrated Parts)
Bildtafel (Figure) 16
Ausgabe (Edition) 11-03
Schutzhalterung und Haupstöranzeige
Protection mount and main error display
16 4 -

Teilekatalog (Parts Catalog) Bebilderte Teileliste (Illustrated Parts)
Bildtafel (Figure) 16
A
usgabe (Edition) 11-03
Stamm Nr.
Master Code
Bezeichnung / Designation
Stck.
Qty.
Pos.-Nr.
Pos. No.
Seiten-Nr.
Page No.
A
rtikel-Nr.
Item No.
FS
FS
S
chutzhalterung und Haupstöranzeige / Protection mount and main error displa
y
Order
1
00329802-01
4
16-1
HALTERUNG F. SCHUTZ
MOUNT FOR PROTECTION
2
00329767-01
4
16-3
HAUBENHALTERUNG
MOUNT FOR HOOD
3
00329780-01
8
16-3
HALTEWINKEL
RETAINING ANGLE
4
00334345-01
8
16-3
SCHARNIER GD ZN
HINGE
6
00322654-01
16
16-3
SENKSCHRAUBE M5*14 DIN7991
SLOTTED COUNTERSUNK HEAD SCREW
7
00334402-01
16
16-3
SENKSCHRAUBE M5*30 DIN7991
SLOTTED COUNTERSUNK HEAD SCREW
8
00095473-01
16
16-3
SCHEIBE 5,3 DIN125-A
WASHER
9
00319176-01
16
16-3
SICHERUNGSMUTTER M5 DIN985
LOCK NUT M5
10
00335914-01
8
16-3
SCHUTZ S50 PLATTE
PROTECTION PLATE S50
11
00337386-02
1
16-1
S50 LEUCHTE KPL.
S50 LAMP COMPLETE
12
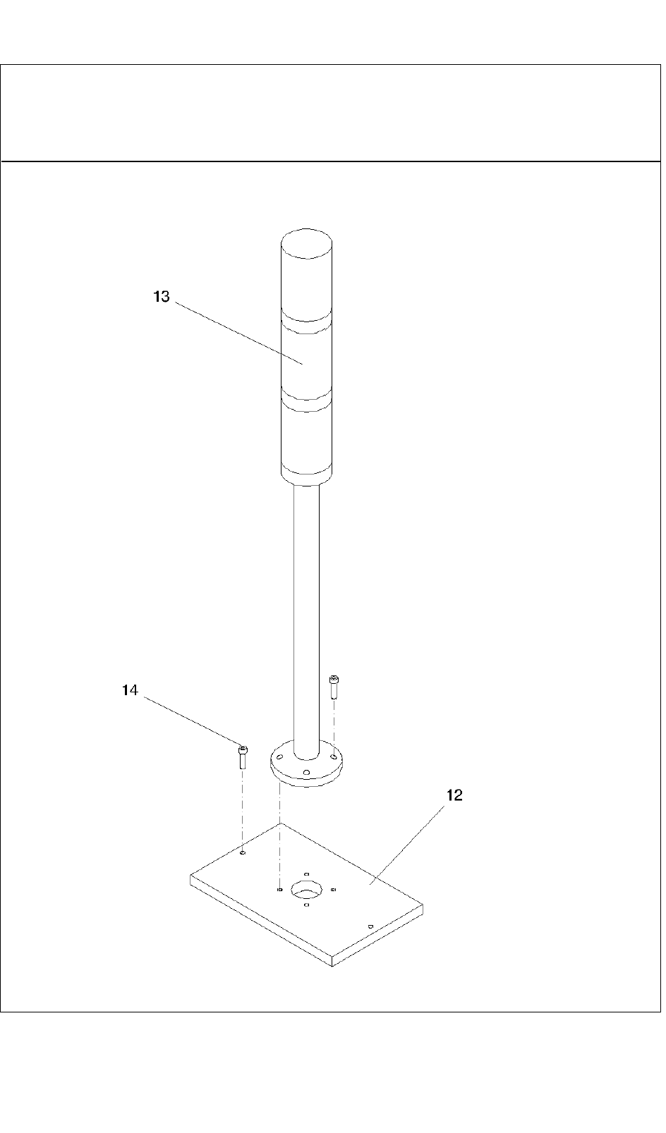
00336843-01
1
16-4
S50 LEUCHTENHALTERUNG
S50 LAMP MOUNT
13
00335287-02
1
16-4
HAUPTSTOERANZEIGE HS50
MAIN ERROR DISPLAY HS50
14
00845045-01
6
16-4
DIN912-M5 X 20-8.8 ZYLINDERSCHRAUBE
DIN912-M5 X 20-8.8 HEXAGON SOCKET HEAD CAP SCREW
15
00334359-01
8
16-1
EGASDRUCKFEDER
PNEUMATIC SPRING
16
00346716-01
8
16-2
EGASDRUCKFEDER
PNEUMATIC SPRING
16 5 -

Teilekatalog (Parts Catalog) Bebilderte Teileliste (Illustrated Parts)
Bildtafel (Figure) 16
Ausgabe (Edition) 11-03
Stamm Nr.
Master Code
Bezeichnung / Designation
Stck.
Qty.
Pos.-Nr.
Pos. No.
Seiten-Nr.
Page No.
A
rtikel-Nr.
Item No.
FS
FS
S
chutzhalterung und Haupstöranzeige / Protection mount and main error displa
y
Order
16 6 -