HS-50part list(注釋) - 第188页
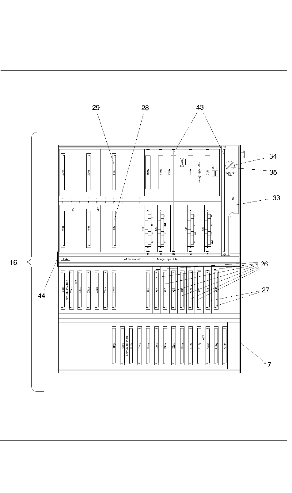
Teilekatalog (Parts Catalog) Bebilderte Teileliste (Illustrated Parts) Bildtafel (Figure) 21 Ausgabe (Edition) 11-03 Steuereinschub Control unit 21 2 -

Teilekatalog (Parts Catalog) Bebilderte Teileliste (Illustrated Parts)
Bildtafel (Figure) 21
A
usgabe (Edition) 11-03
Steuereinschub
Control unit
21 1 -

Teilekatalog (Parts Catalog) Bebilderte Teileliste (Illustrated Parts)
Bildtafel (Figure) 21
Ausgabe (Edition) 11-03
Steuereinschub
Control unit
21 2 -

Teilekatalog (Parts Catalog) Bebilderte Teileliste (Illustrated Parts)
Bildtafel (Figure) 21
A
usgabe (Edition) 11-03
Steuereinschub
Control unit
21 3 -