HS-50part list(注釋) - 第192页
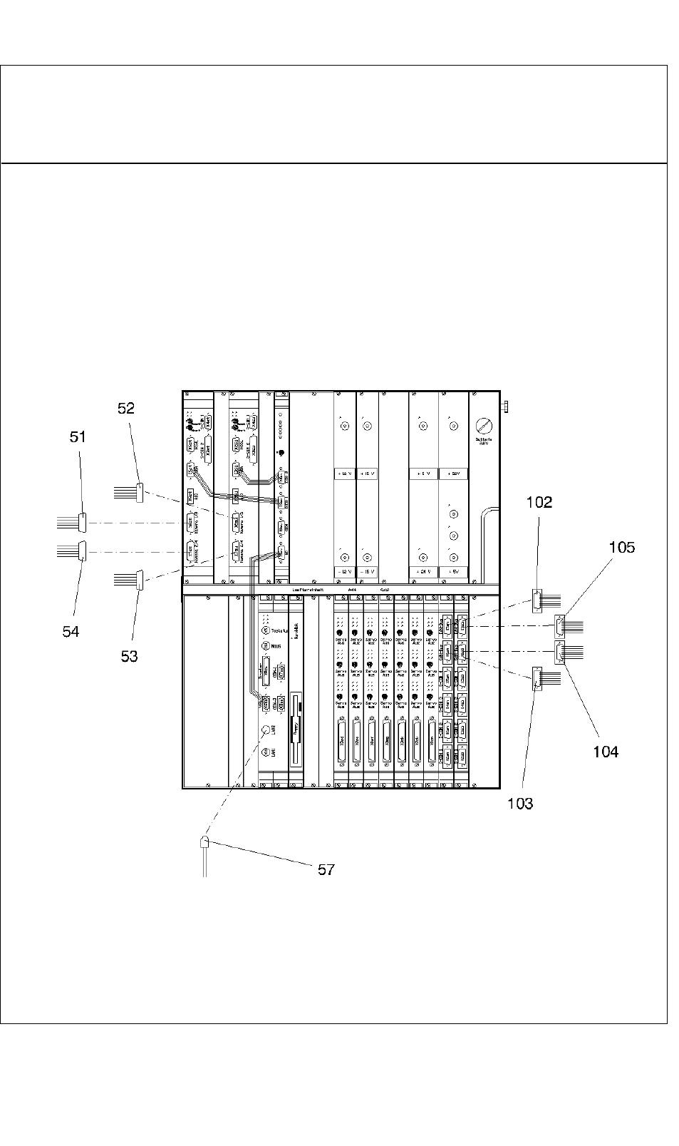
Teilekatalog (Parts Catalog) Bebilderte Teileliste (Illustrated Parts) Bildtafel (Figure) 21 Ausgabe (Edition) 11-03 Steuereinschub Control unit 21 6 -

Teilekatalog (Parts Catalog) Bebilderte Teileliste (Illustrated Parts)
Bildtafel (Figure) 21
A
usgabe (Edition) 11-03
Steuereinschub
Control unit
21 5 -

Teilekatalog (Parts Catalog) Bebilderte Teileliste (Illustrated Parts)
Bildtafel (Figure) 21
Ausgabe (Edition) 11-03
Steuereinschub
Control unit
21 6 -

Teilekatalog (Parts Catalog) Bebilderte Teileliste (Illustrated Parts)
Bildtafel (Figure) 21
A
usgabe (Edition) 11-03
Steuereinschub
Control unit
21 7 -