HS-50part list(注釋) - 第216页
Teilekatalog (Parts Catalog) Bebilderte Teileliste (Illustrated Parts) Bildtafel (Figure) 23 Ausgabe (Edition) 11-03 BE-Wechseltisch Components changeover table 23 6 -

Teilekatalog (Parts Catalog) Bebilderte Teileliste (Illustrated Parts)
Bildtafel (Figure) 23
A
usgabe (Edition) 11-03
BE-Wechseltisch
Components changeover table
23 5 -

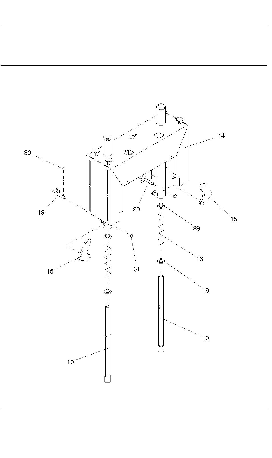
Teilekatalog (Parts Catalog) Bebilderte Teileliste (Illustrated Parts)
Bildtafel (Figure) 23
Ausgabe (Edition) 11-03
BE-Wechseltisch
Components changeover table
23 6 -

Teilekatalog (Parts Catalog) Bebilderte Teileliste (Illustrated Parts)
Bildtafel (Figure) 23
A
usgabe (Edition) 11-03
BE-Wechseltisch
Components changeover table
23 7 -